Front Side Door Trim Panel Replacement Pontiac
Removal Procedure
Tools Required
J 38778 Door Trim
Pad and Garnish Clip Remover.
- Remove the switch plate. Refer to
Door Lock and Side Window Switch Replacement
.
- Remove the courtesy lamp.
Refer to
Door Lamp Replacement
.
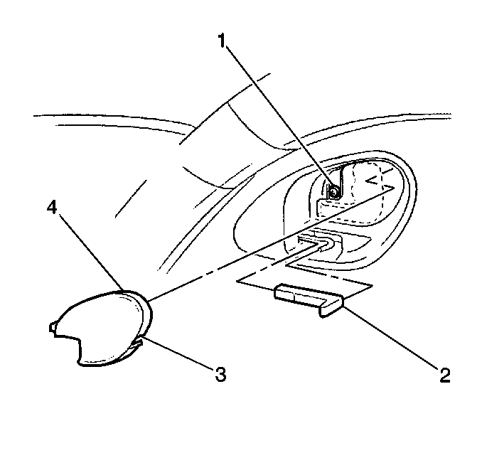
- Remove the lock rod knob.
Pull the knob straight out from the lock rod (2).
- Gently pry in the notch of the handle cup in order to remove.
- Remove the handle cup from the handle bezel.
- Remove the fastener (1) from the handle bezel.
- Gently pry the rear edge of the handle bezel from the door trim
panel in order to remove the handle bezel from the door trim panel.
- Remove the armrest applique.
Insert a small, thin-bladed tool at the front of the applique in order
to release the retaining clip.
- Disconnect the electrical connectors.
- Remove the fasteners through
the courtesy lamp opening.
- Remove the fastener at the top of the armrest handle.
- Remove the trim panel from the door. Insert the J 38778
.
- Disconnect the speaker connectors, as necessary.
- Disconnect the rear compartment lid release connector, as necessary.
- Remove the door trim panel.
Installation Procedure
- Connect the rear compartment
lid release connector, as necessary.
- Connect the speaker connectors, as necessary.
- Align the trim panel fasteners and the inner sealing strip.
- Install the trim panel to the door.
Push on the outer edges of the trim panel.
Notice: Use the correct fastener in the correct location. Replacement fasteners
must be the correct part number for that application. Fasteners requiring
replacement or fasteners requiring the use of thread locking compound or sealant
are identified in the service procedure. Do not use paints, lubricants, or
corrosion inhibitors on fasteners or fastener joint surfaces unless specified.
These coatings affect fastener torque and joint clamping force and may damage
the fastener. Use the correct tightening sequence and specifications when
installing fasteners in order to avoid damage to parts and systems.
- Install the fastener
at the top of the armrest.
Tighten
Tighten the fastener to 1.8 N·m (16 lb in).
- Install the fasteners through the opening of the courtesy lamp.
Tighten
Tighten the fastener to 1.8 N·m (16 lb in).
- Connect the electrical
connectors.
- Install the armrest applique.
- Install the inside handle bezel.
- Install the fastener that fastens the inside handle bezel.
Tighten
Tighten the fastener to 1.8 N·m (16 lb in).
- Install the inside handle cup.
- Install the lock rod knob (2).
- Install the courtesy lamp.
Refer to
Door Lamp Replacement
.
- Install the switch plate. Refer to
Door Lock and Side Window Switch Replacement
.
Front Side Door Trim Panel Replacement Buick
Removal Procedure
Tools Required
J 38778 Door Trim
Pad and Garnish Clip Remover.
- Remove the arm rest bezel switch plate. Refer to
Front Side Door Window Switch Replacement
.Use a small, flat-bladed
tool.
- Release the retaining tab on the courtesy lamp.
- Remove the courtesy lamp. Refer to
Door Lamp Replacement
.
- Disconnect the electrical connector.
- Remove the retaining fastener
from the rear of the trim panel.
- Remove the door lock switch bezel. Refer to
Door Lock Switch Replacement
.
- Release the trim panel retainers. Insert the J 38778
- Lift upward the trim panel.
- Disconnect the wiring harness from the trim panel.
- Disconnect the speaker connector, as necessary.
Installation Procedure
- Connect the speaker connector, as necessary.
- Install the wiring harness
to the trim panel.
- Install the trim panel to the door.
Push on the outer edges of the trim panel.
- Install the door lock switch bezel. Refer to
Door Lock Switch Replacement
.
Notice: Use the correct fastener in the correct location. Replacement fasteners
must be the correct part number for that application. Fasteners requiring
replacement or fasteners requiring the use of thread locking compound or sealant
are identified in the service procedure. Do not use paints, lubricants, or
corrosion inhibitors on fasteners or fastener joint surfaces unless specified.
These coatings affect fastener torque and joint clamping force and may damage
the fastener. Use the correct tightening sequence and specifications when
installing fasteners in order to avoid damage to parts and systems.
- Install the retaining
fastener to the rear of the trim panel.
Tighten
Tighten the fastener to 0.8 N·m (7 lb in).
- Connect the courtesy lamp connector.
- Install the courtesy lamp to the trim panel.
- Install the 2 retaining fasteners through the switch plate
opening.
Tighten
Tighten the two fasteners to 1.8 N·m (16 lb in).
- Install the switch plate. Refer to
Front Side Door Window Switch Replacement
.
Front Side Door Trim Panel Replacement Oldsmobile
Removal Procedure
Tools Required
J 38778 Door Trim
Pad Remover.
Caution: Unless directed otherwise, the ignition and start switch must be in the OFF or LOCK position, and all electrical loads must be OFF before servicing
any electrical component. Disconnect the negative battery cable to prevent an electrical spark should a tool or equipment come in contact with an exposed electrical terminal. Failure to follow these precautions may result in personal injury and/or damage to
the vehicle or its components.
- Disconnect the negative battery cable.
- Remove the power window switch. Refer to
Front Side Door Window Switch Replacement
.
- Remove the trim panel insert. Refer to
Front Side Door Trim Panel Insert Replacement
.
- Use the J 38778
in order to release the trim panel retainers between the door and the trim
panel.
- Lift upward the trim panel.
- Disconnect the electrical connectors.
- Remove the door trim panel.
Installation Procedure
- Align the trim panel to
the door.
- Connect the electrical connectors.
- Install the trim panel to the door.
- Push on the outer edges of the trim panel to secure.
- Install the trim panel insert. Refer to
Front Side Door Trim Panel Insert Replacement
.
- Install the power window switch. Refer to
Front Side Door Window Switch Replacement
.
- Connect the negative battery cable.