GM Service Manual Online
For 1990-2009 cars only

When the sliding glass panel is in the closed position, verify that the following conditions exist:

    • The glass panel is centered in the roof panel opening.
    • The lifter arms firmly hold the glass panel in position.
  1. Completely or partially open the sunroof.
  2. Close the sunroof. Use the switch until the motor stops.
  3. Verify that the following conditions exist:
  4. • The sliding glass panel and the motor are in the closed position.
    • The sliding glass panel is approximately even with the roof panel.
    • The sliding glass panel is level and centered in the roof opening.
  5. Adjust the motor synchronization if the following conditions exist:
  6. • The rear of the panel is noticeably low or high in the rear.
    • The rear of the panel is loose and may be moved up and down using your hand.
  7. If the following conditions do not exist, refer to Sunroof Panel Vertical Adjustment and Sunroof Panel Horizontal Adjustment :
  8. • The glass panel is centered approximately in the opening.
    • The glass panel is even with the roof panel.
    • The glass panel is not loose at the rear.
  9. Lower the rear of the headliner in order to access sunroof motor. Refer to Headlining Trim Panel Replacement in Interior Trim.

  10. Object Number: 258865  Size: SH

    Important: Do not disconnect the electrical connection.

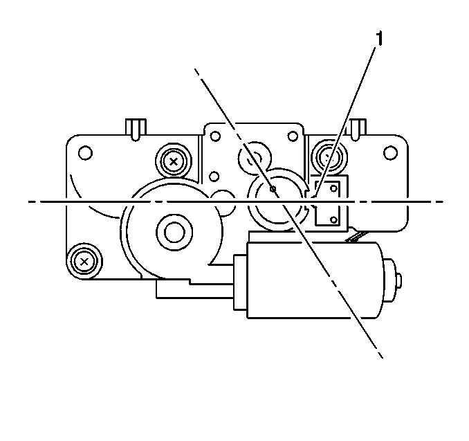
  11. Remove the sunroof motor from the mounting.
  12. With the motor removed from the mounting and the ignition in the ON position, move the sunroof switch to the rear position for several seconds.
  13. Release the switch.

  14. Push the switch into the forward position.
  15. Hold the switch until the motor stops.

    Important: Do not move the sunroof switch until after the motor is installed.

  16. Turn the ignition to the OFF position.
  17. Slide the sunshade fully rearward.
  18. Remove the 3 fasteners from the front edge of the shield ring.
  19. Slide the shield ring rearward.

  20. Object Number: 258870  Size: SH
  21. Locate the sunroof track transmission drive gear (1).

  22. Object Number: 258871  Size: SH
  23. Turn the sunroof track transmission drive gear clockwise or counterclockwise as needed in order to align the lifter guide pin (2) with the fourth rib (1) from the rear of the lifter arm.
  24. Verify that the following conditions exist:
  25. • The lifter arms hold the rear of the glass panel tightly in position.
    • The glass panel cannot be moved up or down using your hand.
  26. If the glass panel is loose, inspect the tightness of the glass panel mounting fasteners. Refer to Sunroof Glass Panel Replacement .

  27. Object Number: 258865  Size: SH
  28. Install the motor and the cover.
  29. Turn the ignition to the ON position.
  30. Verify the proper operation of the sunroof by cycling the sunroof from a closed position to the vent position, and to a fully open position.