GM Service Manual Online
For 1990-2009 cars only

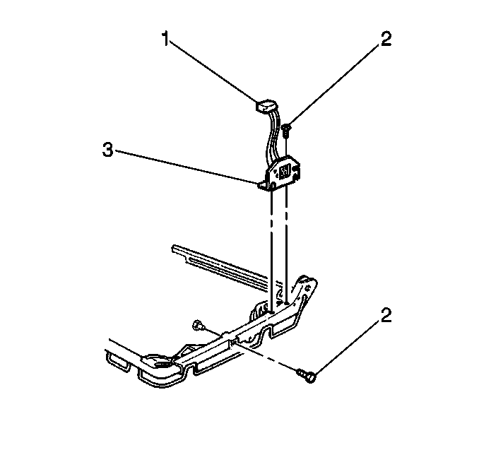
Removal Procedure


    Object Number: 380895  Size: SH
  1. Remove the fasteners (2).
  2. Disconnect the switch (1).
  3. Remove the wiring harness.

Installation Procedure


    Object Number: 380895  Size: SH
  1. Install the wiring harness.
  2. Install the fasteners (2).
  3. Connect the switch (1).
  4. Verify that the seat operates correctly.