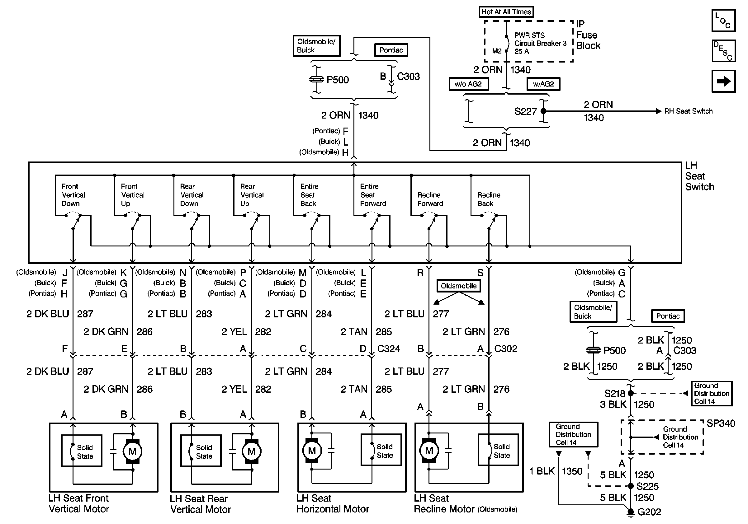
| Figure 1: |
Cell 140: LH Power Seat (AG1 or AG2) (1 of 2)
|
| Figure 2: |
Cell 140: RH Power Seat (2 of 2)
|
| Figure 1: |
Cell 140: Console Seat Switch w/AL7
|
| Figure 2: |
Cell 140: LH Power Seat Control w/AL7
|
| Figure 3: |
Cell 140: RH Power Seat Control w/AL7 (3 of 3)
|