GM Service Manual Online
For 1990-2009 cars only
Figure 1:

Cell 141: Power, RFA and Memory Seat/Mirror Module (1 of 3)


Object Number: 468574  Size: FS
Power Seat Systems Components
Memory Seat Circuit Description Oldsmobile w/A43
Cell 141: LH Seat Switch w/A43 (2 of 3)
Power Distribution Schematics
Power Distribution Schematics
Power Distribution Schematics
Power Distribution Schematics
Handling ESD Sensitive Parts Notice
Handling ESD Sensitive Parts Notice
Power Seat Connector End Views
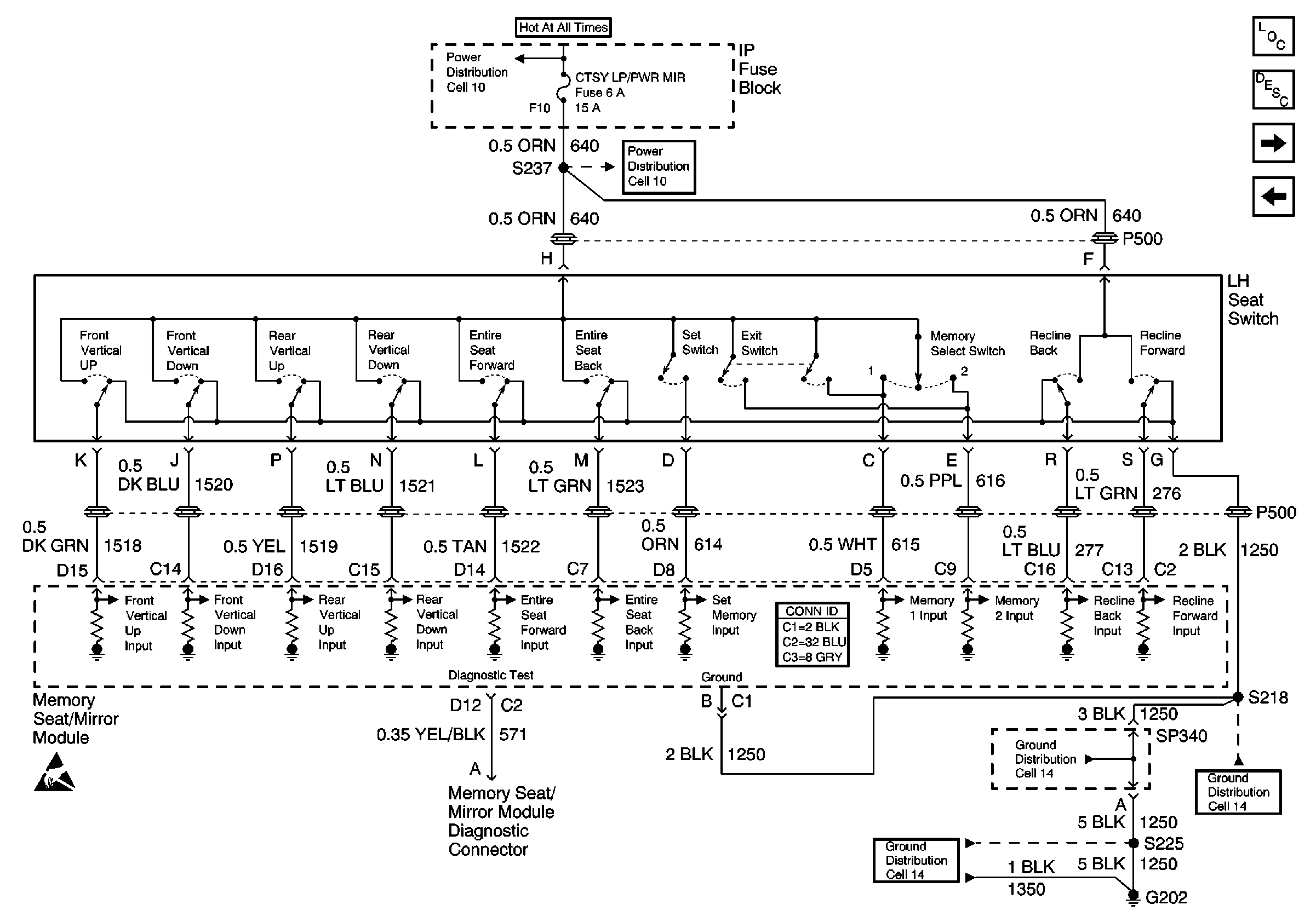
Figure 2:

Cell 141: LH Seat Switch w/A43 (2 of 3)


Object Number: 468576  Size: FS
Power Seat Systems Components
Memory Seat Circuit Description Oldsmobile w/A43
Cell 141: Seat Motors and Position Sensors (3 of 3)
Cell 141: Power, RFA and Memory Seat/Mirror Module (1 of 3)
Power Distribution Schematics
Power Distribution Schematics
Handling ESD Sensitive Parts Notice
Ground Distribution Schematics
Ground Distribution Schematics
Ground Distribution Schematics
Power Seat Connector End Views
Figure 3:

Cell 141: Seat Motors and Position Sensors (3 of 3)


Object Number: 468577  Size: FS
Power Seat Systems Components
Memory Seat Circuit Description Oldsmobile w/A43
Cell 141: LH Seat Switch w/A43 (2 of 3)
Outside Rearview Mirror Schematics
Outside Rearview Mirror Schematics
Handling ESD Sensitive Parts Notice
Handling ESD Sensitive Parts Notice
Power Seat Connector End Views