GM Service Manual Online
For 1990-2009 cars only

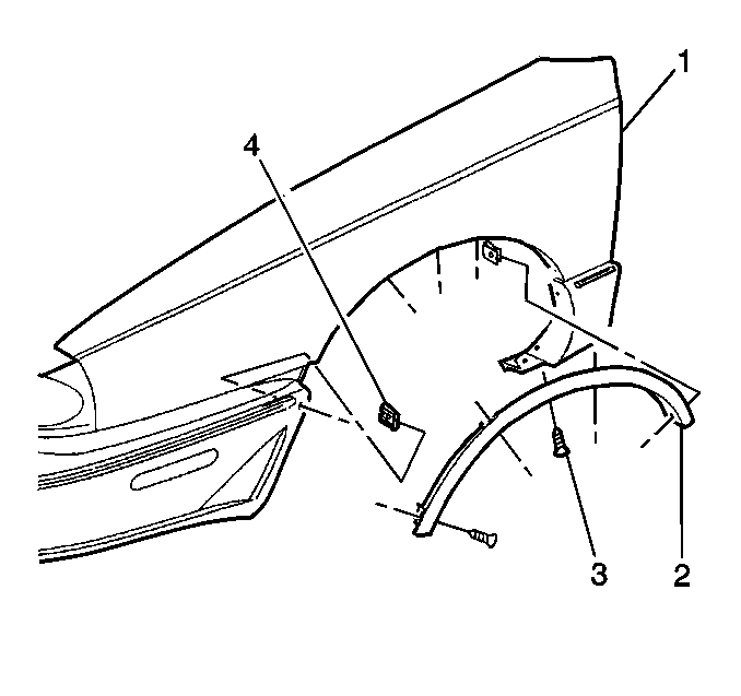
Front Fender Wheel Opening Molding Replacement Buick

Removal Procedure


    Object Number: 300750  Size: SH
  1. Remove the screws (1) that retain the wheel opening molding (2).
  2. Remove the wheel opening molding (2).

Installation Procedure


    Object Number: 300750  Size: SH
  1. Install the wheel opening molding (2).
  2. Notice: Use the correct fastener in the correct location. Replacement fasteners must be the correct part number for that application. Fasteners requiring replacement or fasteners requiring the use of thread locking compound or sealant are identified in the service procedure. Do not use paints, lubricants, or corrosion inhibitors on fasteners or fastener joint surfaces unless specified. These coatings affect fastener torque and joint clamping force and may damage the fastener. Use the correct tightening sequence and specifications when installing fasteners in order to avoid damage to parts and systems.

  3. Install the screws (1) in order to retain the wheel opening molding (2).
  4. Tighten
    Tighten the screws (1) to 1.9 N·m (17 lb in).

Front Fender Wheel Opening Molding Replacement 88/LSS

Removal Procedure


    Object Number: 300751  Size: SH
  1. Remove the screws (3) that retain the wheel opening molding (2).
  2. Remove the wheel opening molding (2).

Installation Procedure


    Object Number: 300751  Size: SH
  1. Install the wheel opening molding (2).
  2. Notice: Use the correct fastener in the correct location. Replacement fasteners must be the correct part number for that application. Fasteners requiring replacement or fasteners requiring the use of thread locking compound or sealant are identified in the service procedure. Do not use paints, lubricants, or corrosion inhibitors on fasteners or fastener joint surfaces unless specified. These coatings affect fastener torque and joint clamping force and may damage the fastener. Use the correct tightening sequence and specifications when installing fasteners in order to avoid damage to parts and systems.

  3. Install the screws (3) in order to retain the wheel opening molding.
  4. Tighten
    Tighten the screws (3) to 2.1 N·m (18 lb in).