GM Service Manual Online
For 1990-2009 cars only

Rear Compartment Lid Valet Lock Out Switch Replacement Pontiac

Removal Procedure


    Object Number: 469019  Size: SH
  1. Open the rear compartment lid.
  2. Remove the air inflator valve stem cap if necessary.
  3. Using a thin flat bladed tool pry up the bezel retaining the rear compartment release enable switch.
  4. Partially remove the switch assembly.
  5. Disconnect the electrical connectors.

  6. Remove the fasteners retaining the switch.
  7. Remove the switch.

Installation Procedure


    Object Number: 469020  Size: SH
  1. Align the switch to the bezel.
  2. Install the fasteners retaining the switch.
  3. Partially install the bezel.
  4. Connect the electrical connectors.

  5. Align the bezel.
  6. Push downward to secure the bezel.

  7. Install the air inflator valve stem cap if necessary.

Rear Compartment Lid Valet Lock Out Switch Replacement Buick

Removal Procedure


    Object Number: 324738  Size: SH
  1. Open the IP compartment.
  2. Carefully pry up the rear compartment release enable switch (1) or the rear compartment release enable switch/oil reset switch (2).
  3. Disconnect the electrical connector.
  4. Remove the switch.

Installation Procedure


    Object Number: 324738  Size: SH
  1. Connect the electrical connector.
  2. Align the switch (1 or 2) to the IP compartment.
  3. Push downward to fasten the switch.

  4. Close the IP compartment.

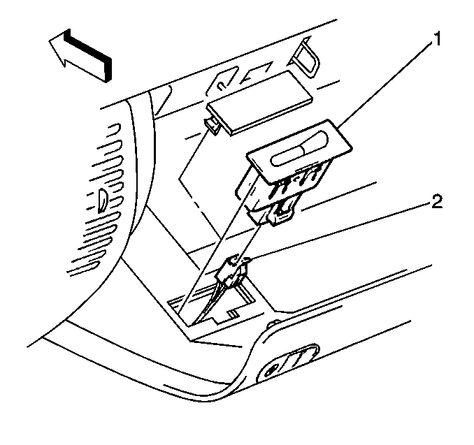
Rear Compartment Lid Valet Lock Out Switch Replacement Oldsmobile

Removal Procedure


    Object Number: 324740  Size: SH
  1. Open the IP compartment.
  2. Carefully pry up the rear compartment release enable switch (1).
  3. Disconnect the electrical connector (2).
  4. Remove the switch.

Installation Procedure


    Object Number: 324740  Size: SH
  1. Connect the electrical connector (2).
  2. Align the switch (1) to the IP compartment.
  3. Push downward to fasten the switch.

  4. Close the IP compartment.