GM Service Manual Online
For 1990-2009 cars only

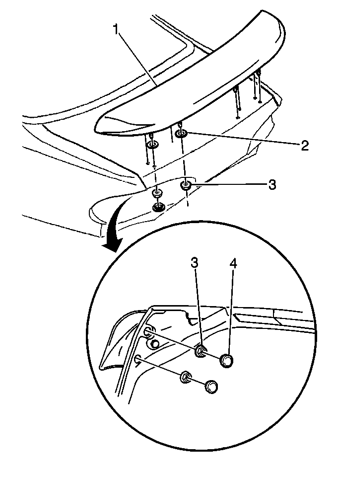
Removal Procedure


    Object Number: 310012  Size: MH
  1. Open the rear compartment lid.
  2. Remove the caps (4) that cover the outboard spoiler studs.
  3. Remove the nuts (3) that retain the spoiler to the rear compartment lid.
  4. Remove the following components from the rear compartment lid:
  5. • The spoiler (1)
    • The washers (2)

Installation Procedure


    Object Number: 310012  Size: MH
  1. Attach washers (2) to the spoiler studs.
  2. Install the spoiler (1) to the rear compartment lid.
  3. Notice: Use the correct fastener in the correct location. Replacement fasteners must be the correct part number for that application. Fasteners requiring replacement or fasteners requiring the use of thread locking compound or sealant are identified in the service procedure. Do not use paints, lubricants, or corrosion inhibitors on fasteners or fastener joint surfaces unless specified. These coatings affect fastener torque and joint clamping force and may damage the fastener. Use the correct tightening sequence and specifications when installing fasteners in order to avoid damage to parts and systems.

  4. Install the nuts (3) in order to retain the spoiler to the rear compartment lid.
  5. Tighten
    Tighten the nuts to 7.5 N·m (66 lb in).

  6. Install the caps (4) over the outboard spoiler studs.