GM Service Manual Online
For 1990-2009 cars only

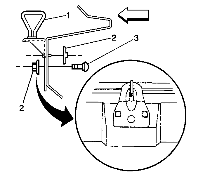
Removal Procedure

  1. Remove the rear compartment sill plate. Refer to Rear Compartment Sill Trim Plate Replacement .

  2. Object Number: 310019  Size: SH
  3. Remove the 2 nuts (2) from the outside of the rear of the compartment.
  4. Remove 1 nut (2) from the inside of the compartment.
  5. Remove the striker (1).

Installation Procedure


    Object Number: 310019  Size: SH
  1. Install the striker (1) into position on the rear of the panel.
  2. Notice: Use the correct fastener in the correct location. Replacement fasteners must be the correct part number for that application. Fasteners requiring replacement or fasteners requiring the use of thread locking compound or sealant are identified in the service procedure. Do not use paints, lubricants, or corrosion inhibitors on fasteners or fastener joint surfaces unless specified. These coatings affect fastener torque and joint clamping force and may damage the fastener. Use the correct tightening sequence and specifications when installing fasteners in order to avoid damage to parts and systems.

  3. Install the nut (2) to the inside of the compartment.
  4. Tighten
    Tighten the nut to 9 N·m (80 lb in).

  5. Install the nuts (2) to the outside of the rear compartment.
  6. Tighten
    Tighten the nuts to 9 N·m (80 lb in).

  7. Install the sill plate. Refer to Rear Compartment Sill Trim Plate Replacement .