GM Service Manual Online
For 1990-2009 cars only
Makes
🢒
Oldsmobile
🢒
1998
🢒
LSS
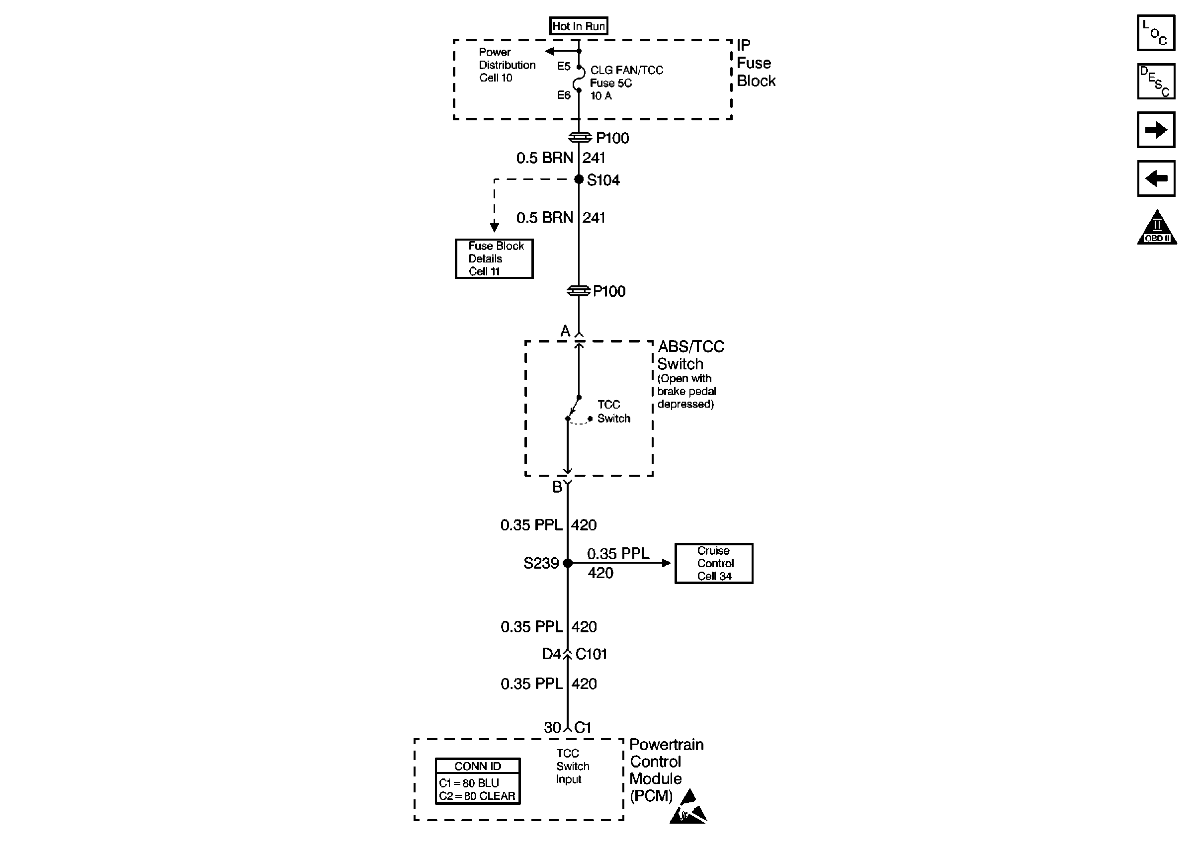
🢒 Cell 20: TCC Switch
Cell 20: TCC Switch
Cell 20: TCC Switch
Engine Controls Components
Powertrain Control Module Description
Cell 20: Oil Life, Oil Level Switches
Cell 20: Park/Neutral Position (PNP) Switch
OBD II Symbol Description Notice
Handling ESD Sensitive Parts Notice
Engine Controls Schematic References
Engine Controls Schematic References
Engine Controls Schematic References
Powertrain Control Module Connector End Views