GM Service Manual Online
For 1990-2009 cars only
Makes
🢒
Oldsmobile
🢒
1998
🢒
LSS
🢒 Cell 10: Battery and Underhood Fuse Blocks
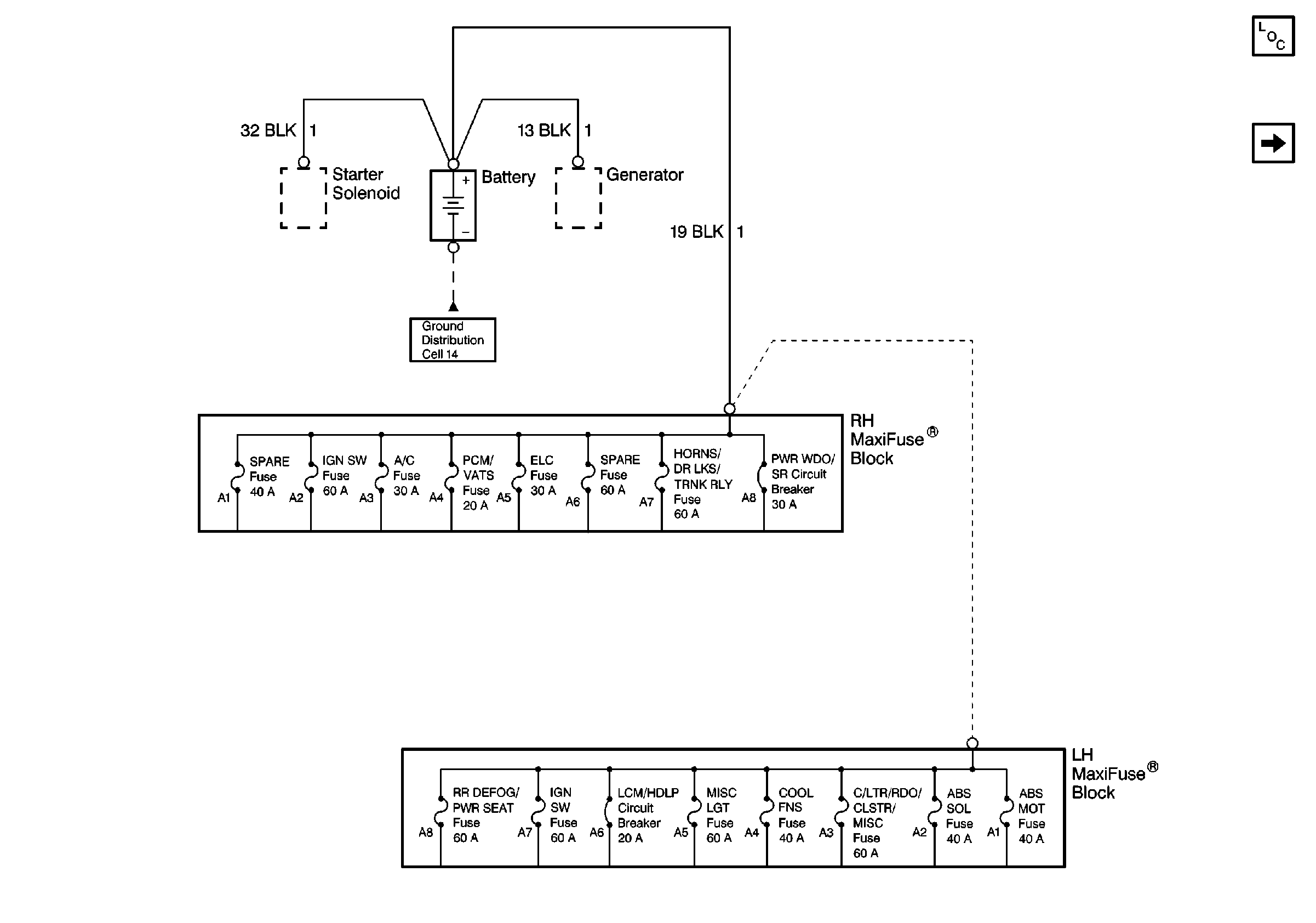
Cell 10: Battery and Underhood Fuse Blocks
Cell 10: Battery and Underhood Fuse Blocks
Power and Grounding Components
Cell 10: IGN SW Fuse (1 of 2)
Ground Distribution Schematics