GM Service Manual Online
For 1990-2009 cars only
Makes
🢒
Oldsmobile
🢒
1998
🢒
LSS
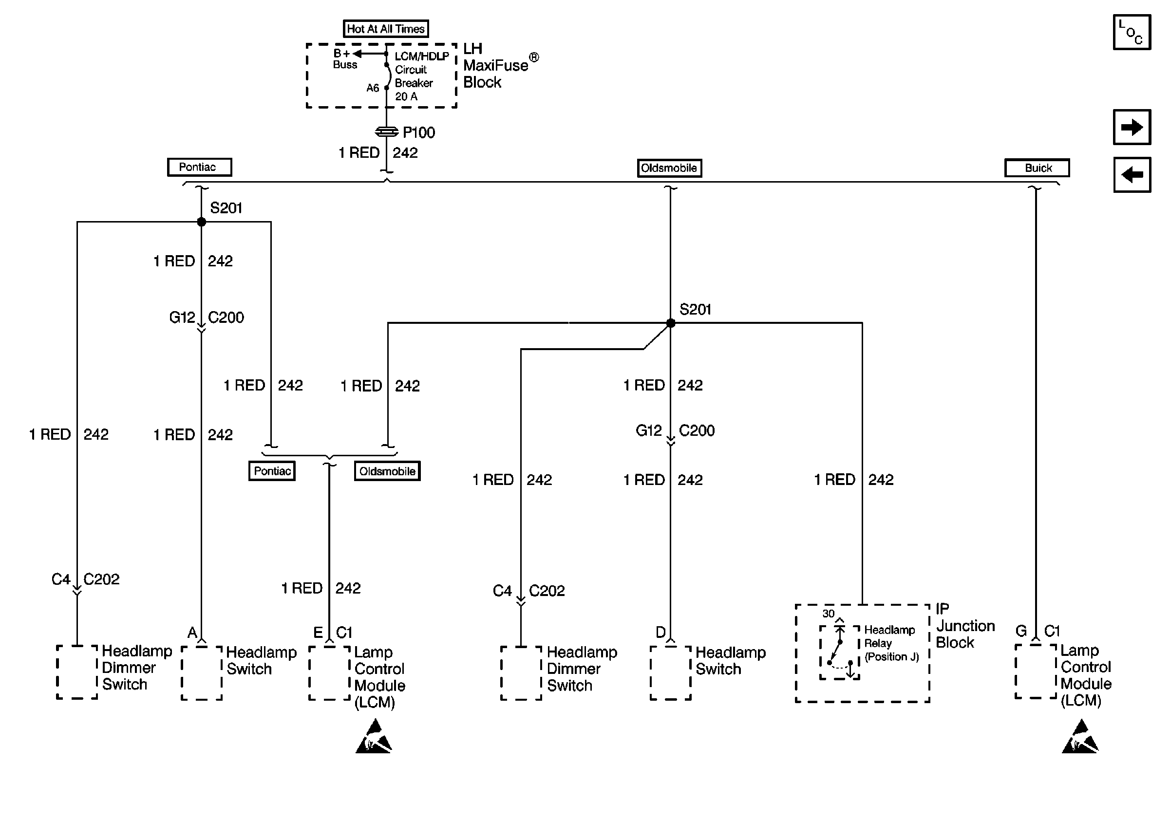
🢒 Cell 10: LCM/HDLP Circuit Breaker
Cell 10: LCM/HDLP Circuit Breaker
Cell 10: LCM/HDLP Circuit Breaker
Power and Grounding Components
Cell 10: A/C and PCM/VATS Fuses
Cell 10: MISC LGT, COOL FNS, C/LTR/RDO/CLSTR/MISC, ABS SOL and ABSMOT Fuses
Handling ESD Sensitive Parts Notice
Handling ESD Sensitive Parts Notice