GM Service Manual Online
For 1990-2009 cars only
Makes
🢒
Oldsmobile
🢒
1998
🢒
LSS
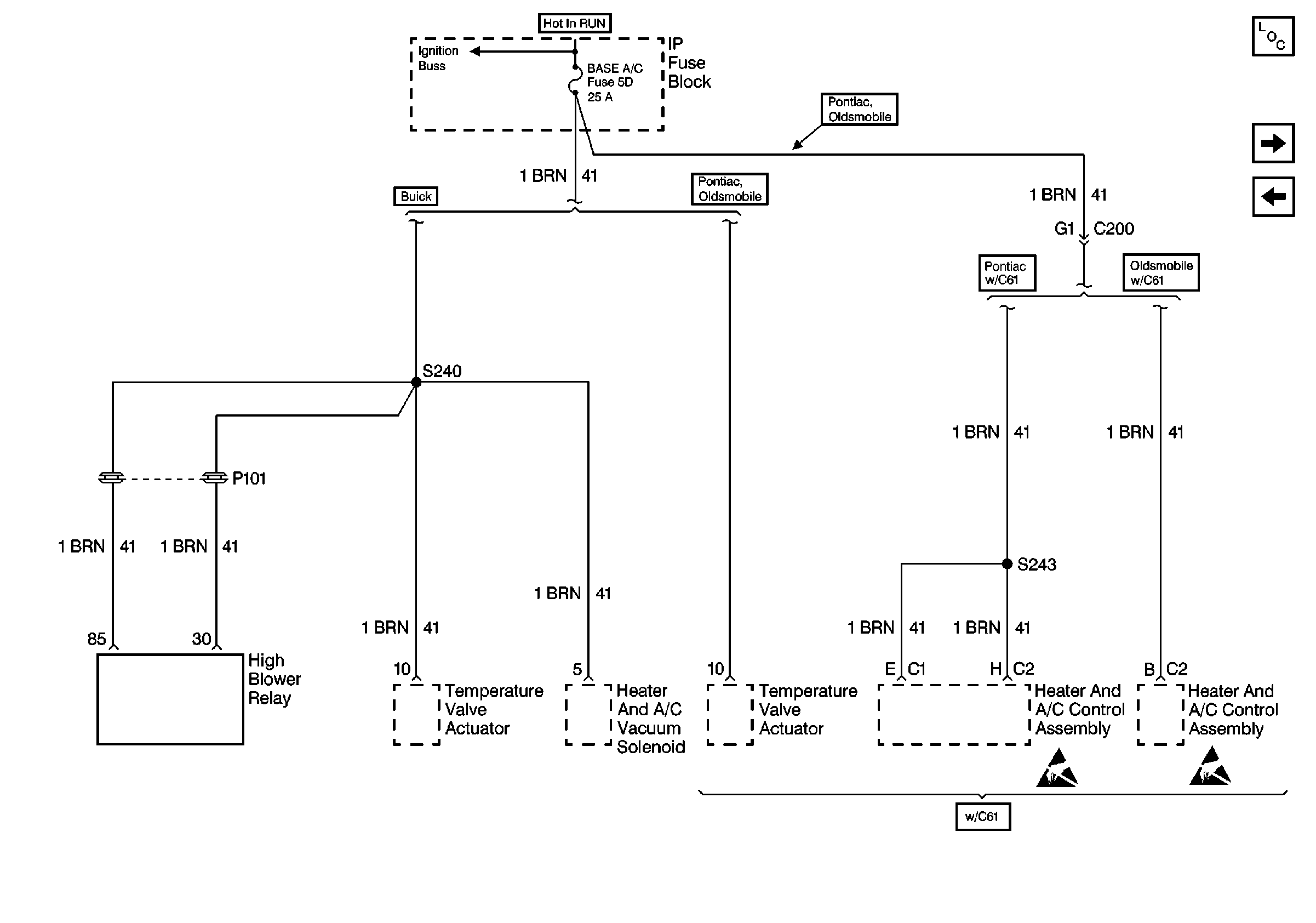
🢒 Cell 10: BASE A/C Fuse
Cell 10: BASE A/C Fuse
Cell 10: BASE A/C Fuse
Power and Grounding Components
Cell 10: CHIME Fuse
Cell 10: ELC Fuse
Handling ESD Sensitive Parts Notice
Handling ESD Sensitive Parts Notice