GM Service Manual Online
For 1990-2009 cars only

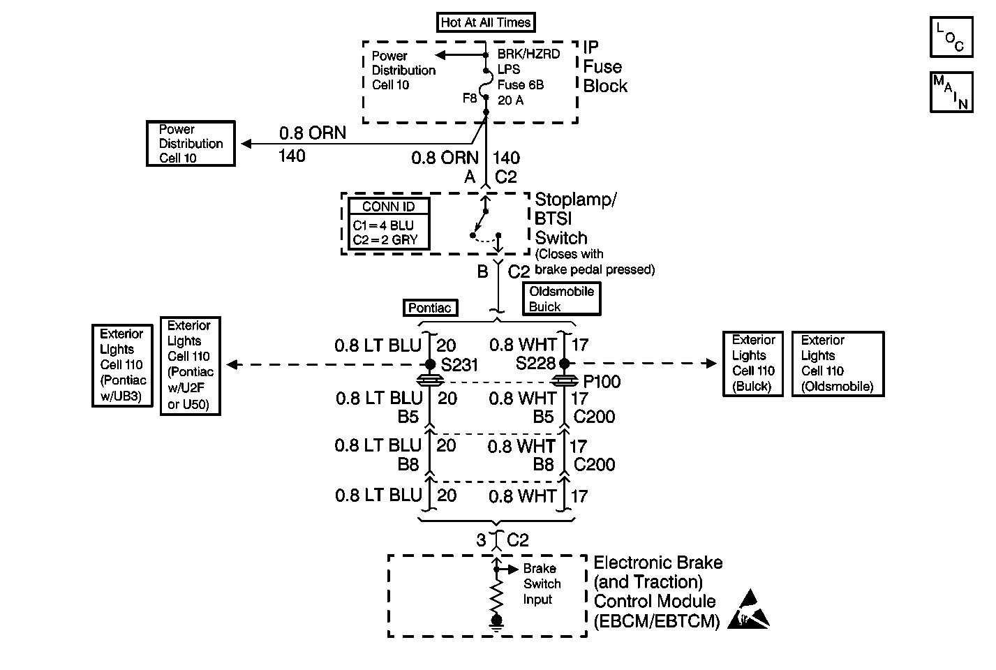
Object Number: 375192  Size: MF
ABS Components
Cell 44: PWR, GND, Pump Motor, Valve Solenoids, and Stoplamp/BTSI Switch
Cell 10: BRK/HZRD LPS, FOG LPS, CTSY LF/PWR MIR, and PARK LPS/INT LPS Fuses
Cell 10: MISC LGT, COOL FNS, C/LTR/RDO/CLSTR/MISC, ABS SOL and ABSMOT Fuses
Cell 110: Turn/Hazard Switch and Stoplamp/BTSI Switch
Turn/Hazard Switch and Stoplamp/BTSI Switch
Cell 110: Stoplamp/BTSI Switch
Cell 110: Stoplamp/BTSI Switch
Handling ESD Sensitive Parts Notice

Circuit Description

This circuit is used to detect an open Stoplamp/BTSI switch in the non-ABS mode. The EBTCM looks for a deceleration rate that would indicate braking action and requires several repeats of this detection method in order to verify this assumption. In each case, the TCS will not be available since the EBTCM sees no Stoplamp/BTSI switch voltage.

Conditions for Setting the DTC

The Stoplamp/BTSI switch remains open for three deceleration cycles.

Action Taken When the DTC Sets

    • A DTC C1291 is stored
    • The TCS is disabled
    • The TRACTION OFF indicator turns on
    • The ABS remains functional

Conditions for Clearing the DTC

    • The condition for the DTC is no longer present and the scan tool clear DTC function is used
    • 50 ignition cycles have passed with no DTCs detected

Diagnostic Aids

    • Thoroughly inspect the wiring and the connectors. Failure to carefully and fully inspect the wiring and the connectors can result in misdiagnosis. Misdiagnosis may cause replacement of parts without repairing the malfunction.
    • If any WSS DTCs are present, diagnose the WSS DTCs first.
    • The following conditions may cause most intermittent malfunctions:
       - Poor connections
       - Rubbed through wire insulation
       - A broken wire inside the insulation
    • The following conditions are other possible causes for this malfunction:
       - An open Stoplamp/BTSI switch
       - An open brake fuse
       - A misadjusted Stoplamp/BTSI switch
       - Erratic wheel speeds
       - A wiring problem, terminal corrosion, or a poor connection in the circuit
    • If an intermittent malfunction exists, refer to Intermittents and Poor Connections Diagnosis in Wiring Systems

Test Description

The numbers below refer to the step numbers on the diagnostic table.

  1. This step checks if the Stoplamp Switch and Power Distribution are OK.

  2. This step checks for voltage at the EBTCM.

  3. This step checks the Stoplamp Switch.

DTC C1291 Open Brake Lamp Switch Circuit During Deceleration

Step

Action

Value(s)

Yes

No

1

Was the Diagnostic System Check performed?

--

Go to Step 2

Go to Diagnostic System Check

2

Are any WSS DTCs present?

--

Go to the appropriate DTC table

Go to Step 3

3

Press the brake pedal.

Do the brake lights come on?

--

Go to Step 4

Go to Step 7

4

  1. Turn the ignition switch to the OFF position.
  2. Disconnect the EBTCM.
  3. Install the J 39700 universal pinout box using the J 39700-25 cable adapter to the EBTCM harness connector only.
  4. Turn the ignition switch to the RUN position with the engine off.
  5. Using the J 39200 DMM, measure the voltage at the J 39700 terminal 3 while an assistant presses the brake pedal.

Is the voltage within the specified range?

Battery Voltage

Go to Step 5

Go to Step 6

5

Replace the EBTCM. Refer to Electronic Brake Control Module Replacement .

Is the replacement complete?

--

Go to Diagnostic System Check

--

6

Repair the open or high resistance in CKT 17. Refer to Wiring Repairs in Wiring Systems.

Is the circuit repair complete?

--

Go to Diagnostic System Check

--

7

Inspect the BRK/HZRD LPS fuse in the IP Fuse Block.

Is the BRK/HZRD LPS fuse OK?

--

Go to Step 8

Go to Step 12

8

  1. Disconnect the stoplamp/BTSI switch connector.
  2. Using the J 39200 DMM, measure the voltage at the stoplamp/BTSI switch harness connector terminal A.

Is the voltage within the specified range?

Battery Voltage

Go to Step  10

Go to Step 9

9

Repair the open in CKT 140. Refer to Wiring Repairs in Wiring Systems.

Is the circuit repair complete?

--

Go to Diagnostic System Check

--

10

Connect a fused jumper wire between the stoplamp/BTSI switch harness connector terminals A and B.

Do the brake lamps come on?

--

Go to Step 11

Go to Step 6

11

Adjust or repair the stoplamp/BTSI switch as necessary. Refer to Stop Lamp Switch Adjustment or Stop Lamp Switch Replacement in Hydraulic Brakes.

Is the repair complete?

--

Go to Diagnostic System Check

--

12

  1. Replace the BRK/HZRD LPS fuse. (Do not press the brake pedal.)
  2. Check the BRK/HZRD LPS fuse.

Is the fuse OK?

--

Go to Step 14

Go to Step 13

13

Repair the short to ground in CKT 140. Refer to Wiring Repairs .

Is the circuit repair complete?

--

Go to Diagnostic System Check

--

14

  1. Press the brake pedal.
  2. Check the BRK/HZRD LPS fuse.

Is the fuse OK?

--

Go to Diagnostic System Check

Go to Step  15

15

  1. Turn the ignition switch to the OFF position.
  2. Disconnect the EBTCM.
  3. Replace the fuse.
  4. Turn the ignition switch to the RUN position with the engine off.
  5. Press the brake pedal.
  6. Check the BRK/HZRD LPS fuse.

Is the fuse OK?

--

Go to Step 5

Go to Step 16

16

Repair the short to ground in CKT 17. Refer to Wiring Repairs in Wiring Systems.

Is the circuit repair complete?

--

Go to Diagnostic System Check

--