GM Service Manual Online
For 1990-2009 cars only

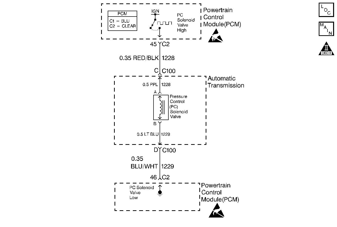
Object Number: 347026  Size: MF
Automatic Transmission Components
Automatic Transmission Controls Schematics
OBD II Symbol Description Notice
Handling ESD Sensitive Parts Notice
Handling ESD Sensitive Parts Notice

Circuit Description

The Pressure Control Solenoid Valve (PC Sol. Valve) regulates actuator feed fluid passing through the solenoid into torque signal pressure. The PCM uses a pulse width modulated signal in order to control the torque signal pressure. The PCM compares various inputs in order to determine the appropriate pressure for a given load. The PCM varies the current to the PC Sol. Valve from 0.1-1.1 amp. An internal current monitor within the PCM provides feedback in order to determine actual PC Sol. Valve current draw.

If the PCM detects a commanded current draw that differs from the actual current draw by more than a calibrated value, then DTC P0748 sets. DTC P0748 is a Type D DTC.

Conditions for Setting the DTC

    • The Pressure Control Solenoid (PC Sol.) Valve is enabled.
    • The system voltage is:
       - Greater than 11 volts at a low temperature -40°C (-40°F).
       - Greater than 13 volts at a high temperature 151°C (304°F).
    • The PCM commands the PC Sol. valve ON and the circuit voltage remains high (B+).
    • The PCM commands the PC Sol. valve OFF and the circuit voltage remains low (0 volts).

Action Taken When the DTC Sets

    • The PCM does not illuminate the Malfunction Indicator Lamp (MIL).
    • The PCM commands maximum line pressure.
    • The PCM disables shift adapts.

Conditions for Clearing the DTC

    • A scan tool can clear the DTC from the PCM history. The PCM clears the DTC from the PCM history if the vehicle completes 40 warm-up cycles without a failure reported.
    • The PCM cancels the DTC default actions when the fault no longer exists and the ignition is OFF long enough in order to power down the PCM.

Diagnostic Aids

    • Inspect the wiring for poor electrical connections at the PCM. Inspect the wiring for poor electrical connections at the transmission 20-way connector. Inspect the wiring for poor electrical connections at the PC Sol. Valve connector. Look for the following problems:
       - A bent terminal
       - A backed out terminal
       - A damaged terminal
       - Poor terminal tension
       - A chafed wire
       - Moisture Intrusion
       - A broken wire inside the insulation
    • When diagnosing for an intermittent short or open, massage the wiring harness while watching the test equipment for a change.
    • Extended cranking with a low battery could set DTC P0748.

Test Description

The numbers below refer to the step numbers on the diagnostic table.

  1. This step verifies the ability of the PCM to command the PC Sol. Valve.

  2. This step verifies that the Automatic Transmission Wiring Harness Assembly and the PC Sol. Valve have correct resistance.

  3. This step tests circuit 1229 of the A/T Wiring Harness Assembly for a short to ground.

  4. This step tests circuit 1229 from the engine 20-way connector to the PCM for a short to ground.

  5. This step tests circuit 1229 from the engine 20-way connector to the PCM for an open.

  6. This step tests circuit 1228 from the engine 20-way connector to the PCM for a short to ground.

  7. This step tests circuit 1228 from the engine 20-way connector to the PCM for an open.

DTC P0748 Pressure Control Solenoid Circuit -- Electrical

Step

Action

Value(s)

Yes

No

1

Was the Powertrain On-Board Diagnostic (OBD) System Check performed?

--

Go to Step 2

Go to Powertrain On Board Diagnostic (OBD) System Check in Engine Controls

2

  1. Install the Scan Tool .
  2. With the engine OFF, turn the ignition switch to the RUN position.
  3. Important: Before clearing the DTCs, use the Scan Tool in order to record the Failure Records for reference. The Clear Info function will erase the data.

  4. Record the DTC Failure Records, then clear the DTC(s).
  5. Start the engine.
  6. Enter A/T outputs PC Sol. on the Scan Tool .
  7. Apply several settings from 0.1 amp through 1.1 amp and observe the Scan Tool display.

Does the actual PC Sol. reading differ from the commanded PC Sol. reading by more than the specified amount?

0.16 amp

Go to Diagnostic Aids

Go to Step 3

3

  1. Turn the ignition OFF.
  2. Disconnect the transmission 20-way connector (additional DTCs will set).
  3. Connect the J 39775 Jumper Harness to the transmission 20-way connector.
  4. Refer to Automatic Transmission Inline Harness Connector End View .

  5. Using the J 35616 Connector Test Adapter Kit, connect a J 39200 Digital Multimeter (DMM), set to ohms, from terminal C to terminal D of the J 39775 Jumper Harness.

Is the resistance within the specified range?

3-5 ohms at 20°C (68°F)

5-6 ohms at 88°C (190°F)

Go to Step 7

Go to Step 4

4

Is the resistance greater than the specified value?

6 ohms at 20°C (68°F)

7 ohms at 88°C (190°F)

Go to Step 5

Go to Step 6

5

  1. Inspect circuit 1228 (PPL) from the transmission 20-way connector to the PC Sol. Valve for an open or a poor connection.
  2. Inspect circuit 1229 (LT BLU) from the transmission 20-way connector to the PC Sol. Valve for an open or a poor connection.

Refer to General Electrical Diagnosis in Wiring Systems.

Did you find and correct the condition?

--

Go to Step 19

Go to Step 9

6

Inspect circuits 1228 (PPL) and 1229 (LT BLU) from the transmission 20-way connector to the PC Sol. Valve for a short together.

Refer to General Electrical Diagnosis in Wiring Systems.

Did you find and correct the condition?

--

Go to Step 19

Go to Step 9

7

Connect a J 39200 DMM, set to measure ohms, from terminal D of the J 39775 Jumper Harness to a good ground.

Is the resistance less than the specified value?

1000 ohms

Go to Step 8

Go to Step 10

8

  1. Inspect circuit 1228 (PPL) from the transmission 20-way connector to the PC Sol. Valve for a short to ground.
  2. Inspect circuit 1229 (LT BLU) from the transmission 20-way connector to the PC Sol. Valve for a short to ground.

Refer to General Electrical Diagnosis in Wiring Systems.

Did you find and correct the condition?

--

Go to Step 19

Go to Step 9

9

Replace the PC Sol. Valve.

Refer to Pressure Control Solenoid Valve Replacement .

--

Go to Step 19

--

10

  1. Disconnect the J 39775 Jumper Harness from the transmission 20-way connector.
  2. Connect the J 39775 Jumper Harness to the engine 20-way connector.
  3. Disconnect the C2 (Clear) PCM connector (additional DTCs will set).
  4. Using the J 35616 Connector Test Adapter Kit, connect a J 39200 DMM, set to measure ohms, from terminal D of the J 39775 Jumper Harness to a good ground.

Is the resistance less than the value shown?

10 ohms

Go to Step 11

Go to Step 12

11

Inspect circuit 1229 (LT BLU/WHT) for a short to ground.

Refer to General Electrical Diagnosis in Wiring Systems.

Did you find and correct the condition?

--

Go to Step 19

--

12

Using the J 35616 Connector Test Adapter Kit, connect a J 39200 DMM, set to measure ohms, from terminal D of the J 39775 Jumper Harness to the PCM connector C2 (CLR) terminal 46 (LT BLU/WHT).

Is the resistance less than the value shown?

10 ohms

Go to Step 14

Go to Step 13

13

Inspect circuit 1229 (LT BLU/WHT) for an open.

Refer to General Electrical Diagnosis in Wiring Systems.

Did you find and correct the condition?

--

Go to Step 19

--

14

Using the J 35616 Connector Test Adapter Kit, connect a J 39200 DMM, set to measure ohms, from terminal C of the J 39775 Jumper Harness to a good ground.

Is the resistance less than the value shown?

10 ohms

Go to Step 15

Go to Step 16

15

Inspect circuit 1228 (RED/BLK) for a short to ground.

Refer to General Electrical Diagnosis in Wiring Systems.

Did you find and correct the condition?

--

Go to Step 19

--

16

Using the J 35616 Connector Test Adapter Kit, connect a J 39200 DMM, set to measure ohms, from terminal C of the J 39775 Jumper Harness to the PCM connector C2 (CLR) terminal 45 (RED/BLK).

Is the resistance less than the value shown?

10 ohms

Go to Step 18

Go to Step 17

17

Inspect circuit 1228 (RED/BLK) for an open.

Refer to General Electrical Diagnosis in Wiring Systems.

Did you find and correct the condition?

--

Go to Step 19

--

18

Replace the PCM.

Refer to Powertrain Control Module Replacement/Programming in Engine Controls.

Is the replacement complete?

--

Go to Step 19

--

19

In order to verify your repair, perform the following procedure:

  1. Select DTC.
  2. Select Clear Info, then clear the DTC(s).
  3. Operate the vehicle under the following conditions:
  4. • The Pressure Control Solenoid (PC Sol.) Valve is enabled.
    • The system voltage is:
       - Greater than 11 volts at a low temperature -40°C (-40°F).
       - Greater than 13 volts at a high temperature 151°C (304°F).
       - The PCM commands the PC Sol. valve ON and the circuit voltage becomes low (0 volts).
       - The PCM commands the PC Sol. valve OFF and the circuit voltage becomes high (B+).
  5. Select Specific DTC.
  6. Enter DTC P0748.

Has the test run and passed?

--

System OK

Go to Step 1