GM Service Manual Online
For 1990-2009 cars only

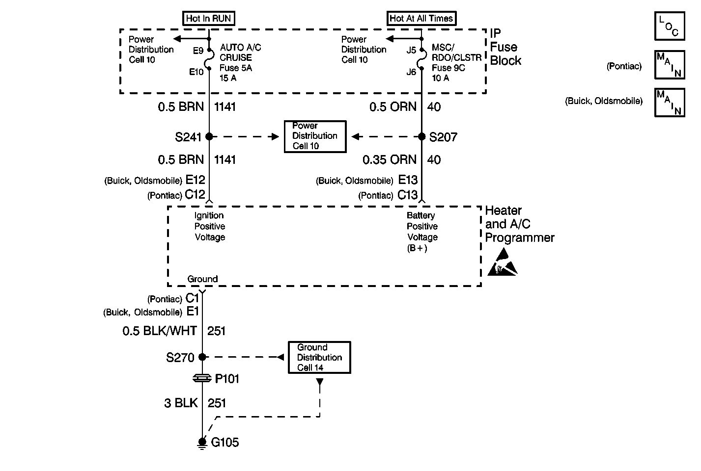
Object Number: 499596  Size: MF
HVAC Components
HVAC Air Delivery Schematics (Cell 68: IP Fuse Block, DLC - Pontiac)
Cell 68: IP Fuse Block, DLC (Buick)
Handling ESD Sensitive Parts Notice
Power Distribution Schematics
Power Distribution Schematics
Ground Distribution Schematics
Power Distribution Schematics

Circuit Description

The HVAC programmer receives battery voltage through CKT 40 from the IP fuse block , fuse 9C.

Conditions for Running the DTC

    • The ignition is ON.
    • The circuit is open or shorted.

Action Taken When the DTC Sets

    • Code 052 is set.
    • The HVAC programmer wil not operate.

Conditions for Clearing the DTC

    • Using a Scan Tool .
    • A current DTC will clear when the diagnostic runs and does not fail.

Step

Action

Value(s)

Yes

No

1

Was the battery disconnected or recently discharged?

--

Go to Step 2

Go to Step 3

2

Use Scan Tool to clear the DTC.

Is the DTC clear?

--

System OK

--

3

Use the Scan Tool in order to clear DTC 052.

Does the DTC reset when cleared?

--

Go to Step 4

System OK

4

Inspect the IP fuse block fuse 9C.

Is the fuse OK?

--

Go to Step 7

Go to Step 5

5

Check CKT 40 for a short to ground.

Refer to Testing for Short to Ground in Wiring Systems.

Did you find a short?

--

Go to Step 6

Go to Step 7

6

Repair the short to ground in CKT 40.

Refer to Wiring Repairs in Wiring Systems.

Is the repair complete?

--

System OK

--

7

  1. Turn the ignition switch to the OFF position.
  2. Disconnect the HVAC programmer.
  3. Measure the voltage between the following HVAC harness connector terminals:
  4. Refer to Measuring Voltage in Wiring Systems.

    • For Oldsmobile and Buick, measure between terminal E1 and terminal E13.
    • For Pontiac, measure between terminal C1 and terminal C13.

Refer to Measuring Voltage in Wiring Systems.

Is battery voltage present?

--

Go to Step 8

Go to Step 9

8

  1. Inspect the HVAC programmer connector for proper terminal contact. Refer to Intermittents and Poor Connections .
  2. If the contact is OK, replace the HVAC programmer. Refer to Programmer Replacement .

Is the repair complete?

--

System OK

--

9

Repair the open in CKT 40.

Refer to Wiring Repairs in Wiring Systems.

Is the repair complete?

--

System OK

--