GM Service Manual Online
For 1990-2009 cars only

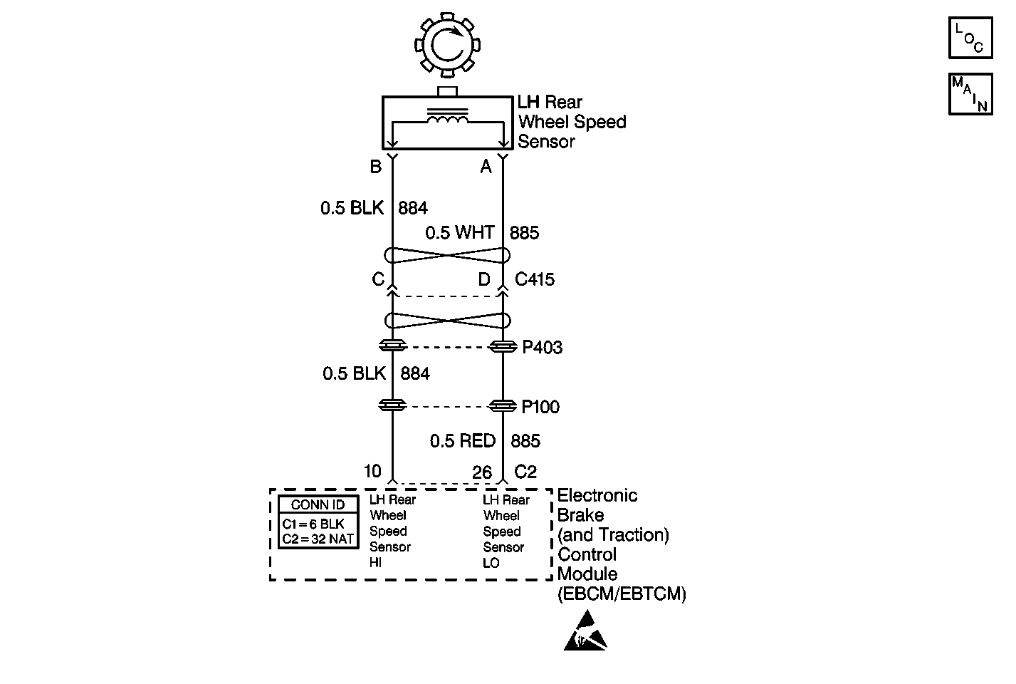
Object Number: 375183  Size: MF
ABS Components
Cell 44: Wheel Speed Sensors and Variable Effort Steering Actuator
Handling ESD Sensitive Parts Notice

Circuit Description

The WSS is a single point magnetic pickup that produces an AC signal. The EBCM/EBTCM uses the signal frequency in order to calculate the wheel speed.

Conditions for Setting the DTC

The DTC can be set anytime the brake is not depressed and no wheel speed sensor hardware DTC(s) are present, and the EBCM/EBTCM sees a wheel speed variation of more than 14 km/h (9 mph) for 2.5 seconds.

Action Taken When the DTC Sets

    • A DTC C1227 is stored
    • The ABS/TCS is disabled
    • The ABS and the TRACTION OFF indicators are turned on

Conditions for Clearing the DTC

    • The condition for the DTC is no longer present and the scan tool Clear DTC function is used
    • 50 ignition cycles have passed with no DTCs detected

Diagnostic Aids

    • Thoroughly inspect the wiring and the connectors. Failure to carefully and fully inspect the wiring and the connectors can result in misdiagnosis. Misdiagnosis may cause part replacement without repairing the malfunction.
    • The following conditions may cause an intermittent malfunction:
       - Poor connections
       - Broken insulation
       - A broken wire inside the insulation
    • If an intermittent malfunction exists, refer to Intermittents and Poor Connections Diagnosis in Wiring Systems.

Test Description

The numbers below refer to step numbers on the diagnostic table.

  1. Checks the resistance of the WSS.

  2. Checks if the WSS CKTs are shorted together.

DTC C1227 LR Excessive Wheel Speed Variation

Step

Action

Value(s)

Yes

No

1

Was the Diagnostic System Check performed?

--

Go to Step 2

Go to Diagnostic System Check

2

  1. Inspect the WSS wiring and connectors for damage.
  2. Inspect WSS for looseness or damage.

Is physical damage of sensor evident?

--

Go to Step 7

Go to Step 3

3

  1. Disconnect the WSS at the sensor pigtail.
  2. Using the J 39200 DMM, measure the resistance between terminals A and B of the WSS.

Is the resistance within the specified range?

850-1350 ohms

Go to Step 4

Go to Step 7

4

  1. With the J 39200 DMM still connected, select the mV AC scale.
  2. Spin the wheel as fast as you can by hand while monitoring the AC output.

Is the AC voltage greater than the specified value?

100 mV

Go to Step 5

Go to Step 7

5

  1. Disconnect the EBCM/EBTCM harness connector.
  2. Install the J 39700 universal pinout box using the J 39700-25 cable adapter to the EBCM/EBTCM harness connector only.
  3. Using the J 39200 DMM, measure resistance between terminals 10 and 26 of the J 39700 .

Is the resistance equal to the specified value?

OL (Infinite)

Go to Step 6

Go to Step 8

6

  1. Reconnect all connectors.
  2. Carefully test drive vehicle above 24 Km/h (15 mph) for at least 30 seconds while monitoring a scan tool.

Does DTC reset as a current DTC?

--

Go to Step 9

Go to Diagnostic System Check

7

Replace the wheel speed sensor. Refer to Wheel Speed Sensor Replacement .

Is the repair complete?

--

Go to Step 10

--

8

Repair the short between CKT 884 and CKT 885. Refer to Wiring Repairs in Wiring Systems.

Is the repair complete?

--

Go to Step 10

--

9

Replace the EBCM/EBTCM. Refer to Electronic Brake Control Module Replacement .

Is the replacement complete?

--

Go to Step 10

--

10

Carefully test drive vehicle above 24 Km/h (15 mph) while monitoring a scan tool for at least 30 seconds.

Does the DTC set as a current DTC?

--

Go to Step 2

Go to Diagnostic System Check