GM Service Manual Online
For 1990-2009 cars only

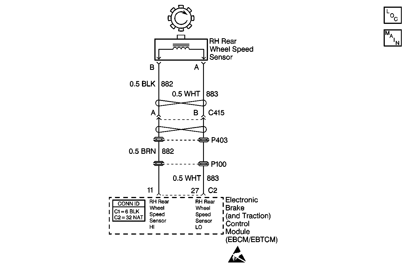
Object Number: 375184  Size: MF
ABS Components
Cell 44: Wheel Speed Sensors and Variable Effort Steering Actuator
Handling ESD Sensitive Parts Notice

Circuit Description

The WSS a single point magnetic pickup that produces an AC signal. The EBCM/EBTCM uses the signal frequency in order to calculate the wheel speed.

Conditions for Setting the DTC

The ignition is in the RUN position and the EBCM/EBTCM senses an open, a short to ground, or a short to battery in the RR WSS circuit

Action Taken When the DTC Sets

    • A DTC C1235 is stored
    • The ABS/TCS is disabled
    • The ABS and the TRACTION OFF indicators are turned on

Conditions for Clearing the DTC

    • The condition for the DTC is no longer present and the scan tool clear DTC function is used
    • 50 ignition cycles have passed with no DTCs detected

Diagnostic Aids

    • Thoroughly inspect the wiring and the connectors. Failure to carefully and fully inspect the wiring and the connectors can result in misdiagnosis. Misdiagnosis may cause replacement of parts without repairing the malfunction.
    • The following conditions may cause an intermittent malfunction:
       - Poor connections
       - Broken insulation
       - A broken wire inside the insulation
    • If an intermittent malfunction exists, refer to Intermittents and Poor Connections Diagnosis in Wiring Systems.

Test Description

The numbers below refer to step numbers on the diagnostic table.

  1. Checks for an open in the WSS or WSS CKT.

  2. Checks for a short to ground in the WSS or WSS CKT.

  3. Checks for a short to voltage in the WSS CKT.

  4. Checks for a short to voltage in the WSS CKT.

DTC C1235 RR wheel speed sensor Circuit Open or Shorted

Step

Action

Value(s)

Yes

No

1

Was the Diagnostic System Check performed?

--

Go to Step 2

Go to Diagnostic System Check

2

  1. Inspect the WSS wiring and connectors for damage.
  2. Inspect the WSS for looseness or damage.

Is physical damage of sensor evident?

--

Go to Step 3

Go to Step 4

3

Repair as necessary. Refer to Wiring Repairs in Wiring Systems.

Is the repair complete?

--

Go to Diagnostic System Check

--

4

  1. Turn the ignition switch to the OFF position.
  2. Disconnect the EBCM/EBTCM.
  3. Install the J 39700 universal pinout box using the J 39700-25 cable adapter to the EBCM/EBTCM harness connector only.
  4. Using the J 39200 DMM, measure the resistance between terminals 27 and 11 of the J 39700 .

Is the resistance within the specified range?

850-1350ohms

Go to Step 12

Go to Step 5

5

  1. Disconnect the RR wheel speed sensor.
  2. Using the J 39200 DMM, measure the resistance between terminals A and B of the wheel speed sensor connector.

Is the resistance within the specified range?

850-1350 ohms

Go to Step 6

Go to Step 11

6

  1. Connect a jumper between the RR wheel speed sensor harness connector terminal B and ground.
  2. Using the J 39200 DMM, measure the resistance between terminals 11 and B of the J 39700 .

Is the resistance less than the specified value?

5 ohms

Go to Step 8

Go to Step 7

7

Repair CKT 882 for an open or high resistance. Refer to Wiring Repairs in Wiring Systems.

Is the repair complete?

--

Go to Diagnostic System Check

--

8

  1. Connect a jumper between the RR wheel speed sensor harness connector terminal A and ground.
  2. Using the J 39200 DMM, measure the resistance between terminals 27 and B of the J 39700 .

Is the resistance less than the specified value?

5 ohms

Go to Step 10

Go to Step 9

9

Repair CKT 883 for an open or high resistance. Refer to Wiring Repairs in Wiring Systems.

Is the repair complete?

--

Go to Diagnostic System Check

--

10

Malfunction is intermittent. Inspect all connectors and harnesses for damage that may result in an open or high resistance when connected. Refer to Intermittents and Poor Connections Diagnosis in Wiring Systems.

Is the repair complete?

--

Go to Diagnostic System Check

--

11

Replace the wheel speed sensor. Refer to Wheel Speed Sensor Replacement .

Is the replacement complete?

--

Go to Diagnostic System Check

--

12

Using the J 39200 DMM, measure the resistance between terminals 27 and B of the J 39700 .

Is the resistance equal to the specified value?

OL (infinite)

Go to Step 19

Go to Step 13

13

  1. Disconnect the RR wheel speed sensor.
  2. Using the J 39200 DMM, measure the resistance between terminal A and ground of the wheel speed sensor connector.

Is the resistance equal to the specified value?

OL (infinite)

Go to Step 14

Go to Step 11

14

Using the J 39200 DMM, measure the resistance between terminals 11 and B of the J 39700 .

Is the resistance equal to the specified value?

OL (infinite)

Go to Step 16

Go to Step 15

15

Repair CKT 882 for a short to ground. Refer to Wiring Repairs in Wiring Systems.

Is the repair complete?

--

Go to Diagnostic System Check

--

16

Using the J 39200 DMM, measure the resistance between terminals 27 and B of the J 39700 .

Is the resistance equal to the specified value?

OL (infinite)

Go to Step 17

Go to Step 18

17

Malfunction is intermittent. Inspect all connectors and harnesses for damage that may result in a short to ground when connected. Refer to Intermittents and Poor Connections Diagnosis in Wiring Systems.

Is the repair complete?

--

Go to Diagnostic System Check

--

18

Repair CKT 883 for a short to ground. Refer to Wiring Repairs in Wiring Systems.

Is the repair complete?

--

Go to Diagnostic System Check

--

19

  1. Disconnect the RR wheel speed sensor.
  2. Turn the ignition switch to the RUN position, engine off.
  3. Using the J 39200 DMM, measure the voltage at terminal 11 of the J 39700 .

Is the voltage greater than the specified value?

1 V

Go to Step 20

Go to Step 21

20

Repair CKT 882 for a short to voltage. Refer to Wiring Repairs in Wiring Systems.

Is the repair complete?

--

Go to Diagnostic System Check

--

21

Using the J 39200 DMM, measure the voltage at terminal 27 of the J 39700 .

Is the voltage greater than the specified value?

1 V

Go to Step 22

Go to Step 23

22

Repair CKT 883 for a short to voltage. Refer to Wiring Repairs in Wiring Systems.

Is the repair complete?

--

Go to Diagnostic System Check

--

23

Replace the EBCM/EBTCM. Refer to Electronic Brake Control Module Replacement .

Is the replacement complete?

--

Go to Diagnostic System Check

--