GM Service Manual Online
For 1990-2009 cars only
Makes
🢒
Oldsmobile
🢒
1999
🢒
Shelby Series 1
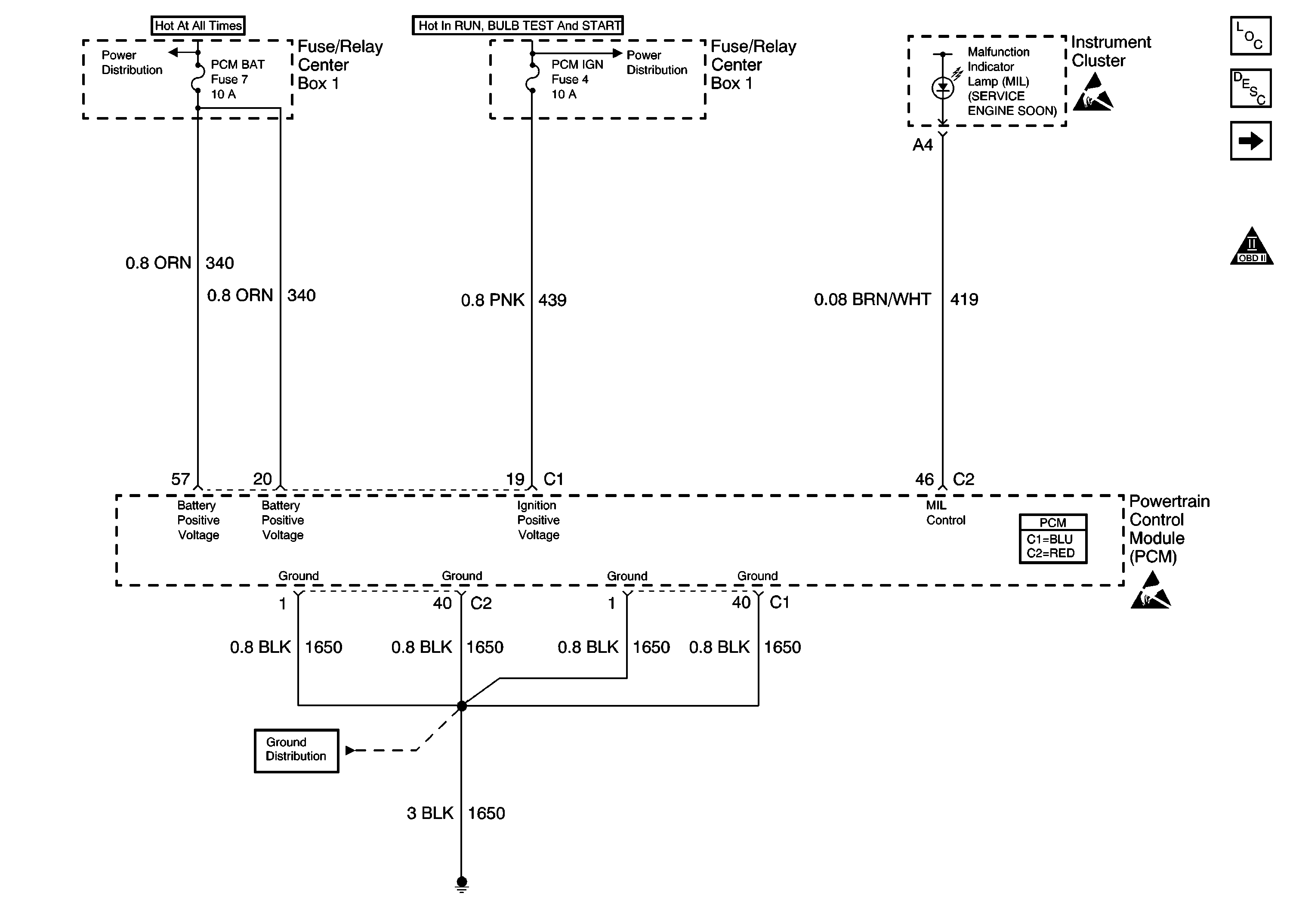
🢒 Power, Ground and MIL
Power, Ground and MIL
Power, Ground and MIL
Engine Controls Components
Powertrain Control Module Description
Data Link Connector (DLC)
OBD II Symbol Description Notice
Powertrain Control Module Connector End Views
Handling ESD Sensitive Parts Notice
Handling ESD Sensitive Parts Notice