GM Service Manual Online
For 1990-2009 cars only

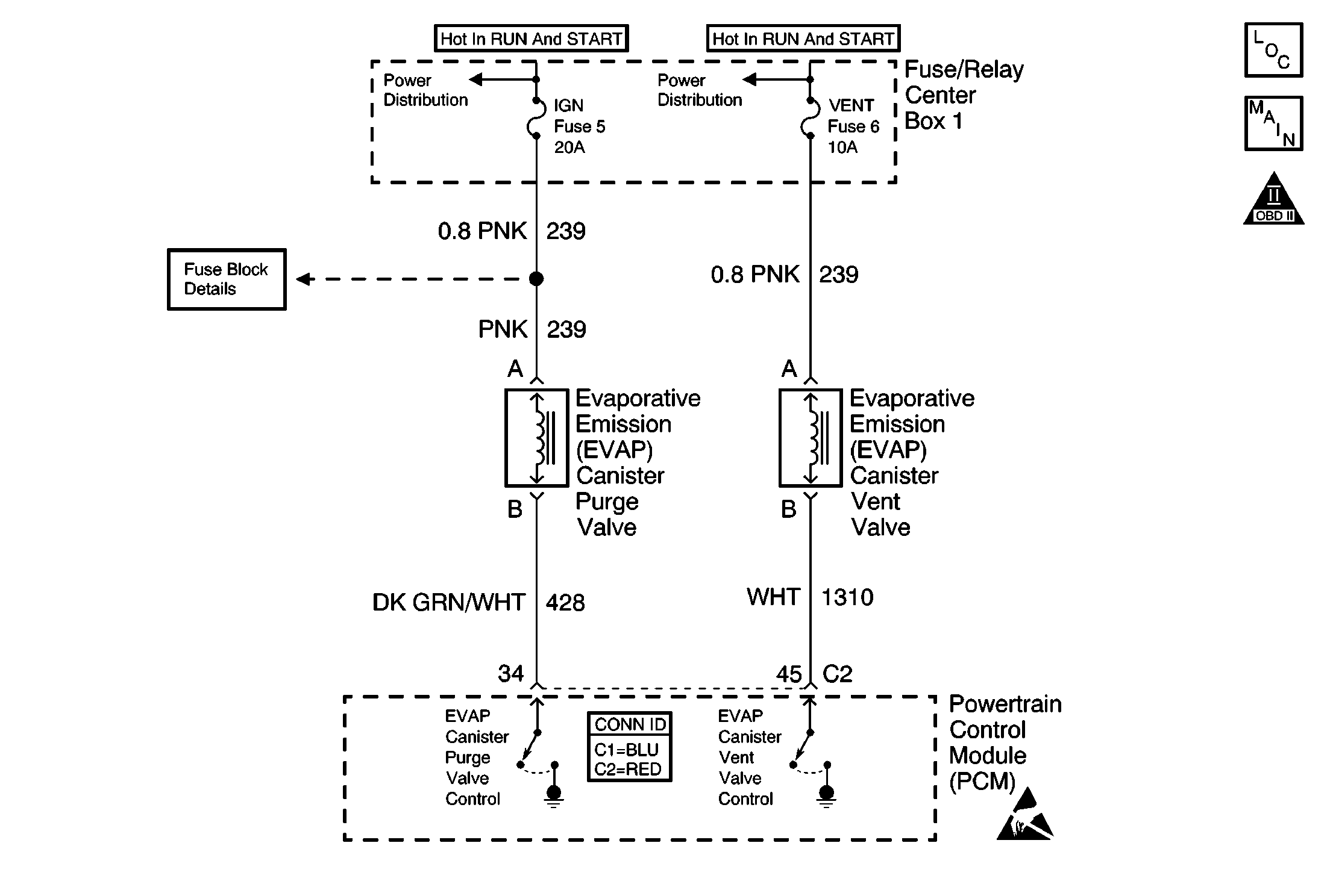
Object Number: 626209  Size: MF
Engine Controls Components
EVAP and ECT
OBD II Symbol Description Notice
Powertrain Control Module Connector End Views
Handling ESD Sensitive Parts Notice

Circuit Description

A voltage is supplied directly to the evaporative emission (EVAP) canister purge valve. The powertrain control module (PCM) controls the solenoid by grounding the control circuit via an internal switch called a driver. The primary function of the driver is to supply the ground for the controlled component. Each driver has a fault line which the PCM monitors. The voltage of the control circuit should be near 0 volts when the PCM commands a component ON. The voltage potential of the circuit should be near the battery voltage when the PCM commands the control circuit to a component OFF. If the fault detection circuit senses a voltage other than what the PCM expects, the fault line status changes causing the DTC to set. The EVAP purge solenoid valve is pulse width modulated (PWM). The PCM controls the EVAP purge solenoid valve duty cycle by controlling the amount of solenoid purge valve ON time. The scan tool displays the amount of ON time in a percentage. This value is the amount of available vacuum that will be applied to the EVAP system.

Conditions for Running the DTC

    • The engine speed is more than 400 RPM.
    • The ignition voltage is between 6.0 volts and 18.0 volts.

Conditions for Setting the DTC

    • The PCM detects that the commanded state of the driver and the actual state of the control circuit do not match.
    • The conditions are present for a minimum of 5.0 seconds.

Action Taken When the DTC Sets

    • The powertrain control module (PCM) stores the DTC information into memory when the diagnostic runs and fails.
    • The malfunction indicator lamp (MIL) will not illuminate.
    • The PCM records the operating conditions at the time the diagnostic fails. The PCM stores this information in the Failure Records.

Conditions for Clearing the DTC

    • A last test failed, or current DTC, clears when the diagnostic runs and does not fail.
    • A history DTC will clear after 40 consecutive warm-up cycles, if no failures are reported by this or any other non-emission related diagnostic.
    • Use a scan tool in order to clear the DTC.

Diagnostic Aids

Important: 

   • Remove any debris from the PCM connector surfaces before servicing the PCM. Inspect the PCM connector gaskets when diagnosing or replacing the PCM. Ensure that the gaskets are installed correctly. The gaskets prevent contaminate intrusion into the PCM.
   • For any test that requires probing the PCM or a component harness connector, use the J 35616 connector test adapter kit. Using this kit prevents damage to the harness component terminals. Refer to Using Connector Test Adapters in Wiring Systems.

    • Test the solenoid ignition feed circuit and control circuit for excessive resistance if an audible click cannot be heard when the solenoid is commanded ON and OFF.
    • For an intermittent, refer to Symptoms .

Test Description

The numbers below refer to the step numbers on the diagnostic table.

  1. Listen for an audible click when the solenoid operates. Be sure that both the ON and the OFF states are commanded. Repeat the commands as necessary. The fuel tank pressure sensor parameter on the scan tool can also be used to determine if the EVAP purge solenoid is operating. You should be able to see the pressure or vacuum change when you command the solenoid on.

  2. This step tests for voltage at the EVAP purge solenoid. The ENG IGN fuse supplies power to the coil side of the EVAP purge solenoid.

  3. This step verifies that the PCM is providing ground to the EVAP purge solenoid.

  4. This step tests if a ground is constantly being applied to the EVAP purge solenoid.

Step

Action

Values

Yes

No

1

Did you perform the Powertrain On-Board Diagnostic (OBD) System Check?

--

Go to Step 2

Go to Powertrain On Board Diagnostic (OBD) System Check

2

  1. Idle the engine at the normal operating temperature.
  2. With the scan tool, command the solenoid to 50 percent and then to 0 percent.

Does the solenoid respond to the commanded positions?

--

Go to Step 3

Go to Step 4

3

  1. Review the Freeze Frame and/or Failure records data for this DTC.
  2. Turn OFF the ignition for 30 seconds.
  3. Start the engine.
  4. Operate the vehicle within the Conditions for Running the DTC as specified in the supporting text or as close to the Freeze Frame and/or Failure records data that you observe.

Does this DTC reset?

--

Go to Step 4

Go to Intermittent Conditions

4

  1. Turn OFF the ignition.
  2. Disconnect the EVAP purge solenoid.
  3. Turn On the ignition, with the engine OFF.
  4. Probe the coil side feed circuit of the EVAP purge solenoid with a test lamp connected to a good ground.

Does the test lamp illuminate?

--

Go to Step 5

Go to Step 11

5

  1. Connect a test lamp between the control circuit of the EVAP purge solenoid and the coil side feed circuit of the EVAP purge solenoid.
  2. With a scan tool, command the EVAP purge solenoid to 50 percent and then to 0 percent.

Does the test lamp respond to each scan tool command?

--

Go to Step 9

Go to Step 6

6

Does the test lamp remain illuminated with each command?

--

Go to Step 8

Go to Step 7

7

  1. Test the control circuit of the EVAP purge solenoid for a short to voltage or an open. Refer to Testing for Short to Ground in Wiring Systems.
  2. If you find a condition, repair as necessary. Refer to Wiring Repairs in Wiring Systems.

Did you find and correct the condition?

--

Go to Step 14

Go to Step 10

8

  1. Test the control circuit of the EVAP purge solenoid for a short to ground. Refer to Testing for Short to Ground in Wiring Systems.
  2. If you find a condition, repair as necessary. Refer to Wiring Repairs in Wiring Systems.

Did you find and correct the condition?

--

Go to Step 14

Go to Step 13

9

  1. Inspect for poor at the connections at the solenoid. Refer to Intermittents and Poor Connections Diagnosis in Wiring Systems.
  2. If you find a poor connection repair the terminal as necessary. Refer to Repairing Connector Terminals in Wiring Systems.

Did you find and correct the condition?

--

Go to Step 14

Go to Step 12

10

  1. Inspect for poor at the connections at the PCM. Refer to Intermittents and Poor Connections Diagnosis in Wiring Systems.
  2. If you find a poor connection repair the terminal as necessary. Refer to Repairing Connector Terminals in Wiring Systems.

Did you find and correct the condition?

--

Go to Step 14

Go to Step 13

11

Repair the coil side feed circuit of the EVAP purge solenoid. Refer to Wiring Repairs in Wiring Systems.

Is the action complete?

--

Go to Step 14

--

12

Replace the solenoid. Refer to Evaporative Emission Canister Purge Solenoid Replacement .

Is the action complete?

--

Go to Step 14

--

13

Important: The replacement PCM must be programmed.

Replace the PCM. Refer to Powertrain Control Module Replacement/Programming .

Is the action complete?

--

Go to Step 14

--

14

  1. Use a scan tool in order to clear the DTCs.
  2. Operate vehicle within the Conditions for Running the DTC as specified in the supporting text.

Does the DTC reset?

--

Go to Step 2

Go to Step 15

15

With a scan tool, review the stored information or capture info.

Does the scan tool display any DTCs that you have not diagnosed?

--

Go to Diagnostic Trouble Code (DTC) List

System OK