GM Service Manual Online
For 1990-2009 cars only

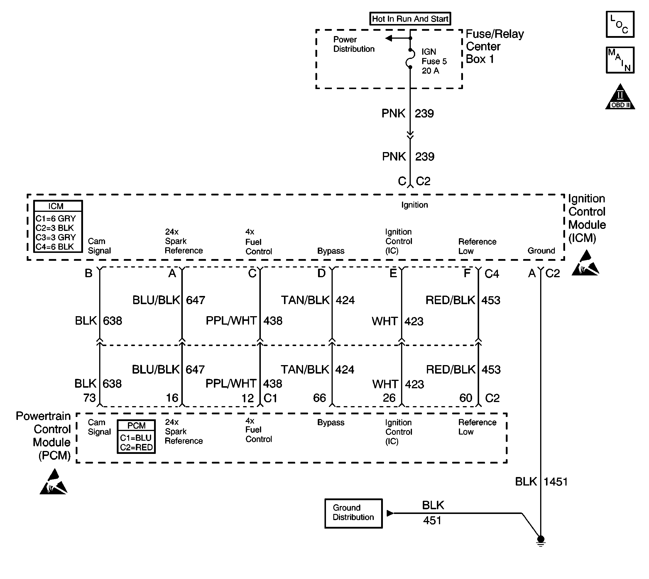
Object Number: 626200  Size: LF
Engine Controls Components
Ignition Control Module
OBD II Symbol Description Notice
Powertrain Control Module Connector End Views
Handling ESD Sensitive Parts Notice
Handling ESD Sensitive Parts Notice

Circuit Description

Under normal system operation when the key is turned ON and until engine RPM is high enough for the powertrain control module (PCM) to control spark, the PCM will open the bypass circuit to the ignition control module (ICM). The ICM will then ground the ignition control circuit. This is called module mode because the IC module is controlling spark. Once the engine speed is high enough, about 65 RPM, 4X reference pulses are received and no PCM faults are detected, the PCM will close the bypass line and in response the IC module will unground the IC circuit. This allows PCM control of spark. This is called the ignition control mode. This diagnostic test is used to check for faults in both the bypass circuit and the IC circuit. To inspect both circuits, this diagnostic runs two tests, one during crank and one while running. If ignition control pulses are detected by the PCM on the IC line while in module mode, cranking, or if no ignition control pulses are detected by the PCM while in ignition control mode, running, DTC P1350 will set.

Conditions for Running the DTC

    •  Cranking test: At least 1 4X reference pulse has been received by the PCM.
    •  Running test
       -  DTC P0322 is not set.
       -  At least 1 4X reference pulse has been received by the PCM.

Conditions for Setting the DTC

    •  Cranking test
         Ignition control pulses are received by the PCM when cranking or running test has failed THIS ignition cycle.
    •  Running test
        No Ignition control pulses are received by the PCM while engine is running.

Action Taken When the DTC Sets

    •  PCM ignition control is disabled for ignition cycle.
    •  The PCM will illuminate the malfunction indicator lamp (MIL) when the diagnostic runs and fails.
    •  The PCM will record operating conditions at the time the diagnostic fails. This information will be stored in the Freeze Frame and Failure Records.

Conditions for Clearing the MIL/DTC

    •  The PCM will turn the MIL OFF after three consecutive drive trips that the diagnostic runs and does not fail.
    •  A last test failed, or current DTC, will clear when the diagnostic runs and does not fail.
    •  A History DTC will clear after forty consecutive warm-up cycles with no failures of any emission related diagnostic test.
    • Use a scan tool to clear DTCs.
    • Interrupting PCM battery voltage may or may not clear DTCs. This practice is not recommended. Refer to Clearing Diagnostic Trouble Codes in Powertrain Control Module Description .

Diagnostic Aids

If fault is not present inspect terminal contact at the ICM and PCM connectors.

Test Description

The numbers below refer to the step numbers on the diagnostic table.

  1. When checking for shorts to ground, resistance of more than 10,000 ohms is usually acceptable although most readings should be infinite (OL).

    When checking for circuit continuity or opens, resistance should be 5 ohms or less.

    When checking for shorts to voltage take measurements with the ignition ON and OFF.

    Disconnect the circuit from all components before performing any circuit check.

    Always check or zero the meter before performing resistance checks.

  2. A diagnostic jumper can be created with the terminals supplied in the J-38125 terminal repair kit. Assemble the jumpers and terminals and cover the exposed terminals with heat shrink tubing. Do not cover the spade of the male terminals.

    If the vehicle stalls during this step, turn the ignition OFF and wait 30 seconds, then restart the engine before attempting to measure the circuit voltage.

  3. If the vehicle stalls during this step, turn the ignition OFF and wait 30 seconds, then restart the engine before attempting to measure the circuit voltage.

Step

Action

Values

Yes

No

1

Did you perform the Powertrain On-Board Diagnostic (OBD) System Check?

--

Go to Step 2

Go to the Powertrain On Board Diagnostic (OBD) System Check

2

Are DTCs P0322, P0372, P1323, P1361 or P1371 also set?

--

Go to the DTCs that are set

Go to Step 3

3

  1. Turn the ignition OFF.
  2. Wait 30 seconds.
  3. Turn the ignition ON but do not crank the engine.
  4. Using the scan tool, store the snapshot info for DTC P1350 and then clear DTC P1350.
  5. After clearing the DTC start and idle the engine.

Does P1350 fail this ignition?

--

Go to Step 4

Go to Diagnostic Aids

4

  1. Turn the ignition OFF.
  2. Wait 30 seconds.
  3. Disconnect the PCM connector C2 and ICM connector C4.
  4. Using the DMM, check the bypass and ignition control circuits for high resistance, shorts to ground, shorts to voltage and shorts to other circuits. Refer to Test Descriptions .
  5. Repair circuits as needed.

Was a repair made to any circuit?

--

Go to Step 13

Go to Step 5

5

  1. Reconnect the PCM connector C2.
  2. Turn the ignition ON but DO NOT crank the engine.
  3. Using the DMM measure the DC voltage to ground on the bypass circuit and then the ignition control circuit.

Is the voltage less than the value specified?

1.0 V

Go to Step 6

Go to Step 11

6

  1. Turn the ignition OFF.
  2. Wait 30 seconds.
  3. Install diagnostic jumper at IC module C4.
  4. OR:

    • Jumper C4 terminal A to module pin A.
    • Jumper C4 terminal B to module pin B.
    • Jumper C4 terminal C to module pin C.
    • Jumper C4 terminal D to module pin D.
    • Jumper C4 terminal E to module pin E.
    • Jumper C4 terminal F to module pin F.
  5. Disconnect the ignition control and bypass circuit jumpers (terminals D and E). Ensure jumpers are away from contacting other circuits, engine ground or each other.
  6. Start and idle the engine.
  7. Measure the DC voltage to ground on the ignition control circuit FROM the PCM.

Is the voltage fixed near the value specified?

1.7 V

Go to Step 7

Go to Step 11

7

Measure the DC voltage to ground on the bypass circuit FROM the PCM.

Is the voltage less than the value specified?

1.0 V

Go to Step 8

Go to Step 11

8

  1. Momentarily ground the ignition control circuit.
  2. Measure the DC voltage to ground on the bypass circuit FROM the PCM.

Is the voltage the same or more than the value specified?

4.7 V

Go to Step 9

Go to Step 11

9

  1. Check terminal contact at the ICM connector C4.
  2. Repair terminal contact if needed.

Was terminal contact repaired?

--

Go to Step 13

Go to Step 10

10

Replace the ICM. Refer to Ignition Control Module Replacement .

Is the replacement complete?

--

Go to Step 13

--

11

  1. Check terminal contact at PCM connector C2.
  2. Repair terminal contact if needed.

Was terminal contact repaired?

--

Go to Step 13

Go to Step 12

12

Important: The replacement PCM must be programmed.

Replace the PCM. Refer to Powertrain Control Module Replacement/Programming .

Is the replacement complete?

--

Go to Step 13

--

13

  1. Select the Diagnostic Trouble Code (DTC) option and the Clear DTC Information option using the scan tool.
  2. Idle the engine at the normal operating temperature.
  3. Select the Diagnostic Trouble Code (DTC) option and the Specific DTC option, then enter the DTC number using the scan tool.
  4. Operate the vehicle within the Conditions for Running the DTC as specified in the supporting text, if applicable.

Does the scan tool indicate that this diagnostic ran and passed?

--

Go to Step 14

Go to Step 2

14

Select the Capture Info option and the Review Info option using the scan tool.

Does the scan tool display any DTCs that you have not diagnosed?

--

Go to the applicable DTC table

System OK