GM Service Manual Online
For 1990-2009 cars only

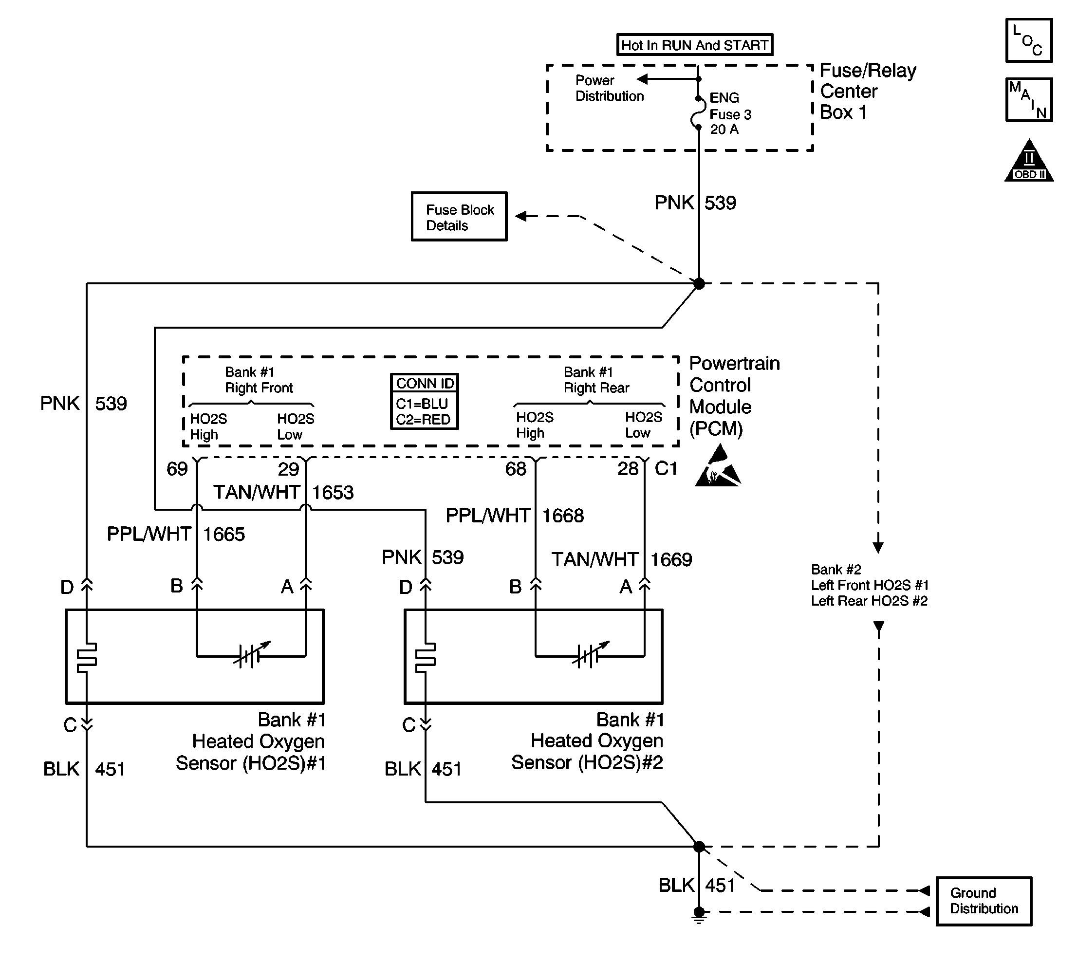
Object Number: 626197  Size: LF
Engine Controls Components
Heated Oxygen Sensors
OBD II Symbol Description Notice
Powertrain Control Module Connector End Views
Handling ESD Sensitive Parts Notice

Circuit Description

The powertrain control module (PCM) monitors the heated oxygen sensor (HO2S) activity. During the monitor period, the PCM counts the number of times that the HO2S responds from rich to lean and from lean to rich and adds the amount of time it took to complete all transitions. With this information, an average time for all transitions can be determined. The PCM then divides the rich to lean average by the lean to rich average to obtain a ratio. A DTC P1134 sets if the HO2S ratio is not within range.

Conditions for Running the DTC

    • DTCs P0101, P0102, P0103, P0112, P0113, P0117, P0118, P0121, P0122, P0123, P0125, P0200, P0506 and P0507 are not set.
    • The fuel system is operating in Closed Loop.
    • The engine run time is more than 120 seconds.
    • The engine speed is more than 1,000 RPM but less than 2,300 RPM.
    • The ignition voltage is more than 9.0 volts.
    • The engine coolant temperature is more than 50°C (122°F).
    • The mass air flow (MAF) is between 20 g/s and 50 g/s.
    • The evaporative emission (EVAP) purge duty cycle is more than 0 percent.

Conditions for Setting the DTC

The PCM determines that the HO2S transition time ratio is not at the expected value.

Action Taken When the DTC Sets

    • The powertrain control module (PCM) stores the DTC information into memory when the diagnostic runs and fails.
    • The malfunction indicator lamp (MIL) will not illuminate.
    • The PCM records the operating conditions at the time the diagnostic fails. The PCM stores this information in the Failure Records.

Conditions for Clearing the DTC

    • A last test failed, or current DTC, clears when the diagnostic runs and does not fail.
    • A history DTC will clear after 40 consecutive warm-up cycles, if no failures are reported by this or any other non-emission related diagnostic.
    • Use a scan tool in order to clear the DTC.

Diagnostic Aids

Important: 

   • Remove any debris from the PCM connector surfaces before servicing the PCM. Inspect the PCM connector gaskets when diagnosing or replacing the PCM. Ensure that the gaskets are installed correctly. The gaskets prevent contaminate intrusion into the PCM.
   • For any test that requires probing the PCM or a component harness connector, use the J 35616 connector test adapter kit. Using this kit prevents damage to the harness and component terminals. Refer to Using Connector Test Adapters in Wiring Systems.

    • The following may cause an intermittent:
       - Poor connections -- Refer to Intermittents and Poor Connections Diagnosis in Wiring Systems.
       - Corrosion
       - Mis-routed harness
       - Rubbed through wire insulation
       - Broken wire inside the insulation
    • An oxygen supply inside the HO2S is necessary for proper operation. This supply of oxygen is provided through the HO2S wires. All HO2S wires and connections should be inspected for breaks or contamination. Refer to Heated Oxygen Sensor Wiring Repairs in Wiring Systems.
    •  For an intermittent condition, refer to Symptoms .

Test Description

The numbers below refer to the step numbers on the diagnostic table.

  1. This step determines if the fault is present. This test may take 5 minutes for the diagnostic to run.

  2. When DTCs P1134 and P1154 are set at the same time, it is a good indication that a fuel contamination condition is present.

  3. An exhaust leak 6-12 inches away from the HO2S can cause a DTC to set.

  4. This step tests whether a good ground circuit is available.

  5. This step tests the integrity of the signal circuit to the PCM.

  6. This step tests the integrity of the signal circuit to the PCM.

  7. Certain RTV silicone gasket materials give off vapors that can contaminate the HO2S. There is also a possibility of silicone contamination caused by silicone in the fuel. If the sensors appear to be contaminated by silicone and all the silicone sealant is a non silicone base, advise the customer to try a different fuel company. A missing fuel filler restrictor indicates the customer may have used leaded fuel.

Step

Action

Values

Yes

No

1

Did you perform the Powertrain On-Board Diagnostic (OBD) System Check?

--

Go to Step 2

Go to Powertrain On Board Diagnostic (OBD) System Check

2

Important: If any DTCs are set, except P1154, refer to those DTCs before proceeding with this diagnostic table.

  1. Install a scan tool.
  2. Idle the engine at the normal operating temperature.
  3. Operate the vehicle within the parameters specified under Conditions for Running the DTC in the supporting text.
  4. Monitor the Diagnostic Trouble Code (DTC) Information using the scan tool.

Did DTC P1134 fail this ignition?

--

Go to Step 3

Go to Diagnostic Aids

3

Did DTC P1154 also fail this ignition?

--

Go to Step 8

Go to Step 4

4

  1. Inspect for an exhaust system leak. After you inspect the exhaust system, return to this diagnostic.
  2. If you find an exhaust leak, repair the exhaust leak as necessary.

Did you isolate an exhaust leak?

--

Go to Step 14

Go to Step 5

5

Visually and physically inspect the following items:

    • Ensure that the HO2S is securely installed.
    • Inspect for corrosion on the terminals.
    • Test the terminal tension at the HO2S and at the PCM. Refer to Intermittents and Poor Connections Diagnosis in Wiring Systems.
    • Inspect for damaged wiring.

Did you find and correct the condition?

--

Go to Step 14

Go to Step 6

6

  1. Disconnect the HO2S.
  2. Jumper the PCM side of the HO2S low circuit to a known good ground.
  3. Monitor the HO2S voltage on the Engine 1 Data List using the scan tool.

Does the scan tool indicate a voltage within the specified range?

350-550 mV

Go to Step 7

Go to Step 10

7

  1. Jumper the PCM side of the HO2S high and low signal circuits to a battery ground.
  2. Monitor the HO2S voltage using the scan tool.

Does the scan tool indicate a voltage below the specified value?

200 mV

Go to Step 13

Go to Step 9

8

Important: Determine and correct the cause of the contamination before replacing a sensor. Inspect for the following conditions:

   • Fuel contamination
   • Use of improper RTV sealant
   • Engine oil or coolant consumption

Replace the affected HO2S. Refer to Heated Oxygen Sensor Replacement - Bank 2 Sensor 1 and/or Heated Oxygen Sensor Replacement - Bank 2 Sensor 2 .

Is the action complete?

--

Go to Step 14

--

9

  1. Remove the jumper wire from the HO2S low circuit.
  2. Measure the voltage from the HO2S low signal circuit to a battery ground using the DMM. Refer to Measuring Voltage in Wiring Systems.

Does the DMM indicate a voltage near the specified value?

5 V

Go to Step 12

Go to Step 11

10

Repair the high signal circuit for a short to ground or shorted to a voltage. Refer to Heated Oxygen Sensor Wiring Repairs in Wiring Systems.

Is the action complete?

--

Go to Step 14

--

11

Repair the open HO2S low circuit or repair the faulty PCM connections. Refer to Heated Oxygen Sensor Wiring Repairs in Wiring Systems.

Is the action complete?

--

Go to Step 14

--

12

Repair the HO2S high signal circuit for an open or repair the faulty PCM connections. Refer to Heated Oxygen Sensor Wiring Repairs in Wiring Systems.

Is the action complete?

--

Go to Step 14

--

13

Replace the HO2S. Refer to Heated Oxygen Sensor Replacement - Bank 2 Sensor 1 .

Is the action complete?

--

Go to Step 14

--

14

  1. Select the Diagnostic Trouble Code (DTC) option and the Clear DTC Information option using the scan tool.
  2. Idle the engine at the normal operating temperature.
  3. Select the Diagnostic Trouble Code (DTC) option and the Specific DTC option, then enter the DTC number using the scan tool.
  4. Operate the vehicle within the Conditions for Running the DTC as specified in the supporting text, if applicable.

Does the scan tool indicate that this test ran and passed?

--

Go to Step 15

Go to Step 2

15

Select the Capture Info option and the Review Info option using the scan tool.

Does the scan tool display any DTCs that you have not diagnosed?

--

Go to the applicable DTC table

System OK