GM Service Manual Online
For 1990-2009 cars only

DOOR RATTLE INSTALL NEW RIVET/FOAM TAPE

MODELS YEARS 1990 TORONADO

This bulletin cancels and supercedes Dealer TechniGal Bulletin 90-T-32A which may be discarded.

Some 1990 Toronados may experience a condition of a rattle from the front door during closing. This condftion may be caused by any one of the following:

Lock module rattle

Lock rod to lock module rattle

Rear glass run channel rattle

Remove the door trim panel and plastic water deflector paper and diagnose the source of the door rattle.

To repair the lock module rattle condition use the following procedure:

1. Drill and insert an additional 3/16" x 1/8" rivet to the location specified in Figure 1.

2. Install the plastic water deflector paper and install the door trim panel.

To repair the lock rod to lock module rattle condftion use the following procedure:

1. Install 3/4" x 1/8" foam tape, 3M P/N 021200-06370 or equivalent to the areas shaded in Figure 1.

NOTE: Ensure that the module surface is clean and dry before applying the foam tape.

2. Install the plastic water deflector paper and install the door trim panel.

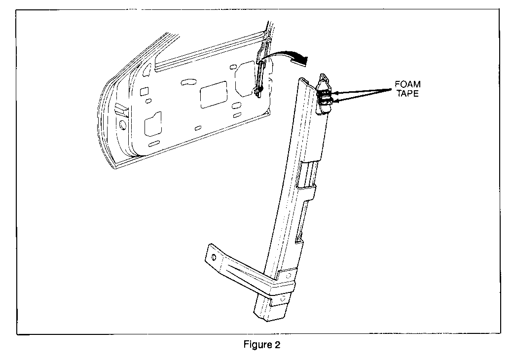
To repair the rear glass run channel rattle condition use the following procedure:

1. Remove the rear glass run channel using the removal procedure on page 10-6-14 of the Oldsmobile Trofeo/Toronado Service Information Manual.

2. Using 3/4" x 1/8" foam tape, 3M P/N 021200-03670 or equivalent, wrap the upper retaining hook as shown in Figure 2.

3. Install the rear glass run channel using the installation procedure on page 10-6-15 of the Oldsmobile Trofeo/Toronado Service Information Manual.

WARRANTY INFORMATION:

Labor Operation Labor Trouble Operation Description Number Time Code

Lock Module Rattle (Install New Rivet) Left Side T6405 0.5 Hour 92 Lock Module Rattle (Install New Rivet) Right Side T6406 0.5 Hour 92 Lock Rod to Lock Module Rattle (Install Foam Tape) LH T6457 0.5 Hour 92 Lock Rod to Lock Module Rattle (Install Foam Tape) RH T6456 0.5 Hour 92 Rear Glass Run Channel (Install Foam Tape) LH T6459 0.6 Hour 92 Rear Glass Run Channel (Install Foam Tape) RH T6458 0.6 Hour 92


Object Number: 86254  Size: LF


Object Number: 85713  Size: LF

General Motors bulletins are intended for use by professional technicians, not a "do-it-yourselfer". They are written to inform those technicians of conditions that may occur on some vehicles, or to provide information that could assist in the proper service of a vehicle. Properly trained technicians have the equipment, tools, safety instructions and know-how to do a job properly and safely. If a condition is described, do not assume that the bulletin applies to your vehicle, or that your vehicle will have that condition. See a General Motors dealer servicing your brand of General Motors vehicle for information on whether your vehicle may benefit from the information.