GM Service Manual Online
For 1990-2009 cars only
Makes
🢒
Opel
🢒
2007
🢒
Antara
🢒
Engine
🢒
Engine Exhaust
🢒 Exhaust System Component Views
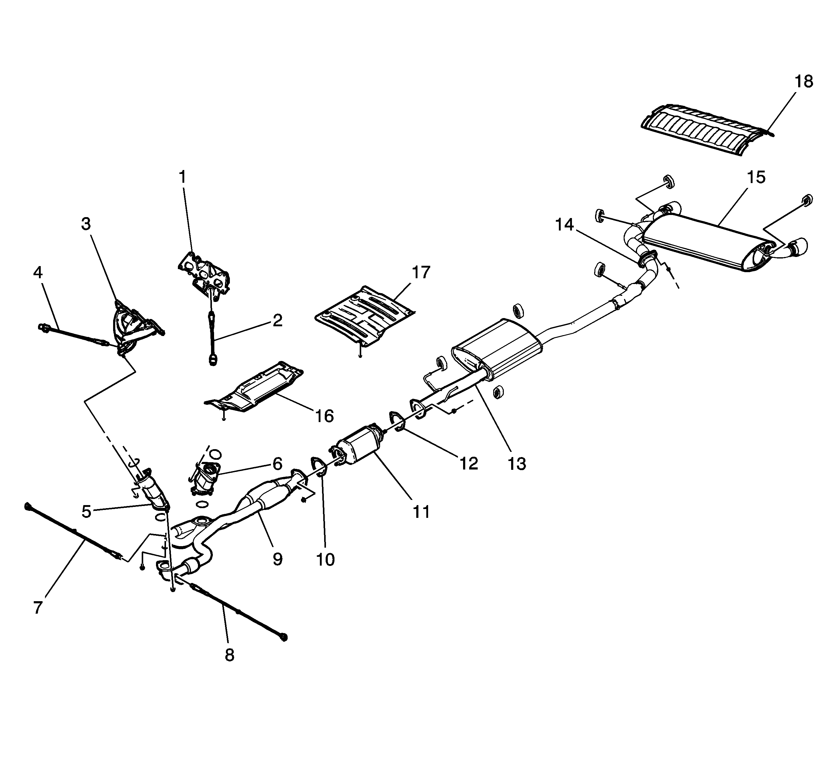
Figure
1:
(1)
Pup Converter
(2)
Exhaust Front Pipe Mounting Bracket
(3)
Exhaust Front Pipe Assembly
(4)
Underbody Catalytic Converter (UCC)
(5)
UCC Heat Shield
(6)
Front Muffler Assembly
(7)
Front Muffler Heat Shield
(8)
Rear Muffler Heat Shields
(9)
Rear Muffler Assembly
Figure
2:
3.2L Exhaust
(1)
Exhaust Manifold, Bank 1
(2)
Upper Heated Oxygen Sensor, Bank 1
(3)
Exhaust Manifold, Bank 2
(4)
Upper Heated Oxygen Sensor, Bank 2
(5)
Pup Converter, Bank 2
(6)
Pup Converter, Bank 1
(7)
Lower Heated Oxygen Sensor, Bank 1
(8)
Lower Heated Oxygen Sensor, Bank 2
(9)
Exhaust Front Pipe
(10)
Exhaust Front Pipe to UCC Gasket
(11)
Underbody Catalytic Converter (UCC)
(12)
UCC to Front Muffler Gasket
(13)
Front Muffler Assembly
(14)
Front Muffler to Rear Muffler Gasket
(15)
Rear Muffler Assembly
(16)
UCC Heat Shield
(17)
Front Muffler Heat Shield
(18)
Rear Muffler Heat Shield