GM Service Manual Online
For 1990-2009 cars only

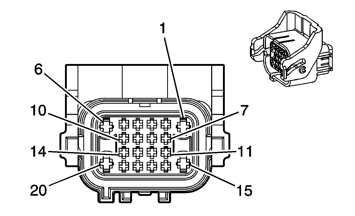
X101 Body Harness to Engine Harness


Object Number: 1869605  Size: CH

Object Number: 1869606  Size: CH

Connector Part Information

  • OEM: 0-1743059-2
  • Service: N/A
  • Description: 36-Way F, MTIII/JPT Sealed (BK)

Connector Part Information

  • OEM: 1743062-2
  • Service: N/A
  • Description: 36-Way M MTIII/JPT Sealed (BK)

X101 Body Harness to Engine Harness

Pin

Wire Color

Circuit No.

Function

Pin

Wire Color

Circuit No.

Function

1

0.5 BU/WH

6548

PTC Heater Supply Voltage

1

0.5 BU/WH

6548

PTC Heater Supply Voltage

2

0.5 WH/BK

1164

APM 5-Volt - 1 Reference

2

0.5 WH/BK

1164

APM 5-Volt - 1 Reference

3

0.5 D-BU

1161

APM Sensor 1 Signal

3

0.5 D-BU

1161

APM Sensor 1 Signal

4

0.5 BN

1271

Low Reference

4

0.5 BN

1271

Low Reference

5

0.5 PU

1272

Low Reference

5

0.5 PU

1272

Low Reference

6

0.5 BK

1162

APM Sensor 2 Signal

6

0.5 BK

1162

APM Sensor 2 Signal

7

0.5 TN

1274

5-Volt Reference

7

0.5 TN

1274

5-Volt Reference

8

0.5 PU

7089

PTC Supply Voltage

8

0.5 PU

7089

PTC Supply Voltage

9

0.5 BN/WH

585

Oil Temperature Sensor Signal

9

0.5 BN/WH

585

Oil Temperature Sensor Signal

10

0.5 OG/BK

586

Oil Temperature Low Reference

10

0.5 OG/BK

586

Oil Temperature Low Reference

11

0.5 OG

1525

Steering Wheel Module Shift Solenoid Supply Voltage (1) (M98)

11

0.5 OG

1525

Steering Wheel Module Shift Solenoid Supply Voltage (1) (M98)

12

0.5 D-BU

1530

Transmission Main Pressure Solenoid 5 Volt Reference (M98)

12

0.5 D-BU

1530

Transmission Main Pressure Solenoid 5 Volt Reference (M98)

13

0.5 D-BU

6253

Trasnsmission Input Speed Sensor Ground (M98)

13

0.5 D-BU

6253

Trasnsmission Input Speed Sensor Ground (M98)

14

0.5 BN/WH

6254

Trasnsmission Input Speed Sensor Signal (M98)

14

0.5 BN/WH

6254

Trasnsmission Input Speed Sensor Signal (M98)

15

0.5 PU/WH

6282

Fuel Level Sensor Signal

15

0.5 PU/WH

6282

Fuel Level Sensor Signal

16

0.5 WH

1526

Steering Wheel Module Shift Solenoid Low Reference(M98)

16

0.5 WH

1526

Steering Wheel Module Shift Solenoid Low Reference(M98)

17

0.5 L-GN

1527

Steering Wheel Module Shift Solenoid Supply Voltage (2) (M98)

17

0.5 L-GN

1527

Steering Wheel Module Shift Solenoid Supply Voltage (2) (M98)

18

0.5 BU

1528

Passenger I/P Module Stage 1 Low Reference

18

0.5 BU

1528

Passenger I/P Module Stage 1 Low Reference

19

0.5 PU

1529

Passenger I/P Module Stage 1 5Volt Reference

19

0.5 PU

1529

Passenger I/P Module Stage 1 5Volt Reference

20

0.35 WH

5503

Low Reference

20

0.35 WH

5503

Low Reference

21

0.5 BN

323

Shift Solenoid Supply Voltage (M98)

21

0.5 BN

323

Shift Solenoid Supply Voltage (M98)

22

0.5 BU/WH

5502

Shift Solenoid Supply Voltage 2 (M98)

22

0.5 BU/WH

5502

Shift Solenoid Supply Voltage 2 (M98)

23

0.5 BN/WH

379

Cruise Control Signal

23

0.5 BN/WH

379

Cruise Control Signal

24

0.5 D-BU

1319

Serial Data K-Line

24

0.5 D-BU

1319

Serial Data K-Line

25

0.5 L-BU

1937

Low Reference

25

0.5 L-BU

1937

Low Reference

26

0.5 BN/WH

6281

Fuel Level Sensor Low Reference

26

0.5 BN/WH

6281

Fuel Level Sensor Low Reference

27

0.5 D-BU

1936

Fuel Level Sensor -- Primary

27

0.5 D-BU

1936

Fuel Level Sensor -- Primary

28

0.5 GY

324

Shift Relay Coil Control

28

0.5 GY

324

Shift Relay Coil Control

29

0.5 YE/BK

6553

PTC Supply Voltage

29

0.5 YE/BK

6553

PTC Supply Voltage

30

0.5 BN/BK

6357

Transmission Output Speed Signal Shield

30

0.5 BN/BK

6357

Transmission Output Speed Signal Shield

31

0.5 PK

6358

Transmission Output Speed Signal

31

0.5 PK

6358

Transmission Output Speed Signal

32

0.5 TN

2501

High Speed GM Lan Serial Data -

32

0.5 TN

2501

High Speed GM Lan Serial Data -

33

0.5 WH/BK

910

PTC Request Signal

33

0.5 WH/BK

910

PTC Request Signal

34

0.5 D-BU

5985

Accessory Wakeup Serial Data

34

0.5 D-BU

5985

Accessory Wakeup Serial Data

35

0.5 TN/BK

2500

High Speed GM Lan Serial Data +

35

0.5 TN/BK

2500

High Speed GM Lan Serial Data +

36

0.5 PK/BK

5501

TCC/Clutch Select Solenoid Control

36

0.5 PK/BK

5501

TCC/Clutch Select Solenoid Control

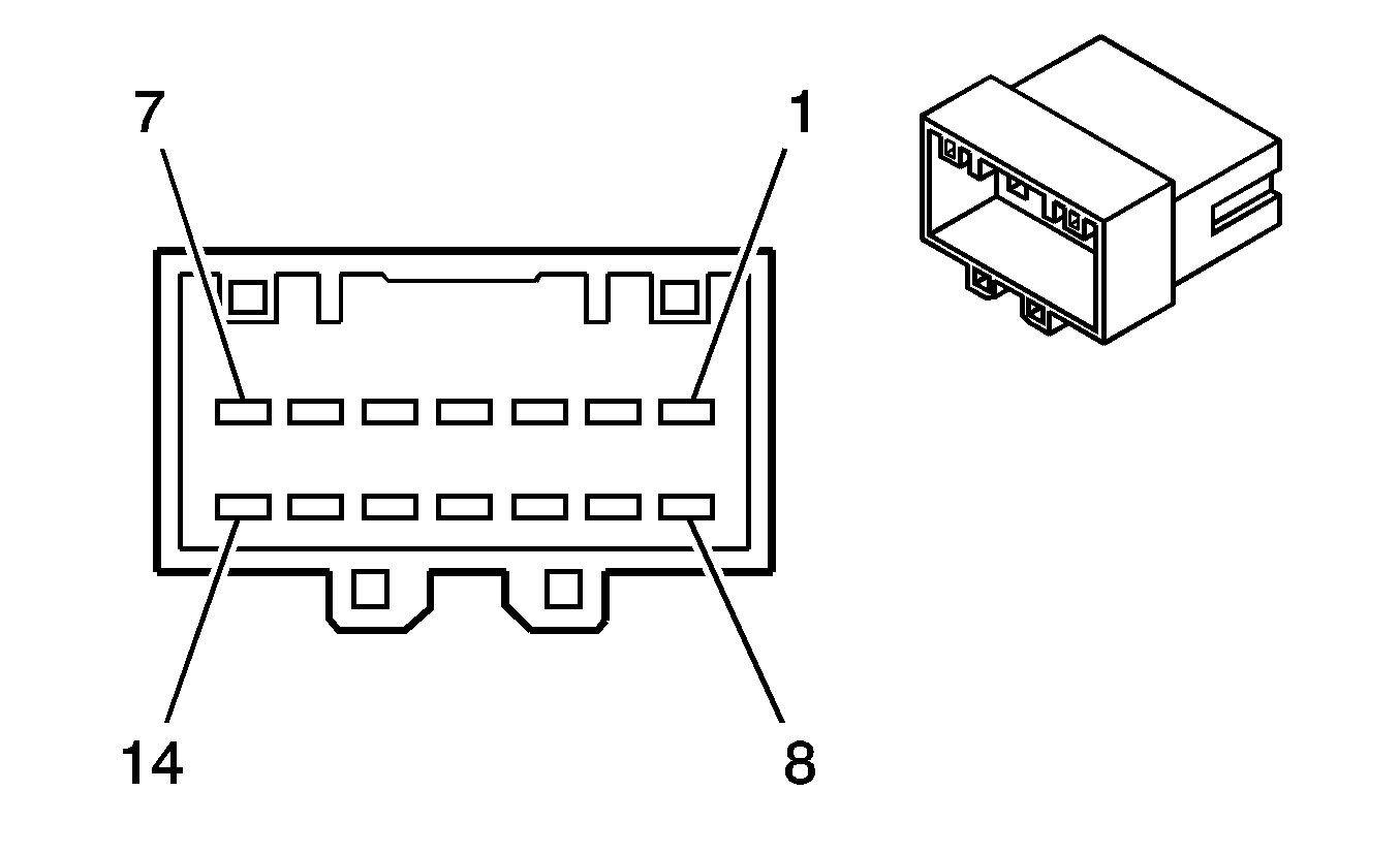
X102 Forward Lamp Harness to Windshield Washer Harness (Without CE4 or T96 or UFR)


Object Number: 831372  Size: CH

Object Number: 831369  Size: CH

Connector Part Information

  • OEM: PED 15326849
  • Service: N/A
  • Description: 12-Way F Sealed

Connector Part Information

  • OEM: PED 15326854
  • Service: N/A
  • Description: 12-Way M Sealed

X102 Forward Lamp Harness to Windshield Washer Harness (Without CE4 or T96 or UFR)

Pin

Wire Color

Circuit No.

Function

Pin

Wire Color

Circuit No.

Function

1

0.35 PU

5531

Hood Closed Signal

1

0.35 PU

5531

Hood Closed Signal

2

0.35 PU

1197

Headlamp Washer Pump Control

2

0.35 PU

1197

Headlamp Washer Pump Control

3

0.35 D-GN

392

Rear Window Washer Pump

3

0.35 D-GN

392

Rear Window Washer Pump

0.35 D-GN

392

Rear Window Washer Pump

4

0.35 BN

41

Ignition Voltage

4

0.35 BN

41

Ignition Voltage

5

0.35 OG/BK

635--

Low Reference

5

0.35 OG/BK

635--

Low Reference

6

0.35 D-GN/WH

636

Ambient Air Temp Signal

6

0.35 D-GN/WH

636

Ambient Air Temp Signal

7

0.3 5BK

150

Ground

7

0.3 5BK

150

Ground

8

0.35 OG

228

Windshield Washer Pump Control

8

0.35 OG

228

Windshield Washer Pump Control

0.35 OG

228

Windshield Washer Pump Control

9

0.35 BN/WH

99

Windshield Washer Float Level Signal

9

0.35 BN/WH

99

Windshield Washer Float level Signal

0.35 BN/WH

99

Windshield Washer Float level Signal

10

--

--

Not Used

10

--

--

Not Used

11

0.35 PU/WH

5203

Air Quality Sensor Signal

11

0.35 PU/WH

5203

Air Quality Sensor Signal

12

0.35 BK

150

Ground

12

0.35 BK

150

Ground

X102 Forward Lamp Harness to Windshield Washer Harness (With CE4 or T96 or UFR)


Object Number: 2075381  Size: CH

Object Number: 2075382  Size: CH

Connector Part Information

  • OEM: 936777-2
  • Service: N/A
  • Description: 20-Way F, MTIII/JPT Sealed (BK)

Connector Part Information

  • OEM: 936780-2
  • Service: N/A
  • Description: 20-Way M MTIII/JPT Sealed (BK)

X102 Forward Lamp Harness to Windshield Washer Harness (With CE4 or T96 or UFR)

Pin

Wire Color

Circuit No.

Function

Pin

Wire Color

Circuit No.

Function

1

0.35 BK

150

Ground

1

0.35 BK

150

Ground

2

0..350OG

228

Windshield Washer Fluid Pump Control (CE4)

2

0..350OG

228

Windshield Washer Fluid Pump Control (CE4)

3

0.35 PU

5531

Hood Closed Signal

3

0.35 PU

5531

Hood Closed Signal

4

0.35 PU/WH

9382

5 Volt Reference

4

0.35 PU/WH

9382

5 Volt Reference

5

OG/BK

5214

Front Parking Sensor Low Reference

5

OG/BK

5214

Front Parking Sensor Low Reference

6

0.35 BK

150

Ground

6

0.35 BK

150

Ground

7

0.35 PU

34

Front Fog Lamp Supply Voltage

7

0.35 PU

34

Front Fog Lamp Supply Voltage

8

0.35 PU

1197

Headlamp Washer Pump Control (CE4)

8

0.35 PU

1197

Headlamp Washer Pump Control (CE4)

9

0.35 GN/WH

636

Outside Ambient Air Temperature Sensor Signal

9

0.35 GN/WH

636

Outside Ambient Air Temperature Sensor Signal

10

0.35 OG/BK

645

Sensor Low Reference

10

0.35 OG/BK

645

Sensor Low Reference

11

--

--

Not Used

11

--

--

Not Used

12

0.35 BN/WH

99

Windshield Washer Fluid Level Sensor Signal (CE4)

12

0.35 BN/WH

99

Windshield Washer Fluid Level Sensor Signal (CE4)

13

0.35 PU/WH

5203

Air Quality Sensor Signal

13

0.35 PU/WH

5203

Air Quality Sensor Signal

14

0.35 BN/WH

6547

Air Quality Sensor Low Reference

14

0.35 BN/WH

6547

Air Quality Sensor Low Reference

15

0.35 BN

41

Ignition Voltage

15

0.35 BN

41

Ignition Voltage

16

0.35 GN

392

Rear Window Washer Pump Control

16

0.35 GN

392

Rear Window Washer Pump Control

0.35 GN

392

Rear Window Washer Pump Control (CE4)

17

0.35 PU/BK

5218

Front Parking Right Mid Sensor

17

0.35 PU/BK

5218

Front Parking Right Mid Sensor

18

0.35 BN/WH

5217

Front Parking Right Corner Sensor

18

0.35 BN/WH

5217

Front Parking Right Corner Sensor

19

0.35 WH

5216

Front Parking Left Mid Sensor

19

0.35 WH

5216

Front Parking Left Mid Sensor

20

0.35 PU/WH

5215

Front Parking Left Corner Sensor

20

0.35 PU/WH

5215

Front Parking Left Corner Sensor

X103 Engine Harness to Fuel Heater Harness (LLW) (RHD)


Object Number: 1471686  Size: CH

Object Number: 1420650  Size: CH

Connector Part Information

  • OEM: PED 15401338
  • Service: N/A
  • Description: 8-Way F 110 Series Sealed (GY)

Connector Part Information

  • OEM: PED 7282-5684-10
  • Service: N/A
  • Description: 8-Way M YESC/USCAR ClassIII Series Sealed (GY)

X103 Engine Harness to Fuel Heater Harness (LLW) (RHD)

Pin

Wire Color

Circuit No.

Function

Pin

Wire Color

Circuit No.

Function

1

0.35 BK

250

Ground

1

0.35 BK

250

Ground

2

0.35 D-BU

488

Fuel Filter Heater Control

2

0.35 D-BU

488

Fuel Filter Heater Control

3

0.35 GN

3211

Fuel Temperature sensor Signal

3

0.35 GN

3211

Fuel Temperature sensor Signal

4

0.35 BK/WH

3210

Low Reference

4

0.35 BK/WH

3210

Low Reference

5

--

--

Not Used

5

--

--

Not Used

6

0.35 PK

539

Ignition 1 Voltage

6

0.35 PK

539

Ignition 1 Voltage

7

0.3 WH

3058

Water In Fuel Sensor Signal

7

0.3 WH

3058

Water In Fuel Sensor Signal

8

0.35 BK

250

Ground

8

0.35 BK

250

Ground

X103 Engine Harness to Fuel Heater Harness (LLW) (LHD)


Object Number: 1530488  Size: CH

Object Number: 802496  Size: CH

Connector Part Information

  • OEM: PED 7283-5909-40
  • Service: N/A
  • Description: 10-Way F 1.5 Series Sealed (L-GY)

Connector Part Information

  • OEM: PED 7282-5533-40
  • Service: N/A
  • Description: 10-Way M 1.5 Series Sealed (L-GY)

X103 Engine Harness to Fuel Heater Harness (LLW) (LHD)

Pin

Wire Color

Circuit No.

Function

Pin

Wire Color

Circuit No.

Function

1

0.35 WH

3058

Water In Fuel Sensor Signal

1

0.35 WH

3058

Water In Fuel Sensor Signal

2

0.35 BK

250

Ground

2

0.35 BK

250

Ground

3

0.35 PK

539

Ignition 1 Voltage

3

0.35 PK

539

Ignition 1 Voltage

4

0.35 PU

3044

Diesel Particulate Filter (DPF) Pressure Sensor 5 V Reference

4

0.35 PU

3044

Diesel Particulate Filter (DPF) Pressure Sensor 5 V Reference

5

0.35 BK/WH

3037

Diesel Particulate Filter (DPF) Pressure Sensor Low Reference

5

0.35 BK/WH

3037

Diesel Particulate Filter (DPF) Pressure Sensor Low Reference

6

0.35 GN

3034

Exhaust Gas Temperature Sensor 1 Signal

6

0.35 GN

3034

Exhaust Gas Temperature Sensor 1 Signal

7

0.3 5 BK/WH

3035

Exhaust Gas Temperature Sensor 1 Low Reference

7

0.3 5 BK/WH

3035

Exhaust Gas Temperature Sensor 1 Low Reference

8

0.35 GN/BK

3032

Exhaust Gas Temperature Sensor 2 Signal

8

0.35 GN/BK

3032

Exhaust Gas Temperature Sensor 2 Signal

9

0.35 BK

3033

Exhaust Gas Temperature Sensor 2 Low Reference

9

0.35 BK

3033

Exhaust Gas Temperature Sensor 2 Low Reference

10

0.35 GN

3064

Diesel Particulate Filter (DPF) Pressure Sensor Signal

10

0.35 GN

3064

Diesel Particulate Filter (DPF) Pressure Sensor Signal

X104 Engine Harness to Glow Plug Harness (LLW)


Object Number: 1715265  Size: CH

Object Number: 1707500  Size: CH

Connector Part Information

  • OEM: 7283-5571-30
  • Service: N/A
  • Description: 4-Way F YESC/USCAR Class III Series Sealed (BK)

Connector Part Information

  • OEM: PED 7282-5570-10
  • Service: N/A
  • Description: 4-Way M YESC Series Sealed (BK)

X104 Engine Harness to Glow Plug Harness (LLW)

Pin

Wire Color

Circuit No.

Function

Pin

Wire Color

Circuit No.

Function

1

0.35 GY

5501

Glow Plug 4 Battery Voltage

1

0.35 GY

5501

Glow Plug 4 Battery Voltage

2

0.35 GY

5501

Glow Plug 3 Battery Voltage

2

0.35 GY

5501

Glow Plug 3 Battery Voltage

3

0.35 GY

5501

Glow Plug 2 Battery Voltage

3

0.35 GY

5501

Glow Plug 2 Battery Voltage

4

0.35 GY

5501

Glow Plug 1 Battery Voltage

4

0.35 GY

5501

Glow Plug 1 Battery Voltage

X105 Engine Harness to Exhaust Gas Temperature Harness (LLW) (RHD)


Object Number: 1715265  Size: CH

Object Number: 1707500  Size: CH

Connector Part Information

  • OEM: 7283-5571-30
  • Service: N/A
  • Description: 4-Way F YESC/USCAR Class III Series Sealed (BK)

Connector Part Information

  • OEM: PED 7282-5570-10
  • Service: N/A
  • Description: 4-Way M YESC Series Sealed (BK)

X105 Engine Harness to Exhaust Gas Temperature Harness (LLW) (RHD)

Pin

Wire Color

Circuit No.

Function

Pin

Wire Color

Circuit No.

Function

1

0.35 GN

3034

Exhaust Gas Temperature Sensor 1 Signal

1

0.35 GN

3034

Exhaust Gas Temperature Sensor 1 Signal

2

0.35 BK/WH

3035

Exhaust Gas Temperature Sensor 1 Low Reference

2

0.35 BK/WH

3035

Exhaust Gas Temperature Sensor 1 Low Reference

3

0.35 GN/BK

3032

Exhaust Gas Temperature Sensor 2 Signal

3

0.35 GN/BK

3032

Exhaust Gas Temperature Sensor 2 Signal

4

0.35 BK

3033

Exhaust Gas Temperature Sensor 2 Low Reference

4

0.35 BK

3033

Exhaust Gas Temperature Sensor 2 Low Reference

X106 Engine Harness to Heated Oxygen Sensor (HO2S) Harness (LU1)


Object Number: 1715265  Size: CH

Object Number: 1707500  Size: CH

Connector Part Information

  • OEM: 7283-5571-30
  • Service: N/A
  • Description: 4-Way F YESC/USCAR Class III Series Sealed (BK)

Connector Part Information

  • OEM: PED 7282-5570-10
  • Service: N/A
  • Description: 4-Way M YESC Series Sealed (BK)

X106 Engine Harness to Heated Oxygen Sensor (HO2S) Harness (LU1)

Pin

Wire Color

Circuit No.

Function

Pin

Wire Color

Circuit No.

Function

1

2 PU

6

Starter Solenoid Crank Voltage

1

2 PU

6

Starter Solenoid Crank Voltage

2

0.35 PK/BK

5292

Ignition 1 Voltage

2

0.35 PK/BK

5292

Ignition 1 Voltage

3

0.35 BK/WH

251

Ground

3

0.35 BK/WH

251

Ground

4

0.35 PK/BK

5292

Ignition 1 Voltage

4

0.35 PK/BK

5292

Ignition 1 Voltage

4

0.35 YE/GN

5292

Ignition 1 Voltage

5

0.35 GN

59

A/C Compressor Clutch Supply Voltage

5

0.35 GN

59

A/C Compressor Clutch Supply Voltage

6

--

--

Not Used

6

--

--

Not Used

7

0.35 PK/BK

5293

Ignition 1 Voltage

7

0.35 PK/BK

5293

Ignition 1 Voltage

7

0.35 RD

5293

Ignition 1 Voltage

X108 Engine Harness to Fuel Injector Harness (LU1)


Object Number: 1331440  Size: CH

Object Number: 1480280  Size: CH

Connector Part Information

  • OEM: PED 1-963214-12
  • Service: N/A
  • Description: 10-Way F Junior Power Timer Series Sealed (BK)

Connector Part Information

  • OEM: 1-962352-1
  • Service: N/A
  • Description: 10-Way M Junior Power Timer Series, Sealed (BK)

X108 Engine Harness to Fuel Injector Harness (LU1)

Pin

Wire Color

Circuit No.

Function

Pin

Wire Color

Circuit No.

Function

1

0.35 PK/BK

5291

Ignition 1 Voltage

1

0.35 PK/BK

5291

Ignition 1 Voltage

2

0.35 PK/BK

5292

Ignition 1 Voltage

2

0.35 PK/BK

5292

Ignition 1 Voltage

3

0.35 TN

1744

Fuel Injector 1 Control

3

0.35 TN

1744

Fuel Injector 1 Control

4

0.35 PK/BK

1746

Fuel Injector 3 Control

4

0.35 PK/BK

1746

Fuel Injector 3 Control

5

0.35 TN/WH

845

Fuel Injector 5 Control

5

0.35 TN/WH

845

Fuel Injector 5 Control

6

0.35 L-GN/BK

1745

Fuel Injector 2 Control

6

0.35 L-GN/BK

1745

Fuel Injector 2 Control

7

0.3 5 L-BU/BK

844

Fuel Injector 4 Control

7

0.3 5 L-BU/BK

844

Fuel Injector 4 Control

8

0.35 YE/BK

846

Fuel Injector 6 Control

8

0.35 YE/BK

846

Fuel Injector 6 Control

9-10

--

--

Not Used

9-10

--

--

Not Used

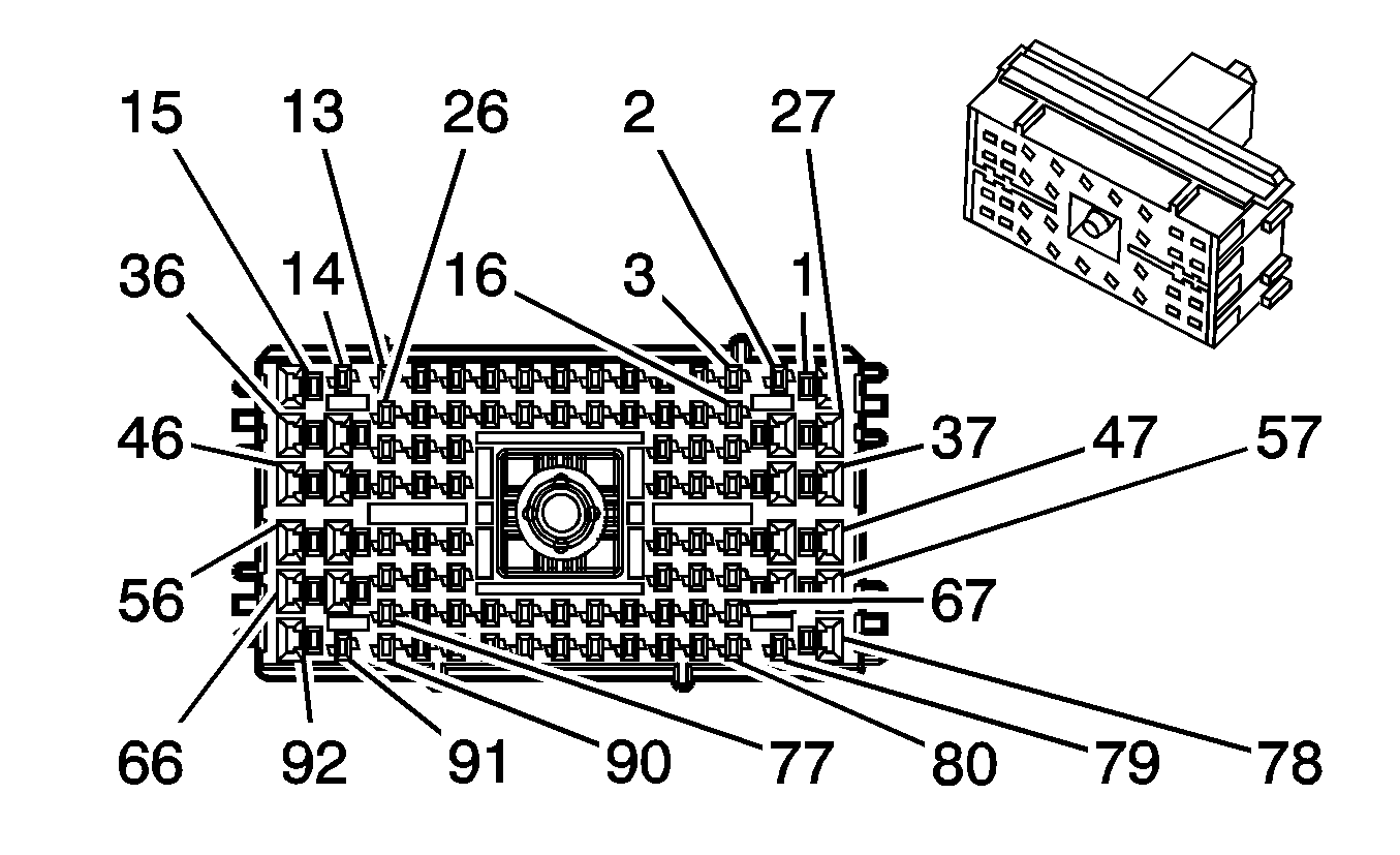
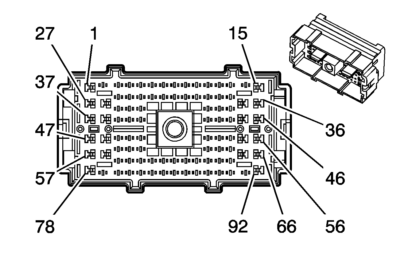
X201Body Harness to I/P Harness


Object Number: 1830969  Size: CH

Object Number: 2001169  Size: CH

Connector Part Information

  • OEM: TYCO 0-1743255-2
  • Service: N/A
  • Description: 92-Way F Micro-Pack 1.5/2.8 HYB (BK)

Connector Part Information

  • OEM: TYCO 0-1743251-2
  • Service: N/A
  • Description: 92-Way M Micro-Pack 1.5/2.8 HYB (BK)

X201Body Harness to I/P Harness

Pin

Wire

Circuit

Function

Pin

Wire

Circuit

Function

1

0.35 BN/WH

771

Transmission Range Switch Signal A (M98/C105/RHD)

1

0.35 BN/WH

771

Transmission Range Switch Signal A (M98/C105/RHD)

1

0.35 GY/BK

2508

Microphone Signal (UU8/UCY)

1

0.35 GY/BK

2508

Microphone Signal (UU8/UCY)

2

0.35 L-GN

200

Right Front Speaker (+) (1)

2

0.35 L-GN

200

Right Front Speaker (+) (1)

3

0.35 D-GN

117

Right Front Speaker Signal (-) (1)

3

0.35 D-GN

117

Right Front Speaker Signal (-) (1)

4

0.35 L-BU

5362

Incline Sensor Alarm On Signal (AF8)

4

0.35 L-BU

5362

Incline Sensor Alarm On Signal (AF8)

5

0.35 L-BU

772

Transmission Range Switch Signal B (M98/C100/RHD)

5

0.35 L-BU

772

Transmission Range Switch Signal B (M98/C100/RHD)

5

0.35 BN/BK

5168

Power Sounder Enable Signal (C105)

5

0.35 BN/BK

5168

Power Sounder Enable Signal (C105)

5

0.35 BN/WH

6433

CAN Bus High Serial Data (UCY)

5

0.35 BN/WH

6433

CAN Bus High Serial Data (UCY)

6

0.35 GY

5248

Park Assist Alarm Low Reference (UD7)

6

0.35 GY

5248

Park Assist Alarm Low Reference (UD7)

6

0.35 BN

5910

Door Double Lock Actuator Lock Control (C105)

6

0.35 BN

5910

Door Double Lock Actuator Lock Control (C105)

7

0.35 OG

1525

Clutch Pressure Control Solenoid Valve 1 High Control (M98/C105/RHD)

7

0.35 OG

1525

Clutch Pressure Control Solenoid Valve 1 High Control (M98/C105/RHD)

7

0.35 YE

5247

Park Assist Alarm Signal (UD7)

7

0.35 YE

5247

Park Assist Alarm Signal (UD7)

8

0.35 PU

1319

Engine/Radio Serial Data K-Line (UD7)

8

0.35 PU

1319

Engine/Radio Serial Data K-Line (UD7)

8

0.35 OG

1525

Clutch Pressure Control Solenoid Valve 1 High Control (M98/C100/RHD)

8

0.35 OG

1525

Clutch Pressure Control Solenoid Valve 1 High Control (M98/C100/RHD)

9

0.35Pk

5068

Intrusion Sensor Switch Disable Signal (C105/RHD)

9

0.35Pk

5068

Intrusion Sensor Switch Disable Signal (C105/RHD)

9

0.35 BN/BK

6724

Headlamp Washer Pump Switch Signal

9

0.35 BN/BK

6724

Headlamp Washer Pump Switch Signal

10

0.35 L-BU

6844

ABS/TCS Hill Descent Control (F45)

10

0.35 L-BU

6844

ABS/TCS Hill Descent Control (F45)

11

BN/WH

312

Right Headlamp Low Beam Supply Voltage (C105/RHD)

11

BN/WH

312

Right Headlamp Low Beam Supply Voltage (C105/RHD)

11

0.35 GY

773

Transmission Range Switch Signal C (M98/C100/RHD)

11

0.35 GY

773

Transmission Range Switch Signal C (M98/C100/RHD)

11

0.35 GY/BK

7043

Microphone (+)

11

0.35 GY/BK

7043

Microphone (+)

12

0.35 WH

776

Transmission Range Switch Signal P (M98/C100/RHD)

12

0.35 WH

776

Transmission Range Switch Signal P (M98/C100/RHD)

12

0.35 WH

9003

Drain Wire (C105/RHD)

12

0.35 WH

9003

Drain Wire (C105/RHD)

13

0.35 BN

201

Left Front Speaker (+) (1)

13

0.35 BN

201

Left Front Speaker (+) (1)

14

0.35 GY

118

Left Front Speaker Signal (-) (1)

14

0.35 GY

118

Left Front Speaker Signal (-) (1)

15

0.35 L-BU

20

Stop Lamp Supply Voltage

15

0.35 L-BU

20

Stop Lamp Supply Voltage

16

0.35 D-BU

46

Right Rear Speaker (+)

16

0.35 D-BU

46

Right Rear Speaker (+)

17

0.35 L-BU

115

Right Rear Speaker Signal (-)

17

0.35 L-BU

115

Right Rear Speaker Signal (-)

18

0.35YE

116

Left Rear Speaker Signal (-)

18

0.35YE

116

Left Rear Speaker Signal (-)

19

0.35 PU/WH

5203

Air Quality Sensor Signal

19

0.35 PU/WH

5203

Air Quality Sensor Signal

20

0.35 GY

391

Rear Window Wiper Switch Signal

20

0.35 GY

391

Rear Window Wiper Switch Signal

21

0.35 D-GN/WH

636

Outside Ambient Air Temperature Sensor Signal

21

0.35 D-GN/WH

636

Outside Ambient Air Temperature Sensor Signal

22

0.35 OG/BK

645

Low Reference

22

0.35 OG/BK

645

Low Reference

23

0.35 WH

193

Rear Defog Relay Control

23

0.35 WH

193

Rear Defog Relay Control

24

0.35 D-GN

189

Headlamp Leveling Motor Supply Voltage

24

0.35 D-GN

189

Headlamp Leveling Motor Supply Voltage

25

0.35 BN/WH

312

Right Headlamp Low Beam Supply Voltage (-C105/RHD)

25

0.35 BN/WH

312

Right Headlamp Low Beam Supply Voltage (-C105/RHD)

26

0.35 GY

6137

EVAP Core Temperature Sensor Signal

26

0.35 GY

6137

EVAP Core Temperature Sensor Signal

27

0.35 OG

1732

Electronic Control Unit 12-Volt Reference (3)

27

0.35 OG

1732

Electronic Control Unit 12-Volt Reference (3)

28

0.35 WH

639

Power Sounder (M98/C105/RHD

28

0.35 WH

639

Power Sounder (M98/C105/RHD

28

0.35 WH

9003

Drain Wire (AF8/C100/RHD)

28

0.35 WH

9003

Drain Wire (AF8/C100/RHD)

29

0.35 YE

18

Left Rear Stop/Turn Lamp Supply Voltage

29

0.35 YE

18

Left Rear Stop/Turn Lamp Supply Voltage

30

0.35 BN/WH

379

Cruise Control Clutch Pedal Position Switch Signal (MFN)

30

0.35 BN/WH

379

Cruise Control Clutch Pedal Position Switch Signal (MFN)

31

0.35 D-BU

5985

Accessory Wakup Serial Data (M98/C105/RHD)

31

0.35 D-BU

5985

Accessory Wakup Serial Data (M98/C105/RHD)

32

0.35 BN

1149

Content Theft Horn Control (C105/RHD)

32

0.35 BN

1149

Content Theft Horn Control (C105/RHD)

32

0.35 YE

1496

Mirror Motor Right/Up Control

32

0.35 YE

1496

Mirror Motor Right/Up Control

33

0.35 BN

333

Brake Fluid Level Sensor Signal

33

0.35 BN

333

Brake Fluid Level Sensor Signal

34

0.35 PU/WH

5754

Amplifier Powered Woofer Control (1) (U88)

34

0.35 PU/WH

5754

Amplifier Powered Woofer Control (1) (U88)

35

0.35 TN/BK

2500

High Speed GMLAN Serial Data (+) (1)

35

0.35 TN/BK

2500

High Speed GMLAN Serial Data (+) (1)

36

0.35 PU

1703

Variable Effort Steering Speed Sensitive Solenoid Control (NV8)

36

0.35 PU

1703

Variable Effort Steering Speed Sensitive Solenoid Control (NV8)

37

0.35 YE

772

Transmission Range Switch Signal B (M98/C105/RHD)

37

0.35 YE

772

Transmission Range Switch Signal B (M98/C105/RHD)

37

0.35 PK

5068

Intrusion Sensor Switch Disable Signal (AF8/C100/RHD)

37

0.35 PK

5068

Intrusion Sensor Switch Disable Signal (AF8/C100/RHD)

38

0.5 RD/WH

2440

Battery Positive Voltage (M98/C105/RHD)

38

0.5 RD/WH

2440

Battery Positive Voltage (M98/C105/RHD)

38

0.35 BN/BK

5168

Power Sounder Enable Signal (AF8/C100/RHD)

38

0.35 BN/BK

5168

Power Sounder Enable Signal (AF8/C100/RHD)

39

0.35 L-BU

659

Cellular Telephone Voice Low Reference (C105/RHD)

39

0.35 L-BU

659

Cellular Telephone Voice Low Reference (C105/RHD)

39

0.35 GY

2373

Rear Parking Assist Red Indicator Control

39

0.35 GY

2373

Rear Parking Assist Red Indicator Control

40

0.35 BU

658

Cellular Telephone Voice Signal (C105/RHD)

40

0.35 BU

658

Cellular Telephone Voice Signal (C105/RHD)

40

0.35 PK/BK

5755

Amplifier Powered Woofer Control (2)

40

0.35 PK/BK

5755

Amplifier Powered Woofer Control (2)

41

0.35 BN

1271

Accelerator Pedal Position Low Reference (1)

41

0.35 BN

1271

Accelerator Pedal Position Low Reference (1)

42

0.35 WH/BK

1164

Accelerator Pedal Position 5-Volt Reference (1)

42

0.35 WH/BK

1164

Accelerator Pedal Position 5-Volt Reference (1)

43

0.35 L-BU

1162

Accelerator Pedal Position Signal (2)

43

0.35 L-BU

1162

Accelerator Pedal Position Signal (2)

44

0.35 BN

1274

Accelerator Pedal Position 5-Volt Reference (2)

44

0.35 BN

1274

Accelerator Pedal Position 5-Volt Reference (2)

45

0.35 TN

2501

High Speed GMLAN Serial Data (-) (1)

45

0.35 TN

2501

High Speed GMLAN Serial Data (-) (1)

46

0.35 L-BU

1738

Variable Effort Steering Speed Sensitive Solenoid Supply Voltage

46

0.35 L-BU

1738

Variable Effort Steering Speed Sensitive Solenoid Supply Voltage

47

0.35 GY/BK

690

Courtesy Lamp Relay Control (C100/RHD)

47

0.35 GY/BK

690

Courtesy Lamp Relay Control (C100/RHD)

47

0.35 WH

776

Transmission Range Switch Signal P (M98/C105/RHD)

47

0.35 WH

776

Transmission Range Switch Signal P (M98/C105/RHD)

48

0.35 GY

773

Transmission Range Switch Signal C (M98/C105/RHD)

48

0.35 GY

773

Transmission Range Switch Signal C (M98/C105/RHD)

48

0.35 BN

5910

Trailer Fog Lamp

48

0.35 BN

5910

Trailer Fog Lamp

49

0.35 PU

1272

Accelerator Pedal Position Low Reference (2)

49

0.35 PU

1272

Accelerator Pedal Position Low Reference (2)

50

0.35 D-BU

1161

Accelerator Pedal Position Signal (1)

50

0.35 D-BU

1161

Accelerator Pedal Position Signal (1)

51

0.35 BN

199

Left Rear Speaker (+)

51

0.35 BN

199

Left Rear Speaker (+)

52

0.35 BN/WH

99

Windshield Washer Fluid Level Sensor Signal

52

0.35 BN/WH

99

Windshield Washer Fluid Level Sensor Signal

53

0.35 WH

81

Left Mirror Motor Right Control (C100/RHD)

53

0.35 WH

81

Left Mirror Motor Right Control (C100/RHD)

53

0.35 BN

1391

Driver Door Unlock Relay Control (C105/RHD)

53

0.35 BN

1391

Driver Door Unlock Relay Control (C105/RHD)

54

0.35 L-GN

89

Left Mirror Motor Down Control

54

0.35 L-GN

89

Left Mirror Motor Down Control

54

0.35 GN/WH

5842

Auxiliary Audio Screen (2) (C105/RHD)

54

0.35 GN/WH

5842

Auxiliary Audio Screen (2) (C105/RHD)

55

0.35 BU

6253

Low Reference (M98/C100/RHD)

55

0.35 BU

6253

Low Reference (M98/C100/RHD)

56

0.35 TN

2501

High Speed GMLAN Serial Data (-) (1)

56

0.35 TN

2501

High Speed GMLAN Serial Data (-) (1)

57

WH/BK

910

PTC Heater Request Signal

57

WH/BK

910

PTC Heater Request Signal

57

0.35 WH

1310

EVAP Cannister Vent Solenoid Control (NQU)

57

0.35 WH

1310

EVAP Cannister Vent Solenoid Control (NQU)

58

0.5 RD/WH

540

Battery Positive Voltage

58

0.5 RD/WH

540

Battery Positive Voltage

59

0.35 OG/WH

881

Right Mirror Motor Right Control (C100/RHD)

59

0.35 OG/WH

881

Right Mirror Motor Right Control (C100/RHD)

59

0.35 BN/WH

5169

Mid Speed GMLAN Serial Data Bus+ (C105/RHD)

59

0.35 BN/WH

5169

Mid Speed GMLAN Serial Data Bus+ (C105/RHD)

60

0.35 PU/WH

889

Right Mirror Motor Down Control (C100/RHD)

60

0.35 PU/WH

889

Right Mirror Motor Down Control (C100/RHD)

60

0.35 BN

5170

Mid Speed GMLAN Serial Data Bus- (C105/RHD)

60

0.35 BN

5170

Mid Speed GMLAN Serial Data Bus- (C105/RHD)

61

0.35 GY

324

Shift Relay Coil Supply Voltage (C100/RHD)

61

0.35 GY

324

Shift Relay Coil Supply Voltage (C100/RHD)

61

0.35L-GN

5839

Left Auxiliary Audio Signal (2) (C105/RHD)

61

0.35L-GN

5839

Left Auxiliary Audio Signal (2) (C105/RHD)

62

0.35 PU

328

Interior Lamp Defeat Switch Signal

62

0.35 PU

328

Interior Lamp Defeat Switch Signal

63

0.35 BN

4

Accessory Voltage

63

0.35 BN

4

Accessory Voltage

64

0.35 D-BU

6189

Lift Glass/Trunk Interior Release Signal

64

0.35 D-BU

6189

Lift Glass/Trunk Interior Release Signal

65

0.35 WH

5190

Trailer Fog Lamp (C105)

65

0.35 WH

5190

Trailer Fog Lamp (C105)

65

0.35 BN/WH

6254

Input Speed Sensor Signal (M98/C100/RHD)

65

0.35 BN/WH

6254

Input Speed Sensor Signal (M98/C100/RHD)

66

0.35 D-BU

5992

Trailer Connected Signal (C105)

66

0.35 D-BU

5992

Trailer Connected Signal (C105)

67

0.35 BN/WH

585

Transmission Fluid Temperature Sensor Signal (C100/RHD)

67

0.35 BN/WH

585

Transmission Fluid Temperature Sensor Signal (C100/RHD)

67

0.35 BN

28

Horn Relay Control (C105)

67

0.35 BN

28

Horn Relay Control (C105)

67

0.35 YE

1860

Front Center Speaker (+) (UV8/UCY)

67

0.35 YE

1860

Front Center Speaker (+) (UV8/UCY)

68

0.35 BN

28

Horn Relay Control (C100)

68

0.35 BN

28

Horn Relay Control (C100)

68

0.35 GN/WH

5841

Right Auxiliary Audio Signal (2) (C105)

68

0.35 GN/WH

5841

Right Auxiliary Audio Signal (2) (C105)

69

0.35 GN/WH

762

A/C Request Signal

69

0.35 GN/WH

762

A/C Request Signal

70

0.35 PK/BK

5501

TCC Enable Solenoid Valve High Control (M98/C100/RHD)

70

0.35 PK/BK

5501

TCC Enable Solenoid Valve High Control (M98/C100/RHD)

70

0.35 YE

5842

Auxiliary Audio Screen (2) (C105/LHD)

70

0.35 YE

5842

Auxiliary Audio Screen (2) (C105/LHD)

71

0.35 BU/WH

5502

TCC Enable Solenoid Valve Low Control (M98/C100/RHD)

71

0.35 BU/WH

5502

TCC Enable Solenoid Valve Low Control (M98/C100/RHD)

72

0.35 BU

1530

Transmission Mainline Pressure Solenoid Control (M98/C100/RHD)

72

0.35 BU

1530

Transmission Mainline Pressure Solenoid Control (M98/C100/RHD)

72

0.35 BN/WH

6547

Battery Module Temperature Signal (11) (C105)

72

0.35 BN/WH

6547

Battery Module Temperature Signal (11) (C105)

73

0.35 L-BU

5986

Serial Data Communication Enable

73

0.35 L-BU

5986

Serial Data Communication Enable

74

0.35 GN/WH

817

Vehicle Speed Signal (C105)

74

0.35 GN/WH

817

Vehicle Speed Signal (C105)

74

0.35 WH

5503

Transmission Mainline Pressure Solenoid Low Reference (M98/C100/RHD)

74

0.35 WH

5503

Transmission Mainline Pressure Solenoid Low Reference (M98/C100/RHD)

75

0.35 BN

323

Shift Solenoid Supply Voltage (C100/RHD)

75

0.35 BN

323

Shift Solenoid Supply Voltage (C100/RHD)

75

0.35 YE/BK

693

Cellular Telephone Mute Signal (C105)

75

0.35 YE/BK

693

Cellular Telephone Mute Signal (C105)

76

0.35 PK

1963

Folding Mirror Extend Motor Relay Control

76

0.35 PK

1963

Folding Mirror Extend Motor Relay Control

77

0.35 BN

683

Rear Defog Indicator Supply Voltage

77

0.35 BN

683

Rear Defog Indicator Supply Voltage

78

0.35 GN/BK

690

Courtesy Lamp Supply Voltage (C105)

78

0.35 GN/BK

690

Courtesy Lamp Supply Voltage (C105)

79

0.35 L-GN

24

Backup Lamp Supply Voltage (UCY)

79

0.35 L-GN

24

Backup Lamp Supply Voltage (UCY)

79

0.35 BN/BK

6357

Output Speed Shielded Signal (C100/RHD)

79

0.35 BN/BK

6357

Output Speed Shielded Signal (C100/RHD)

79

0.35 WH

9004

Shield Wire (C105)

79

0.35 WH

9004

Shield Wire (C105)

80

0.35 PK

3022

Steering Wheel Module Stage 2 Low Control (F45)

80

0.35 PK

3022

Steering Wheel Module Stage 2 Low Control (F45)

81

0.35 WH

3023

Steering Wheel Module State 2 High Control (F45)

81

0.35 WH

3023

Steering Wheel Module State 2 High Control (F45)

82

0.35 L-BU

187

Rear Fog Lamp Switch Signal

82

0.35 L-BU

187

Rear Fog Lamp Switch Signal

83

0.35 L-BU

2088

Combined Vehicle Inertial Sensor Low Reference

83

0.35 L-BU

2088

Combined Vehicle Inertial Sensor Low Reference

84

0.35 D-GN

2087

Combined Vehicle Inertial Sensor Supply Voltage

84

0.35 D-GN

2087

Combined Vehicle Inertial Sensor Supply Voltage

85

0.35 BN/WH

771

Transmission Range Switch Signal A (M98/C100/RHD)

85

0.35 BN/WH

771

Transmission Range Switch Signal A (M98/C100/RHD)

85

0.35 BN

5852

Rear Park Assist LED Disable Signal (C105)

85

0.35 BN

5852

Rear Park Assist LED Disable Signal (C105)

86

0.35 OG/BK

586

Transmission Fluid Temperature Sensor Low Reference (M98/C100/RHD)

86

0.35 OG/BK

586

Transmission Fluid Temperature Sensor Low Reference (M98/C100/RHD)

86

0.35 L-BU

1960

Front Center Speaker (-) (UV8/UCY)

86

0.35 L-BU

1960

Front Center Speaker (-) (UV8/UCY)

86

0.35 GN

2555

Rear Park Assist Disable Signal (C105)

86

0.35 GN

2555

Rear Park Assist Disable Signal (C105)

87

0.35 D-GN/WH

817

Vehicle Speed Signal

87

0.35 D-GN/WH

817

Vehicle Speed Signal

88

0.35 BN/WH

753

Steering Wheel Module High Signal

88

0.35 BN/WH

753

Steering Wheel Module High Signal

89

0.35 OG/BK

752

Steering Wheel Module Low Signal

89

0.35 OG/BK

752

Steering Wheel Module Low Signal

90

0.35 D-BU

903

Park Assist Alarm Volt Reference (C100/UD7)

90

0.35 D-BU

903

Park Assist Alarm Volt Reference (C100/UD7)

91

0.35 L-BU

1134

Park Brake Switch Signal (UCY)

91

0.35 L-BU

1134

Park Brake Switch Signal (UCY)

91

0.35 PK

6358

Output Speed Signal (C100/RHD)

91

0.35 PK

6358

Output Speed Signal (C100/RHD)

92

0.35 TN/BK

2500

High Speed GMLAN Serial Data (+)

92

0.35 TN/BK

2500

High Speed GMLAN Serial Data (+)

X202 I/P Harness to Body Harness (C100)


Object Number: 1480200  Size: CH

Object Number: 1830980  Size: CH

Connector Part Information

  • OEM: TYCO 936196-1
  • Service: N/A
  • Description: 12-Way F Unsealed

Connector Part Information

  • OEM: TYCO 936207-1
  • Service: N/A
  • Description: 12-Way M Unsealed

X202 I/P Harness to Body Harness (C100)

Pin

Wire

Circuit

Function

Pin

Wire

Circuit

Function

1

0.35 D-BU

658

Cellular Telephone Voice Signal (UV8/C100/LHD)

1

0.35 D-BU

658

Cellular Telephone Voice Signal (UV8/C100/LHD)

1

0.35 RD/WH

2440

Battery Positive Voltage (RHD)

1

0.35 RD/WH

2440

Battery Positive Voltage (RHD)

2

0.35 PK

639

Run/Crank Ignition 1 Voltage (RHD)

2

0.35 PK

639

Run/Crank Ignition 1 Voltage (RHD)

3

0.35 D-GN

654

Cellular Telephone Microphone Low Reference (UV8)

3

0.35 D-GN

654

Cellular Telephone Microphone Low Reference (UV8)

4

0.35 GY

655

Cellular Telephone Microphone Signal (UV8)

4

0.35 GY

655

Cellular Telephone Microphone Signal (UV8)

4

0.35 D-BU

5985

Accessory Wakeup Serial Data (RHD)

4

0.35 D-BU

5985

Accessory Wakeup Serial Data (RHD)

5

0.35 PK

1155

Audio Handset Low Reference (UV8)

5

0.35 PK

1155

Audio Handset Low Reference (UV8)

6

0.35 L-BU

659

Cellular Telephone Voice Low Reference (UV8)

6

0.35 L-BU

659

Cellular Telephone Voice Low Reference (UV8)

6

0.35 PU

1529

Shift Solenoid Supply Voltage (5) (RHD)

6

0.35 PU

1529

Shift Solenoid Supply Voltage (5) (RHD)

7

0.35 D-BU

1528

Shift Solenoid Supply Voltage (4) (RHD)

7

0.35 D-BU

1528

Shift Solenoid Supply Voltage (4) (RHD)

7

0.35 D-GN

1795

Right Subwoofer Speaker (+) (U88)

7

0.35 D-GN

1795

Right Subwoofer Speaker (+) (U88)

8

0.35 L-GN

1527

Shift Solenoid Supply Voltage (3) (RHD)

8

0.35 L-GN

1527

Shift Solenoid Supply Voltage (3) (RHD)

9

0.35 L-BU

315

Right Subwoofer Speaker (-) (U88)

9

0.35 L-BU

315

Right Subwoofer Speaker (-) (U88)

9

0.35 WH

1526

Shift Solenoid Supply Voltage (2) (RHD)

9

0.35 WH

1526

Shift Solenoid Supply Voltage (2) (RHD)

10

0.35 D-BU

1154

Audio Handset Earpiece Signal (UV8)

10

0.35 D-BU

1154

Audio Handset Earpiece Signal (UV8)

11

0.35 GY/BK

2520

Transceiver Low Reference (UV8)

11

0.35 GY/BK

2520

Transceiver Low Reference (UV8)

12

0.35 PK

1155

Audio Handset Low Reference (UV8)

12

0.35 PK

1155

Audio Handset Low Reference (UV8)

X202 I/P Harness to Body Harness (C105/RHD/M98)


Object Number: 1856799  Size: CH

Object Number: 1851893  Size: CH

Connector Part Information

  • OEM: TYCO 936201-1
  • Service: N/A
  • Description: 16-Way F 090III Series (NA)

Connector Part Information

  • OEM: TYCO 936211-1
  • Service: N/A
  • Description: 16-Way M 090III Series (NA)

X202 I/P Harness to Body Harness (C105/RHD/M98)

Pin

Wire

Circuit

Function

Pin

Wire

Circuit

Function

1

0.35 BN/BK

6357

Output Speed Shielded Signal

1

0.35 BN/BK

6357

Output Speed Shielded Signal

2

0.35 D-BU

6253

Transmission Input Speed Sensor Ground

2

0.35 D-BU

6253

Transmission Input Speed Sensor Ground

3

0.35 BN/WH

585

Transmission Oil Temperature Sensor Signal

3

0.35 BN/WH

585

Transmission Oil Temperature Sensor Signal

4

0.35 OG/BK

586

Transmission Oil Temperature Sensor Low Reference

4

0.35 OG/BK

586

Transmission Oil Temperature Sensor Low Reference

5

0.35 WH

1526

Shift Solenoid Supply Voltage (2)

5

0.35 WH

1526

Shift Solenoid Supply Voltage (2)

6

0.35 D-BU

1528

Shift Solenoid Supply Voltage (4)

6

0.35 D-BU

1528

Shift Solenoid Supply Voltage (4)

7

0.35 PK/BK

5501

TCC/Clutch Select Solenoid Control

7

0.35 PK/BK

5501

TCC/Clutch Select Solenoid Control

8

0.35 WH

5503

Transmission Mainline Pressure Solenoid Low Reference

8

0.35 WH

5503

Transmission Mainline Pressure Solenoid Low Reference

9

0.35 PK

6358

Output Speed Signal

9

0.35 PK

6358

Output Speed Signal

10

0.35 BN/WH

6254

Transmission Input Speed Sensor Signal

10

0.35 BN/WH

6254

Transmission Input Speed Sensor Signal

11

0.35 BN

323

Shift Solenoid Supply Voltage

11

0.35 BN

323

Shift Solenoid Supply Voltage

12

0.35 GN

324

Shift Relay Coil Control

12

0.35 GN

324

Shift Relay Coil Control

13

0.35 L-GN

1527

Shift Solenoid Supply Voltage (3)

13

0.35 L-GN

1527

Shift Solenoid Supply Voltage (3)

14

0.35 YE

1529

Shift Solenoid Supply Voltage (5)

14

0.35 YE

1529

Shift Solenoid Supply Voltage (5)

15

0.35 BU/WH

5502

TCC/Clutch Select Solenoid Low Reference

15

0.35 BU/WH

5502

TCC/Clutch Select Solenoid Low Reference

16

0.35 BU

1530

Transmission Mainline Pressure Solenoid Control

16

0.35 BU

1530

Transmission Mainline Pressure Solenoid Control

X203 Inflatable Restraint Harness to I/P Harness


Object Number: 1661148  Size: CH

Object Number: 1661149  Size: CH

Connector Part Information

  • OEM: TYCO 936240-1
  • Service: N/A
  • Description: 6-Way F 090III Unsealed

Connector Part Information

  • OEM: TYCO 936230-1
  • Service: N/A
  • Description: 6-Way M 090III Unsealed

X203 Inflatable Restraint Harness to I/P Harness

Pin

Wire

Circuit

Function

Pin

Wire

Circuit

Function

1-2

--

--

Not Used

1-2

--

--

Not Used

3

0.35 D-GN

5060

Low Speed GMLAN Serial Data

3

0.35 D-GN

5060

Low Speed GMLAN Serial Data

4

0.35 PK

439

Ignition 1 Voltage

4

0.35 PK

439

Ignition 1 Voltage

5

0.35 BN/WH

351

Ground

5

0.35 BN/WH

351

Ground

6

0.35 RD/WH

740

Battery Positive Voltage

6

0.35 RD/WH

740

Battery Positive Voltage

X301 Body Harness to Console Harness (C100)


Object Number: 1830990  Size: CH

Object Number: 1830980  Size: CH

Connector Part Information

  • OEM: TYCO 936196-1
  • Service: N/A
  • Description: 12-Way F 090III Unsealed

Connector Part Information

  • OEM: TYCO 936207-1
  • Service: N/A
  • Description: 12-Way M 090III Unsealed

X301 Body Harness to Console Harness (C100)

Pin

Wire

Circuit

Function

Pin

Wire

Circuit

Function

1

0.35 D-BU

1154

Audio Handset Earpiece Signal

1

0.35 D-BU

1154

Audio Handset Earpiece Signal

2

0.35 BK

450

Ground

2

0.35 BK

450

Ground

3

0.35 RD/WH

2740

Battery Positive Voltage

3

0.35 RD/WH

2740

Battery Positive Voltage

4

0.35 PK

1550

Audio Handset Low Reference

4

0.35 PK

1550

Audio Handset Low Reference

5

0.35 D-GN

654

Cellular Phone Microphone Low

5

0.35 D-GN

654

Cell Phone MIC Low Reference

6

0.35 GY/BK

2520

Transceiver Low Reference

6

0.35 GY/BK

2520

Transceiver Low Reference

7

0.35 PK

1155

Audio Handset Low Reference

7

0.35 PK

1155

Audio Handset Low Reference

8

0.35 L-BU

1505

Passenger Heated Seat Switch Signal

8

0.35 L-BU

1505

Passenger Heated Seat Switch Signal

9

0.35 L-BU

1462

Heated Seat Switch Signal

9

0.35 L-BU

1462

Heated Seat Switch Signal

10

0.35 YE

1491

Backlight Lamp Control

10

0.35 YE

1491

Backuplight Lamp Control

11

0.35 BN

241

Run Ignition 3 Voltage

11

0.35 BN

241

Run Ignition 3 Voltage

12

0.35 GY

655

Cellular Phone Microphone Signal

12

0.35 GY

655

Cell Phone Microphone Low Reference

X301 Body Harness to Console Harness (UWA)(C105)


Object Number: 1830997  Size: CH

Object Number: 1830994  Size: CH

Connector Part Information

  • OEM: TYCO 936199-1
  • Service: N/A
  • Description: 14-Way F 090 series (NA)

Connector Part Information

  • OEM: TYCO 936207-1
  • Service: N/A
  • Description: 14-Way M 090 series (NA)

X301 Body Harness to Console Harness (UWA)(C105)

Pin

Wire

Circuit

Function

Pin

Wire

Circuit

Function

1

0.35 GY

7156

Comm Box RX + Serial Data

1

0.35 GY

7156

Comm Box RX + Serial Data

2

0.35 BK

7155

Comm Box TX + Serial Data

2

0.35 BK

7155

Comm Box TX + Serial Data

3

0.35 RD

7150

Switch Signal

3

0.35 RD

7150

Switch Signal

4

0.35 PU

7148

Mobile Phone SNDREQ Signal

4

0.35 PU

7148

Mobile Phone SNDREQ Signal

5

0.35 BN

7144

Mobile Phone Audio Output Minus Signal

5

0.35 BN

7144

Mobile Phone Audio Output Minus Signal

6

--

--

Not Used

6

--

--

Not Used

7

0.35 PK

7152

Comm Box RX Serial Data

7

0.35 PK

7152

Comm Box RX Serial Data

8

0.35 PU

7309

Communication Box TX Serial Data

8

0.35 PU

7309

Communication Box TX Serial Data

9

0.35 BK

51

Ground

9

0.35 BK

51

Ground

10

0.35 GN

7149

Communication Box Mic Output Minus Signal

10

0.35 GN

7149

Communication Box Mic Output Minus Signal

11

0.35 YE

7154

Comm Box Mic OT Plus Signal

11

0.35 YE

7154

Comm Box Mic OT Plus Signal

12

0.35 OG

7153

Mobile Phone Current Limited Supply Voltage

12

0.35 OG

7153

Mobile Phone Current Limited Supply Voltage

13

0.35 WH

7147

Mobile Phone Audio Output Plus Signal

13

0.35 WH

7147

Mobile Phone Audio Output Plus Signal

14

--

--

Not Used

14

--

--

Not Used

X302 Body Harness to Inflatable Restraint Roof Rail Module Harness - Left


Object Number: 1467007  Size: CH

Object Number: 1481288  Size: CH

Connector Part Information

  • OEM: FCI 6020-1704
  • Service: N/A
  • Description: 2-Way F SICMAIII Unsealed

Connector Part Information

  • OEM: FCI 6030-1104
  • Service: N/A
  • Description: 2-Way M SICMAIII Unsealed

X302 Body Harness to Inflatable Restraint Roof Rail Module Harness - Left

Pin

Wire

Circuit

Function

Pin

Wire

Circuit

Function

1

0.35 PK

5020

LF Roof Rail Module High

1

0.35 PK

5020

LF Roof Rail Module High

2

0.35 PU/WH

5019

LF Roof Rail Module Low

2

0.35 PU/WH

5019

LF Roof Rail Module Low

X303 Body Harness to Inflatable Restraint Roof Rail Module Harness - Right


Object Number: 1467007  Size: CH

Object Number: 1481288  Size: CH

Connector Part Information

  • OEM: FCI 6020-1704
  • Service: N/A
  • Description: 2-Way F SICMAIII Unsealed

Connector Part Information

  • OEM: FCI 6030-1104
  • Service: N/A
  • Description: 2-Way M SICMAIII Unsealed

X303 Body Harness to Inflatable Restraint Roof Rail Module Harness - Right

Pin

Wire

Circuit

Function

Pin

Wire

Circuit

Function

1

0.35 YE/BK

5021

RF Roof Rail Module High

1

0.35 YE/BK

5021

RF Roof Rail Module High

2

0.35 WH/BK

5022

RF Roof Rail Module Low

2

0.35 WH/BK

5022

RF Roof Rail Module Low

X306 Body Harness to Console Harness (C105)


Object Number: 1830997  Size: CH

Object Number: 1830994  Size: CH

Connector Part Information

  • OEM: TYCO 936199-1
  • Service: N/A
  • Description: 16-Way F 090 series (NA)

Connector Part Information

  • OEM: TYCO 936207-1
  • Service: N/A
  • Description: 16-Way M 090 series (NA)

X306 Body Harness to Console Harness (C105)

Pin

Wire

Circuit

Function

Pin

Wire

Circuit

Function

1

0.35 BU/WH

1382

LED Dimming Signal

1

0.35 BU/WH

1382

LED Dimming Signal

2

0.35 BK

550

Ground

2

0.35 BK

550

Ground

3

0.35 RD/WH

2740

Battery Positive Voltage

3

0.35 RD/WH

2740

Battery Positive Voltage

4

0.35 RD/WH

2640

Battery Positive Voltage

4

0.35 RD/WH

2640

Battery Positive Voltage

5

0.35 PU

6172

Driver Heated Seat Switch Back Cushion Signal

5

0.35 PU

6172

Driver Heated Seat Switch Back Cushion Signal

6

0.35 GN

1661

Driver Heated Seat High Indicator Control

6

0.35 GN

1661

Driver Heated Seat High Indicator Control

7

--

--

Not Used

7

--

--

Not Used

8

0.35 WH/BK

6177

Driver Heated Seat Medium Indicator Control

8

0.35 WH/BK

6177

Driver Heated Seat Medium Indicator Control

9

0.35 L-BU

1662

Driver Heated Seat Low Indicator Control

9

0.35 L-BU

1662

Driver Heated Seat Low Indicator Control

10

0.35 D-BU

6180

Passenger Heated Seat Switch Back Cushion Signal

10

0.35 D-BU

6180

Passenger Heated Seat Switch Back Cushion Signal

11

0.35 YE

1491

Backlight Lamp Control

11

0.35 YE

1491

Backlight Lamp Control

12

0.35 BN

41

Run Ignition 3 Voltage

12

0.35 BN

41

Run Ignition 3 Voltage

13

0.35 YE

1685

Passenger Heated Seat High Indicator Control

13

0.35 YE

1685

Passenger Heated Seat High Indicator Control

14

WH/BK

6185

Passenger Heated Seat Medium Indicator Control

14

WH/BK

6185

Passenger Heated Seat Medium Indicator Control

15

0.35 BN

1686

Passenger Heated Seat Low Indicator Control

15

0.35 BN

1686

Passenger Heated Seat Low Indicator Control

16

--

--

Not Used

16

--

--

Not Used

X402 Body Harness to Lift Gate Harness


Object Number: 1830992  Size: CH

Object Number: 1830993  Size: CH

Connector Part Information

  • OEM: MOLEX 35896-2010
  • Service: N/A
  • Description: 20-Way F 090II Unsealed

Connector Part Information

  • OEM: MOLEX 35897-2010
  • Service: N/A
  • Description: 20-Way M 090II Unsealed

X402 Body Harness to Lift Gate Harness

Pin

Wire

Circuit

Function

Pin

Wire

Circuit

Function

1

--

--

Not Used

1

--

--

Not Used

2

0.35 BK

650

Ground

2

0.35 BK

650

Ground

3

0.35 D-GN

392

Rear Window Washer Pump Control

3

0.35 D-GN

392

Rear Window Washer Pump Control

4

0.35 RD/WH

2240

Battery Positive Voltage

4

0.35 RD/WH

2240

Battery Positive Voltage

5

0.35 PU

293

Rear Defog Elemement Supply Voltage

5

0.35 PU

293

Rear Defog Elemement Supply Voltage

6

0.35 PU

709

Left Park Lamp Supply Voltage

6

0.35 PU

709

Left Park Lamp Supply Voltage

7

0.35 OG

6201

Camera Supply Voltage (UVC)

7

0.35 OG

6201

Camera Supply Voltage (UVC)

8

0.35 BN

6188

Lift Glass/Trunk MTR Release Control

8

0.35 BN

6188

Lift Glass/Trunk MTR Release Control

9

0.35 GY

391

Rear Window Wiper Switch Signal

9

0.35 GY

391

Rear Window Wiper Switch Signal

10

0.35 BN/BK

6202

Camera Ground (UVC)

10

0.35 BN/BK

6202

Camera Ground (UVC)

11

0.35 GY

6208

Coaxial Camera Signal (UVC)

11

0.35 GY

6208

Coaxial Camera Signal (UVC)

12

0.35 L-BU

20

Stop Lamp Supply Voltage

12

0.35 L-BU

20

Stop Lamp Supply Voltage

13

--

--

Not Used

13

--

--

Not Used

14

0.35 PK/BK

1303

Liftgate Ajar Switch Signal (1)

14

0.35 PK/BK

1303

Liftgate Ajar Switch Signal (1)

15

0.35 BN

294

Door Lock Actuator Unlock Control

15

0.35 BN

294

Door Lock Actuator Unlock Control

16

0.35 GY

295

Door Lock Actuator Lock Control

16

0.35 GY

295

Door Lock Actuator Lock Control

17

0.35 WH

6798

Camera Video Signal (UVC)

17

0.35 WH

6798

Camera Video Signal (UVC)

18

0.35 YE

6799

Camera Shield (UVC)

18

0.35 YE

6799

Camera Shield (UVC)

19

0.35 OG

9000

Rear Wiper Auto On Signal

19

0.35 OG

9000

Rear Wiper Auto On Signal

20

0.35 BN

305

Trunk Key Switch Signal

20

0.35 BN

305

Trunk Key Switch Signal

X405 Body Harness to Rear Object Sensor Harness


Object Number: 1466981  Size: CH

Object Number: 1843620  Size: CH

Connector Part Information

  • OEM: AMP 368530-1
  • Service: N/A
  • Description: 6-Way F Sealed

Connector Part Information

  • OEM: AMP 174264-2
  • Service: N/A
  • Description: 6-Way M Sealed

X405 Body Harness to Rear Object Sensor Harness

Pin

Wire

Circuit

Function

Pin

Wire

Circuit

Function

1

OG

2376

LH Object Signal

1

OG

2376

LH Object Signal

2

GY

2379

Low Reference

2

GY

2379

Low Reference

3

YE

2375

L-Center Object Signal

3

YE

2375

L-Center Object Signal

4

PU

2378

R Center Object Signal

4

PU

2378

R Center Object Signal

5

GY/BK

2379

Low Reference

5

GY/BK

2379

Low Reference

6

D-GN

2377

RH Object Signal

6

D-GN

2377

RH Object Signal

X901 Lift Gate Harness to Lift GateJumper Harness


Object Number: 1830997  Size: CH

Object Number: 1830994  Size: CH

Connector Part Information

  • OEM: TYCO 936199-1
  • Service: N/A
  • Description: 14-Way F 090III Unsealed

Connector Part Information

  • OEM: TYCO 936209-1
  • Service: N/A
  • Description: 14-Way M 090III Unsealed

X901 Lift Gate Harness to Lift GateJumper Harness

Pin

Wire

Circuit

Function

Pin

Wire

Circuit

Function

1

0.35 RD/WH

2240

Battery Positive Voltage

1

0.35 RD/WH

2240

Battery Positive Voltage

2

0.35 PK/BK

1303

Liftgate Ajar Switch Signal (1)

2

0.35 PK/BK

1303

Liftgate Ajar Switch Signal (1)

3

--

--

Not Used

3

--

--

Not Used

4

0.35 PU

709

Left Park Lamp Supply Voltage

4

0.35 PU

709

Left Park Lamp Supply Voltage

5

0.35 L-BU

20

Stop Lamp Supply Voltage

5

0.35 L-BU

20

Stop Lamp Supply Voltage

6

0.35 D-GN

392

Rear Window Washer Pump Control

6

0.35 D-GN

392

Rear Window Washer Pump Control

7

0.35 GY

391

Rear Window Wiper Switch Signal

7

0.35 GY

391

Rear Window Wiper Switch Signal

8

0.35 OG

9000

Rear Wiper Auto On Signal

8

0.35 OG

9000

Rear Wiper Auto On Signal

9

0.35 BN

305

Trunk Key Switch Signal

9

0.35 BN

305

Trunk Key Switch Signal

10

0.35 BN

6188

Lift Glass/Trunk MTR Release

10

0.35 BN

6188

Lift Glass/Trunk MTR Release

11

0.35 BK

650

Ground

11

0.35 BK

650

Ground

12

0.35 GY

295

Door Lock Actuator Lock Control

12

0.35 GY

295

Door Lock Actuator Lock Control

13

0.35 BN

294

Door Lock Actuator Unlock Control

13

0.35 BN

294

Door Lock Actuator Unlock Control

14

0.35 PU

293

Rear Defog Element Supply Voltage

14

0.35 PU

293

Rear Defog Element Supply Voltage

X902 Lift Gate Harness to Rear View Camera Harness


Object Number: 1661149  Size: CH

Object Number: 1661148  Size: CH

Connector Part Information

  • OEM: AMP 936230-1
  • Service: N/A
  • Description: 6-Way F Unsealed

Connector Part Information

  • OEM: AMP 936240-1
  • Service: N/A
  • Description: 6-Way M Unsealed

X902 Lift Gate Harness to Rear View Camera Harness

Pin

Wire

Circuit

Function

Pin

Wire

Circuit

Function

1

OG

6201

Camera Supply Voltage

1

OG

6201

Camera Supply Voltage

2

BN/BK

6202

Camera Ground

2

BN/BK

6202

Camera Ground

3

GR

6208

Coaxial Camera Signal

3

GR

6208

Coaxial Camera Signal

4

WH

6798

Camera video Signal

4

WH

6798

Camera video Signal

5

YE

6799

Camera Shield

5

YE

6799

Camera Shield

6

--

--

Not Used

6

--

--

Not Used