GM Service Manual Online
For 1990-2009 cars only

IGNITION NOISE DURING CASSETTE TAPE DECK OPERATION

VEHICLES AFFECTED: 1987-88 A CARS

CONDITION: Engine ignition noise is heard in the speakers only while playing the cassette tape deck on some 1987-88 "A" cars.

CAUSE: The battery power feed wire for the Direct Ignition System (DIS) is routed close to the radio receiver. This wire emits a pulsating magnetic field that is picked up by the tape head and amplified through the speakers.

CORRECTION: To repair the noise condition, reroute the DIS power feed wire away from the radio, through the engine compartment.

The following procedure should be used to repair any concerned vehicles:

NOTICE: THE INTEGRITY OF THE BATTERY POWER FEED CIRCUIT FOR THE IGNITION SYSTEM (INJECTORS, DIS MODULE, ECM) IS IMPORTANT FOR ENGINE OPERATION. PROPER SERVICE PROCEDURES FOR THE SPLICING OF COPPER WIRES, AS DEFINED IN SECTION 8A OF THE SERVICE MANUAL, SHOULD BE CLOSELY FOLLOWED WHILE PERFORMING THIS PROCEDURE. ALL SPLICES SHOULD BE CRIMPED, SOLDERED, AND TAPED TO GUARANTEE A GOOD CONNECTION.

1. Disconnect the negative battery cable.

2. Obtain approximately 15 ft. of 3mm (#12 gauge) pink automotive wire.

3. Remove the left hand lower trim panel to gain access to the area above the brake pedal.

4. Locate the cruise control wiring grommet (See Figure 1).

5. Route the 3mm (#12 gauge) pink wire through the center of the cruise control grommet by attaching some piano wire to the end of it to use as a guide. Applying silicon spray on the wire and grommet will help reduce the amount of friction during installation. (If the vehicle is not equipped with cruise control, use the speedometer cable grommet).

BUICK-OLDS-PONTIAC ONLY

6. Splice the new pink wire onto either of the two large pink wires (Circuit 3) located in the main Instrument Panel (I/P) harness (See Figure 1).

DO NOT CUT THE EXISTING WIRE, SPLICE ONTO IT.

CHEVROLET ONLY

6. Cut the pink/white wire (Circuit 439) coming out of the DSL/ECM fuse on the upper left corner of the fuse block. Splice the new pink wire into the wire going to the fuse and tape back the other wire that runs into the existing I/P harness.

7. Reinstall the lower trim panel.

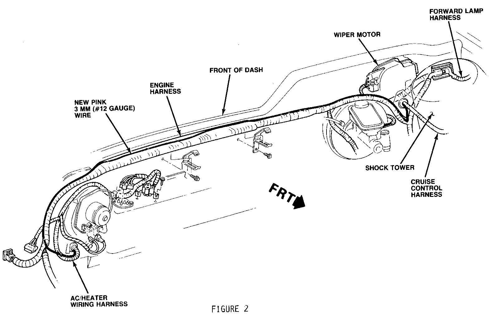
8. Route the new pink wire across the engine compartment as shown in Figure 2 (V-6 engine) or Figure 3 (L-4 engine). Install the new wire inside the existing engine harness to protect it.

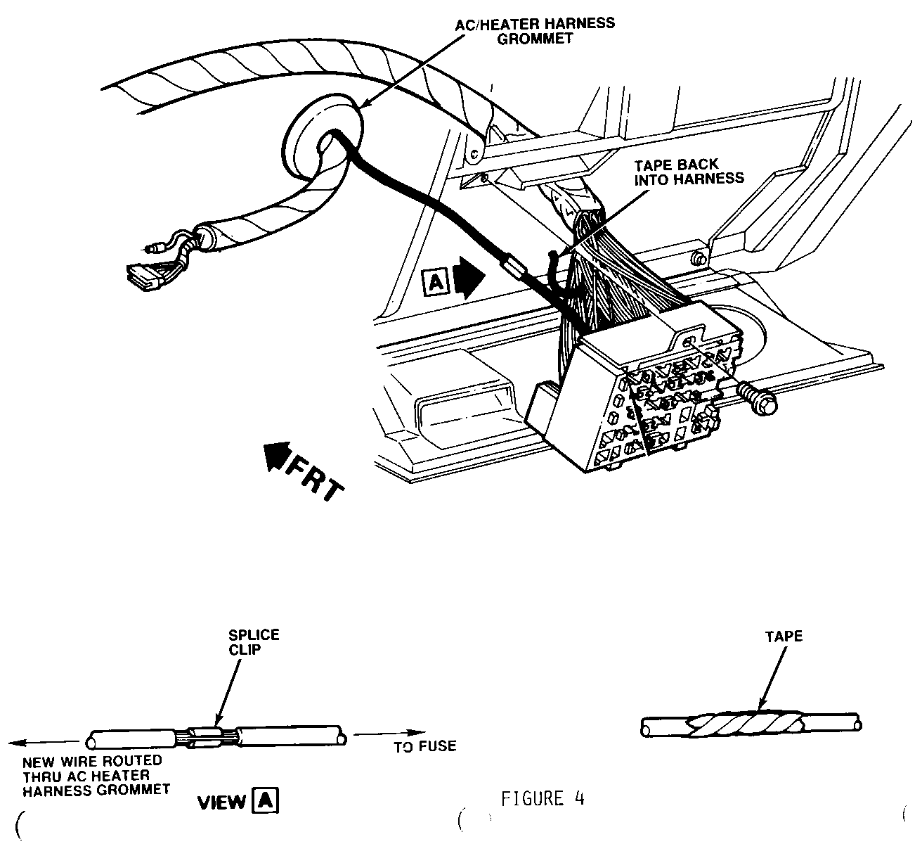
9. Remove the right hand lower trim panel and glove box to gain access to the AC/Heater control wiring harness grommet.

10. Route the new pink, wire back into the passenger compartment through the AC/Heater wiring grommet. Use the same procedure as in step 5.

BUICK-OLDS-PONTIAC ONLY

11. Remove the fuse block from the instrument panel.

*12.Cut all solid pink 3mm (#12 gauge) wires leading into the fuse block from the I/P wiring harness. There will be 2 or 3 pink wires depending on the vehicle.

Splice the new wire into the cut pink wires going to the fuse block. Remember to crimp, solder, and tape these splices.

Tape back the cut wires coming from the existing I/P harness.

13. Reinstall the fuse block, glove box, and lower trim panel.

CHEVROLET ONLY

11. Cut the pink/white wire (Circuit 439) from cavity F of connector C210 (Black male connector). See Figure 4.

12. Splice the new pink wire into the pink/white wire going into cavity F. Tape the other half of the pink/white wire back into the I/P harness.

13. Reinstall the glove box and lower trim panel.

14. Reconnect the negative battery cable.


Object Number: 78102  Size: FS


Object Number: 74476  Size: FS


Object Number: 74994  Size: FS


Object Number: 75827  Size: FS

General Motors bulletins are intended for use by professional technicians, not a "do-it-yourselfer". They are written to inform those technicians of conditions that may occur on some vehicles, or to provide information that could assist in the proper service of a vehicle. Properly trained technicians have the equipment, tools, safety instructions and know-how to do a job properly and safely. If a condition is described, do not assume that the bulletin applies to your vehicle, or that your vehicle will have that condition. See a General Motors dealer servicing your brand of General Motors vehicle for information on whether your vehicle may benefit from the information.