- Perform the trim height
inspection. Refer to
Trim Height Inspection
in Suspension General Diagnosis.
- Load 250-300 lbs into the rear of the passenger compartment
(enough load to activate the automatic level control air compressor), distributed
evenly from left to right.
- Turn ON the ignition, with the engine OFF. Wait for approximately
one minute for the Air Replenishment Cycle to complete.
- Turn OFF the ignition.
- Repeat the trim height inspection. Refer to
Trim Height Inspection
in Suspension General Diagnosis.
Do not adjust the automatic level control sensor if the vehicle is within
the correct trim height range.
- Raise and suitably support the vehicle. Refer to
Lifting and Jacking the Vehicle
in General Information. Ensure that the vehicle is roughly level and supported
by the rear wheels or axle.
Notice: When diagnosis or repair requires raising the vehicle on a hoist, it
is important that the rear axle remains in the normal trim height position
at all times. Therefore, the hoists should support the rear wheels or axle
housing. Use two additional jack stands to support the rear axle when a frame
contact hoist is used or damage to the auto level control air
compressor could occur.
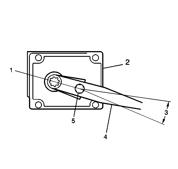
- Inspect the automatic level control sensor for damage. Ensure that the
automatic level control sensor link is properly connected .
Important: The link must be attached to the height sensor arm and the suspension
control arm during the adjustment.
- Loosen the lock bolt (5) that clamps the metal actuating arm (4) to
the plastic actuating arm.
- To increase the trim height, move the plastic arm up in relation
to the metal arm. To decrease the trim height, move the plastic arm down in
relation to the metal arm.
Notice: Use the correct fastener in the correct location. Replacement fasteners
must be the correct part number for that application. Fasteners requiring
replacement or fasteners requiring the use of thread locking compound or sealant
are identified in the service procedure. Do not use paints, lubricants, or
corrosion inhibitors on fasteners or fastener joint surfaces unless specified.
These coatings affect fastener torque and joint clamping force and may damage
the fastener. Use the correct tightening sequence and specifications when
installing fasteners in order to avoid damage to parts and systems.
- Tighten the lock
bolt.
Tighten
Tighten the lock bolt to 5 N·m (44 lb in).
- Perform the trim height inspection. Refer to
Trim Height Inspection
in Suspension General Diagnosis.
Optional Sensor Adjustment Method
Special Tool J 34825
may be used for sensor adjustment. Instructions are provided with the tool.