GM Service Manual Online
For 1990-2009 cars only

Tools Required

    • J 2619-O1 Slide Hammer
    • J 23129 Universal Seal Remover
    • J 29794 Axle Shaft Remover Extension
    • J 44752 Bearing, Race, and Seal Installer

Removal Procedure

  1. Raise and support the vehicle. Refer to Lifting and Jacking the Vehicle in General Information.
  2. Remove the right front tire and wheel assembly. Refer to Tire and Wheel Removal and Installation in Tires and Wheels.
  3. Remove the right front wheel drive shaft. Refer to Front Wheel Drive Shaft Replacement in Wheel Drive Shafts.

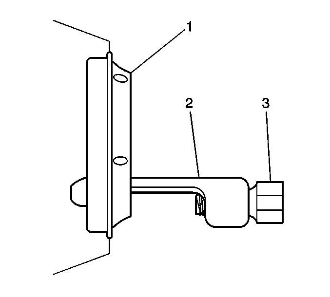
  4. Object Number: 640539  Size: SH
  5. Using the J 2619-O1 with the J 29794 and the J 23129 remove the axle shaft oil seal (1) from the transfer case.

Installation Procedure


    Object Number: 754560  Size: SH
  1. Lubricate the lip of the axle shaft oil seal with automatic transaxle fluid.
  2. Using the J 44752 install the axle shaft oil seal to the transfer case.
  3. Important: Carefully guide the axle shaft past the axle shaft oil seal. Do NOT allow the shaft splines to contact any portion of the sealing surface or damage to the oil seal can occur.

  4. Install the right front wheel drive shaft. Refer to Front Wheel Drive Shaft Replacement in Wheel Drive Shafts.
  5. Install the right front tire and wheel assembly. Refer to Tire and Wheel Removal and Installation in Tires and Wheels.
  6. Lower the vehicle.
  7. Inspect the transaxle fluid level. Refer to Transmission Fluid Check in Automatic Transaxle - 4T65-E.
  8. Inspect for fluid leaks. Refer to Fluid Leak Diagnosis in Automatic Transaxle - 4T65-E and Transfer Case Leak Diagnosis .