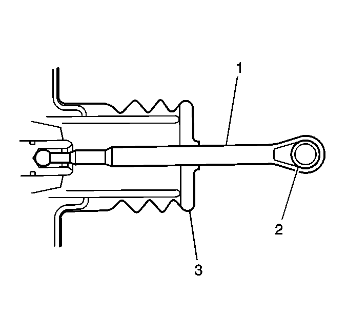
- Disconnect the brake pedal pushrod (1)
from the brake pedal.
- Inspect the brake pedal pushrod eyelet bushing (2), if equipped,
for cracks and/or excessive wear.
- Reposition the pedal pushrod boot (3) toward the front of the
vehicle to expose as much of the pedal pushrod (1) as possible.
- Inspect the brake pedal pushrod (1) for straightness.
- If the brake pedal pushrod eyelet bushing (2) exhibited cracks
and/or excessive wear, then the bushing requires replacement.
- If the brake pedal pushrod (1) is not straight, then the pushrod
requires replacement.
- Return the pedal pushrod boot (3) to its original position on
the pedal pushrod (1).
- Connect the brake pedal pushrod (1) to the brake pedal.