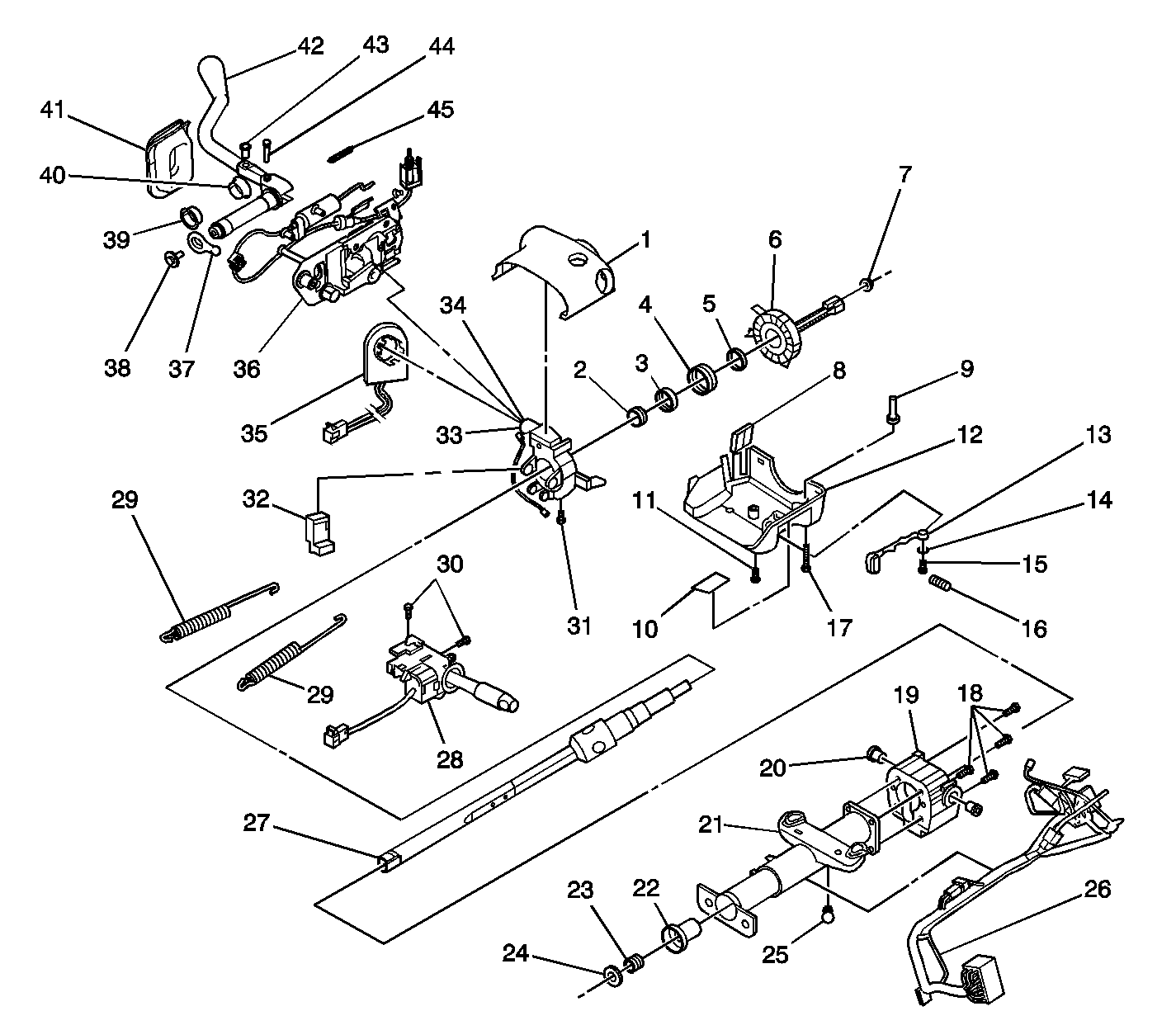
|
| (1) | Upper Trim Cover |
| (2) | Upper Bearing |
| (3) | Upper Bearing Seat |
| (4) | Steering Shaft Upper Bearing Spring |
| (5) | Inflatable Restraint Steering Wheel Module Coil |
| (6) | Bearing Retainer |
| (7) | Steering Wheel Nut |
| (8) | Trim Cover Protector |
| (9) | Sleeve |
| (10) | Cover, Housing Trim Extension |
| (11) | Lower Trim Cover Screws |
| (12) | Lower Trim Cover |
| (13) | Tilt Lever |
| (14) | Tilt Lever Spring |
| (15) | Tilt Lever Bolt |
| (16) | Tilt Lever Spring |
| (17) | Lower Trim Cover Screw |
| (18) | Lower Tilt Head Mounting Bolts |
| (19) | Lower Tilt Head |
| (20) | Tilt Head Pivot Pins |
| (21) | Steering Column Jacket Assembly |
| (22) | Adapter and Bearing Assembly |
| (23) | Lower Bearing Seat |
| (24) | Lower Bearing Retainer |
| (25) | Wire Harness Retainer |
| (26) | Wire Harness Assembly |
| (27) | Shaft Assembly |
| (28) | Multifunction Switch |
| (29) | Tilt Head Springs |
| (30) | Multifunction Switch Screws |
| (31) | Trim Cover Screw |
| (32) | Actuator, Automatic Transmission Shift Lock Control |
| (33) | Ignition Switch |
| (34) | Ignition Key Alarm Switch |
| (35) | Upper Tilt Head |
| (36) | Theft Deterrent Module |