GM Service Manual Online
For 1990-2009 cars only

DTC P0717 3.4L


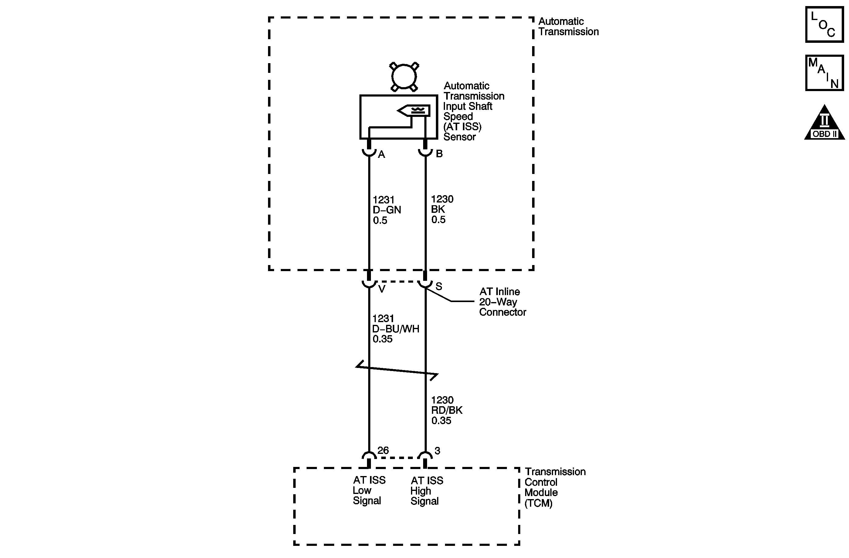
Object Number: 1275049  Size: MF
Master Electrical Component List
Automatic Transmission Controls Schematics
OBD II Symbol Description Notice

Circuit Description

The automatic transmission input speed sensor (ISS) is a permanent magnet with a coil of wire wound around it. The ISS mounts in the case cover facing the reluctor wheel of the input shaft. As the reluctor wheel is driven by the turbine shaft, an AC signal is induced in the input speed sensor. Higher vehicle speeds induce a higher frequency and voltage at the sensor.

There is a fixed air gap between the sensor and the teeth on the sensor reluctor wheel. The ISS input is used by the PCM in order to control line pressure, TCC apply and release and transmission shift patterns. This sensor is also used to calculate the gear ratios and TCC slippage.

If the PCM detects a low input speed while the vehicle and engine speeds are high, then DTC P0717 sets. DTC P0717 is a type B DTC.

Conditions for Running the DTC

    • No VSS DTC P0502 or P0503.
    • No engine torque malfunction.
    • The engine speed is greater than 500 RPM for 5 seconds and not in fuel cut off.
    • The vehicle speed is 8 km/h (5 mph) or greater.
    • The engine torque is greater than 68 N·m (50 lb ft).

Conditions for Setting the DTC

The input shaft speed is less than 100 RPM for 5 seconds.

Action Taken When the DTC Sets

    • The PCM illuminates the malfunction indicator lamp (MIL) during the second consecutive trip in which the Conditions for Setting the DTC are met.
    • The PCM inhibits TCC.
    • The PCM freezes transmission adaptive functions.
    • The PCM inhibits 4th gear if the transmission is in Hot Mode.
    • The PCM records the operating conditions when the Conditions for Setting the DTC are met. The PCM stores this information as Freeze Frame and Failure Records.
    • The PCM stores DTC P0717 in PCM history during the second consecutive trip in which the Conditions for Setting the DTC are met.

Conditions for Clearing the MIL/DTC

    • The PCM turns OFF the MIL during the third consecutive trip in which the diagnostic test runs and passes.
    • A scan tool can clear the MIL/DTC.
    • The PCM clears the DTC from PCM history if the vehicle completes 40 warm-up cycles without an emission-related diagnostic fault occurring.
    • The PCM cancels the DTC default actions when the ignition switch is OFF long enough in order to power down the PCM.

Diagnostic Aids

Ensure the wiring harness is not stretched too tightly or other components are pressing on the A/T inline 20-way connector body. Also inspect for proper clearance to any other components and wiring. Refer to Intermittent Conditions in Engine Controls - 3.4L.

Test Description

The numbers below refer to the step numbers on the diagnostic table.

  1. A Yes answer indicates that the transmission side of the circuit is functioning properly.

  2. Although the resistance is within specification in Step 3, there may be a short to ground or a short to voltage condition.

  3. This step begins the transmission harness diagnosis.

Step

Action

Value(s)

Yes

No

1

Did you perform the Diagnostic System Check - Engine Controls?

--

Go to Step 2

Go to Diagnostic System Check - Engine Controls in Engine Controls - 3.4L

2

  1. Install a scan tool.
  2. Turn ON the ignition with the engine OFF.
  3. Important: Before clearing the DTCs, use the scan tool in order to record the Freeze Frame and Failure Records for reference. Using the Clear DTC Information function will erase the stored Freeze Frame and Failure Records from the PCM.

  4. Record the Freeze Frame and Failure Records.
  5. Clear the DTCs.
  6. Start and idle the engine in PARK.
  7. With the scan tool, observe the Transmission ISS parameter.

Does the scan tool display a transmission input shaft speed greater than the specified value?

100 RPM

Go to Intermittent Conditions in Engine Controls - 3.4L

Go to Step 3

3

  1. Turn OFF the ignition.
  2. Disconnect the transmission 20-way connector. Additional DTCs may set.
  3. Connect the J 44152 jumper harness to the transmission side of the 20-way connector.
  4. Using the J 35616 GM terminal test kit, connect the DMM between the ISS high signal and the ISS low signal circuits of the J 44152 .
  5. Refer to Automatic Transmission Inline 20-Way Connector End View .

  6. Measure the resistance.

Is the resistance within the specified value?

820-1428 ohms

Go to Step 4

Go to Step 8

4

  1. Leave one lead of the DMM connected to the ISS high signal circuit of the J 44152 .
  2. Using the other lead, test for a short between the ISS high signal circuit and all other terminals in the 20-way connector of the transmission harness.
  3. Test for a short between the ISS high signal circuit and the transmission case.

Refer to Circuit Testing in Wiring Systems.

Did you find the condition?

--

Go to Step 10

Go to Step 5

5

Test the high signal circuit of the ISS for an open, a short to ground or a short to the low signal circuit between the PCM and the AT inline 20-way connector.

Refer to Circuit Testing and Wiring Repairs in Wiring Systems.

Did you find and correct the condition?

--

Go to Step 13

Go to Step 6

6

  1. Turn ON the ignition with the engine OFF.
  2. Test the high signal circuit of the ISS for a short to voltage between the PCM and the AT inline 20-way connector.
  3. Refer to Testing for a Short to Voltage and Wiring Repairs in Wiring Systems.

Did you find and correct the condition?

--

Go to Step 13

Go to Step 7

7

Test the low signal circuit of the ISS for an open between the PCM and the AT inline 20-way connector.

Refer to Testing for Continuity and Wiring Repairs in Wiring Systems.

Did you find and correct the condition?

--

Go to Step 13

Go to Step 12

8

Test the high signal circuit of the ISS for an open or a short to the low signal circuit of the ISS between the AT inline 20-way connector and the sensor.

Refer to Circuit Testing in Wiring Systems.

Did you find the condition?

--

Go to Step 10

Go to Step 9

9

Test the low signal circuit of the ISS for an open between the AT inline 20-way connector and the sensor.

Refer to Testing for Continuity in Wiring Systems.

Did you find the condition?

--

Go to Step 10

Go to Step 11

10

Replace the automatic transmission wiring harness assembly.

Refer to Wiring Harness Replacement .

Did you complete the replacement?

--

Go to Step 13

--

11

Replace the input speed sensor.

Refer to Input Speed Sensor Replacement .

Did you complete the replacement?

--

Go to Step 13

--

12

Replace the PCM.

Refer to Powertrain Control Module Replacement in Engine Controls - 3.4L.

Did you complete the replacement?

--

Go to Step 13

--

13

Perform the following procedure in order to verify the repair:

  1. Select DTC.
  2. Select Clear DTC Information.
  3. Start and idle the engine in PARK. The Transmission ISS must be greater than 450 RPM for 2 seconds.
  4. Select Specific DTC.
  5. Enter DTC P0717.

Has the test run and passed?

--

Go to Step 14

Go to Step 2

14

With a scan tool, observe the stored information, capture info and DTC info.

Does the scan tool display any DTCs that you have not diagnosed?

--

Go to Diagnostic Trouble Code (DTC) List in Engine Controls - 3.4L

System OK

DTC P0717 3.6L


Object Number: 1201824  Size: MF
Master Electrical Component List
Automatic Transmission Controls Schematics
OBD II Symbol Description Notice

Circuit Description

The automatic transmission input speed sensor (ISS) is a permanent magnet with a coil of wire wound around it. The ISS mounts in the case cover facing the reluctor wheel of the input shaft. As the reluctor wheel is driven by the turbine shaft, an AC signal is induced in the input speed sensor. Higher vehicle speeds induce a higher frequency and voltage at the sensor.

There is a fixed air gap between the sensor and the teeth on the sensor reluctor wheel. The ISS input is used by the TCM in order to control line pressure, TCC apply and release and transmission shift patterns. This sensor is also used to calculate the gear ratios and TCC slippage.

If the TCM detects a low input speed while the vehicle and engine speeds are high, then DTC P0717 sets. DTC P0717 is a type B DTC.

Conditions for Running the DTC

    • No TP sensor DTC P0121, P0122 or P0123.
    • No VSS DTC P0722 or P0723.
    • No ISS sensor DTC P0717.
    • DTC P0717 has passed this ignition cycle.
    • No 1-2 shift solenoid valve DTC P0751, P0752 or P0753.
    • The engine speed is greater than 500 RPM for 5 seconds and not in fuel shut off.
    • The ISS is greater than 1050 RPM for at least 2 seconds.
    • An increase in ISS is less than 500 RPM for at least 2 seconds.
    • The vehicle speed is 16 km/h (10 mph) or greater.
    • Throttle position is at least 5 percent.
    • The engine torque is 68 N·m (50 lb ft) or more.

Conditions for Setting the DTC

The input shaft speed is less than 50 RPM for 4.5 seconds.

Action Taken When the DTC Sets

    • The TCM requests the ECM to illuminate the malfunction indicator lamp (MIL) during the second consecutive trip in which the Conditions for Setting the DTC are met.
    • The TCM inhibits Torque management.
    • The TCM freezes transmission adaptive functions.
    • The TCM calculates input speed.
    • The TCM records the operating conditions when the Conditions for Setting the DTC are met. The TCM stores this information as Freeze Frame and Failure Records.
    • The TCM stores DTC P0717 in TCM history during the second consecutive trip in which the Conditions for Setting the DTC are met.

Conditions for Clearing the MIL/DTC

    • The ECM turns OFF the MIL during the third consecutive trip in which the TCM does not send an MIL illumination request.
    • A scan tool can clear the MIL/DTC.
    • The TCM clears the DTC from TCM history if the vehicle completes 40 warm-up cycles without an emission-related diagnostic fault occurring.
    • The TCM cancels the DTC default actions when the ignition switch is OFF long enough in order to power down the TCM.

Diagnostic Aids

Ensure the wiring harness is not stretched too tightly or other components are pressing on the A/T inline 20-way connector body. Also inspect for proper clearance to any other components and wiring. Refer to Intermittent Conditions in Engine Controls - 3.6L.

Test Description

The numbers below refer to the step numbers on the diagnostic table.

  1. A Yes answer indicates that the transmission side of the circuit is functioning properly.

  2. Although the resistance is within specification in Step 3, there may be a short to ground or a short to power condition.

  3. This step begins the transmission harness diagnosis.

Step

Action

Value(s)

Yes

No

1

Did you perform the Diagnostic System Check - Engine Controls?

--

Go to Step 2

Go to Diagnostic System Check - Engine Controls in Engine Controls - 3.6L

2

  1. Install a scan tool.
  2. Turn ON the ignition with the engine OFF.
  3. Important: Before clearing the DTCs, use the scan tool in order to record the Freeze Frame and Failure Records for reference. Using the Clear Info function will erase the stored Freeze Frame and Failure Records from the TCM.

  4. Record the Freeze Frame and Failure Records.
  5. Clear the DTCs.
  6. Start and idle the engine in PARK.
  7. With the scan tool, observe the Transmission ISS parameter.

Does the scan tool display a transmission input shaft speed greater than the specified value?

100 RPM

Go to Intermittent Conditions in Engine Controls - 3.6L

Go to Step 3

3

  1. Turn OFF the ignition.
  2. Disconnect the transmission 20-way connector. Additional DTCs may set.
  3. Connect the J 44152 jumper harness to the transmission side of the 20-way connector.
  4. Using the J 35616 GM terminal test kit, connect the DMM between the ISS high signal and the ISS low signal circuits of the J 44152 .
  5. Refer to Automatic Transmission Inline 20-Way Connector End View .

  6. Measure the resistance.

Is the resistance within the specified value?

820-1428 ohms

Go to Step 4

Go to Step 8

4

  1. Leave one lead of the DMM connected to the ISS high signal circuit of the J 44152 .
  2. Using the other lead, test for a short between the ISS high signal circuit and all other terminals in the 20-way connector of the transmission harness.
  3. Test for a short between the ISS high signal circuit and the transmission case.

Refer to Circuit Testing in Wiring Systems.

Did you find the condition?

--

Go to Step 10

Go to Step 5

5

Test the high signal circuit of the ISS for an open, a short to ground or a short to the low signal circuit between the TCM connector and the AT inline 20-way connector.

Refer to Circuit Testing and Wiring Repairs in Wiring Systems.

Did you find and correct the condition?

--

Go to Step 13

Go to Step 6

6

  1. Turn ON the ignition with the engine OFF.
  2. Test the high signal circuit of the ISS for a short to voltage between the TCM connector and the AT inline 20-way connector.
  3. Refer to Testing for a Short to Voltage and Wiring Repairs in Wiring Systems.

Did you find and correct the condition?

--

Go to Step 13

Go to Step 7

7

Test the low signal circuit of the ISS for an open between the TCM connector and the AT inline 20-way connector.

Refer to Testing for Continuity and Wiring Repairs in Wiring Systems.

Did you find and correct the condition?

--

Go to Step 13

Go to Step 12

8

Test the high signal circuit of the ISS for an open or a short to the low signal circuit of the ISS between the AT inline 20-way connector and the sensor.

Refer to Circuit Testing in Wiring Systems.

Did you find the condition?

--

Go to Step 10

Go to Step 9

9

Test the low signal circuit of the ISS for an open between the AT inline 20-way connector and the sensor.

Refer to Testing for Continuity in Wiring Systems.

Did you find the condition?

--

Go to Step 10

Go to Step 11

10

Replace the automatic transmission wiring harness assembly.

Refer to Wiring Harness Replacement .

Did you complete the replacement?

--

Go to Step 13

--

11

Replace the input speed sensor.

Refer to Input Speed Sensor Replacement .

Did you complete the replacement?

--

Go to Step 13

--

12

Replace the TCM.

Refer to Module, Transmission Control - Replace .

Did you complete the replacement?

--

Go to Step 13

--

13

Perform the following procedure in order to verify the repair:

  1. Select DTC.
  2. Select Clear Info.
  3. Start and idle the engine in PARK. The Transmission ISS must be greater than 450 RPM for 2 seconds.
  4. Select Specific DTC.
  5. Enter DTC P0717.

Has the test run and passed?

--

Go to Step 14

Go to Step 2

14

With a scan tool, observe the stored information, capture info and DTC info.

Does the scan tool display any DTCs that you have not diagnosed?

--

Go to Diagnostic Trouble Code (DTC) List in Engine Controls - 3.6L

System OK