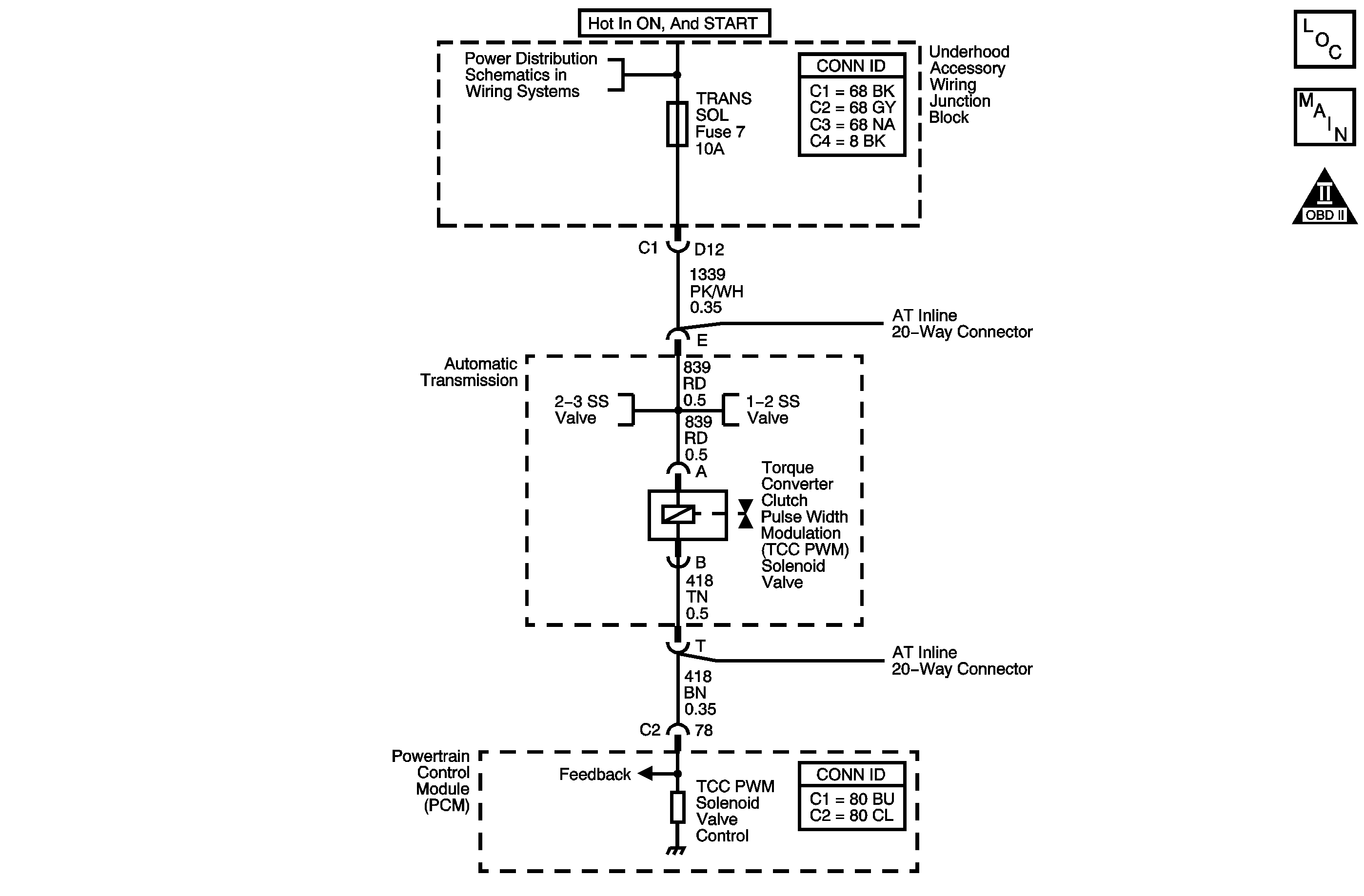
Ignition voltage is provided to the torque converter clutch pulse width modulation (TCC PWM) solenoid valve. The PCM controls the solenoid with a negative duty cycle in order to control application and release of the TCC. When the solenoid is commanded OFF, the PCM senses high voltage. When the solenoid is commanded ON, the PCM senses low voltage.
If the PCM detects a continuous open, short to ground or short to voltage in the TCC PWM valve circuit, then DTC P1860 sets. DTC P1860 is a type B DTC.
| • | The engine speed is greater than 500 RPM for 5 seconds and not in fuel cut off. |
| • | The TCC duty cycle is 10 percent or less or 70 percent or greater. |
DTC P1860 sets when one of the following conditions exists for at least 5 seconds:
| • | The PCM commands the solenoid to greater than 70% duty cycle and the voltage feedback remains high, B+. |
| • | The PCM commands the solenoid to less than 10% duty cycle and the voltage feedback remains low, 0 volts. |
| • | The PCM illuminates the malfunction indicator lamp (MIL) during the second consecutive trip in which the Conditions for Setting the DTC are met. |
| • | The PCM inhibits TCC. |
| • | The PCM inhibits 4th gear if the transmission is in Hot Mode. |
| • | The PCM freezes transmission adaptive functions. |
| • | The PCM records the operating conditions when the Conditions for Setting the DTC are met. The PCM stores this information as Freeze Frame and Failure Records. |
| • | The PCM stores DTC P1860 in PCM history during the second consecutive trip in which the Conditions for Setting the DTC are met. |
| • | The PCM turns OFF the MIL during the third consecutive trip in which the diagnostic test runs and passes. |
| • | A scan tool can clear the MIL/DTC. |
| • | The PCM clears the DTC from PCM history if the vehicle completes 40 warm-up cycles without an emission-related diagnostic fault occurring. |
| • | The PCM cancels the DTC default actions when the ignition switch is OFF long enough in order to power down the PCM. |
Ensure the wiring harness is not stretched too tightly or other components are pressing on the A/T inline 20-way connector body. Also inspect for proper clearance to any other components and wiring. Refer to Intermittent Conditions in Engine Controls - 3.4L.
The number below refers to the step number on the diagnostic table.
Step | Action | Value(s) | Yes | No |
|---|---|---|---|---|
1 | Did you perform the Diagnostic System Check -- Engine Controls? | -- | Go to Step 2 | Go to Diagnostic System Check - Engine Controls in Engine Controls - 3.4L |
Important: Before clearing the DTCs, use the scan tool in order to record the Freeze Frame and Failure Records for reference. Using the Clear DTC Information function will erase the stored Freeze Frame and Failure Records from the PCM. Is DTC P0753 or P0758 also set? | -- | Go to Step 3 | Go to Step 9 | |
3 |
Refer to Circuit Protection - Fuses in Wiring Systems. Was the fuse open? | -- | Go to Step 4 | Go to Step 7 |
4 |
Important: The condition that affects this circuit may exist in other connecting branches of the circuit. Refer to Power Distribution Schematics in Wiring Systems for complete circuit distribution. Test the ignition 1 voltage circuit of the TCC PWM solenoid valve for a short to ground between the fuse block and the AT inline 20-way connector. Refer to Circuit Testing and Wiring Repairs in Wiring Systems. Did you find and correct the condition? | -- | Go to Step 20 | Go to Step 5 |
5 |
Important: The condition that affects this circuit may exist in other connecting branches of the circuit. Refer to Power Distribution Schematics in Wiring Systems for complete circuit distribution. Refer to Testing for Short to Ground in Wiring Systems. Did you find the condition? | -- | Go to Step 17 | Go to Step 6 |
6 |
Did you complete the replacement? | -- | Go to Step 20 | -- |
7 | Test the ignition 1 voltage circuit of the TCC PWM solenoid valve for an open between the fuse block and the AT inline 20-way connector. Refer to Testing for Continuity and Wiring Repairs in Wiring Systems. Did you find and correct the condition? | -- | Go to Step 20 | Go to Step 8 |
8 | Test the ignition 1 voltage circuit of the TCC PWM solenoid valve for an open between the AT inline 20-way connector and the solenoid. Refer to Testing for Continuity in Wiring Systems. Did you find the condition? | -- | Go to Step 17 | Go to Intermittent Conditions in Engine Controls - 3.4L |
9 |
Refer to Automatic Transmission Inline 20-Way Connector End View . Does the test lamp turn ON and OFF? | -- | Go to Step 12 | Go to Step 10 |
10 | Test the ignition 1 voltage circuit of the TCC PWM solenoid valve for an open between the fuse block and the AT inline 20-way connector. Refer to Testing for Continuity and Wiring Repairs in Wiring Systems. Did you find and correct the condition? | -- | Go to Step 20 | Go to Step 11 |
11 | Test the control circuit of the TCC PWM solenoid valve for an open, a short to ground or a short to voltage between the PCM and the AT inline 20-way connector. Refer to Circuit Testing and Wiring Repairs in Wiring Systems. Did you find and correct the condition? | -- | Go to Step 20 | Go to Step 19 |
12 |
Refer to Automatic Transmission Inline 20-Way Connector End View . Does the resistance measure within the specified range? | 10-15 ohms | Go to Step 13 | Go to Step 16 |
13 | Measure the resistance from the TCC PWM solenoid valve control circuit and the ignition 1 voltage circuit to the transmission case. Are both readings greater than the specified value? | 10 K ohms | Go to Step 14 | Go to Step 15 |
14 | Measure the resistance from the TCC PWM solenoid valve control circuit and all other terminals of the A/T inline 20-way connector. Refer to Testing for Continuity in Wiring Systems. Did you find a condition? | 10 K ohms | Go to Step 16 | Go to Intermittent Conditions in Engine Controls - 3.4L |
15 |
Are both readings greater than the specified value? | 10 K ohms | Go to Step 17 | Go to Step 18 |
16 |
Is the resistance within the specified range? | 10-15 ohms | Go to Step 17 | Go to Step 18 |
17 | Replace the AT wiring harness assembly. Refer to Wiring Harness Replacement . Did you complete the replacement? | -- | Go to Step 20 | -- |
18 | Replace the TCC PWM solenoid valve. Refer to Torque Converter Clutch Pulse Width Modulation Solenoid Replacement . Did you complete the replacement? | -- | Go to Step 20 | -- |
19 | Replace the PCM. Refer to Powertrain Control Module Replacement in Engine Controls - 3.4L. Did you complete the replacement? | -- | Go to Step 20 | -- |
20 | Perform the following procedure in order to verify the repair:
Has the test run and passed? | -- | Go to Step 21 | Go to Step 2 |
21 | With a scan tool, observe the stored information, capture info and DTC info. Does the scan tool display any DTCs that you have not diagnosed? | -- | Go to Diagnostic Trouble Code (DTC) List in Engine Controls - 3.4L | System OK |