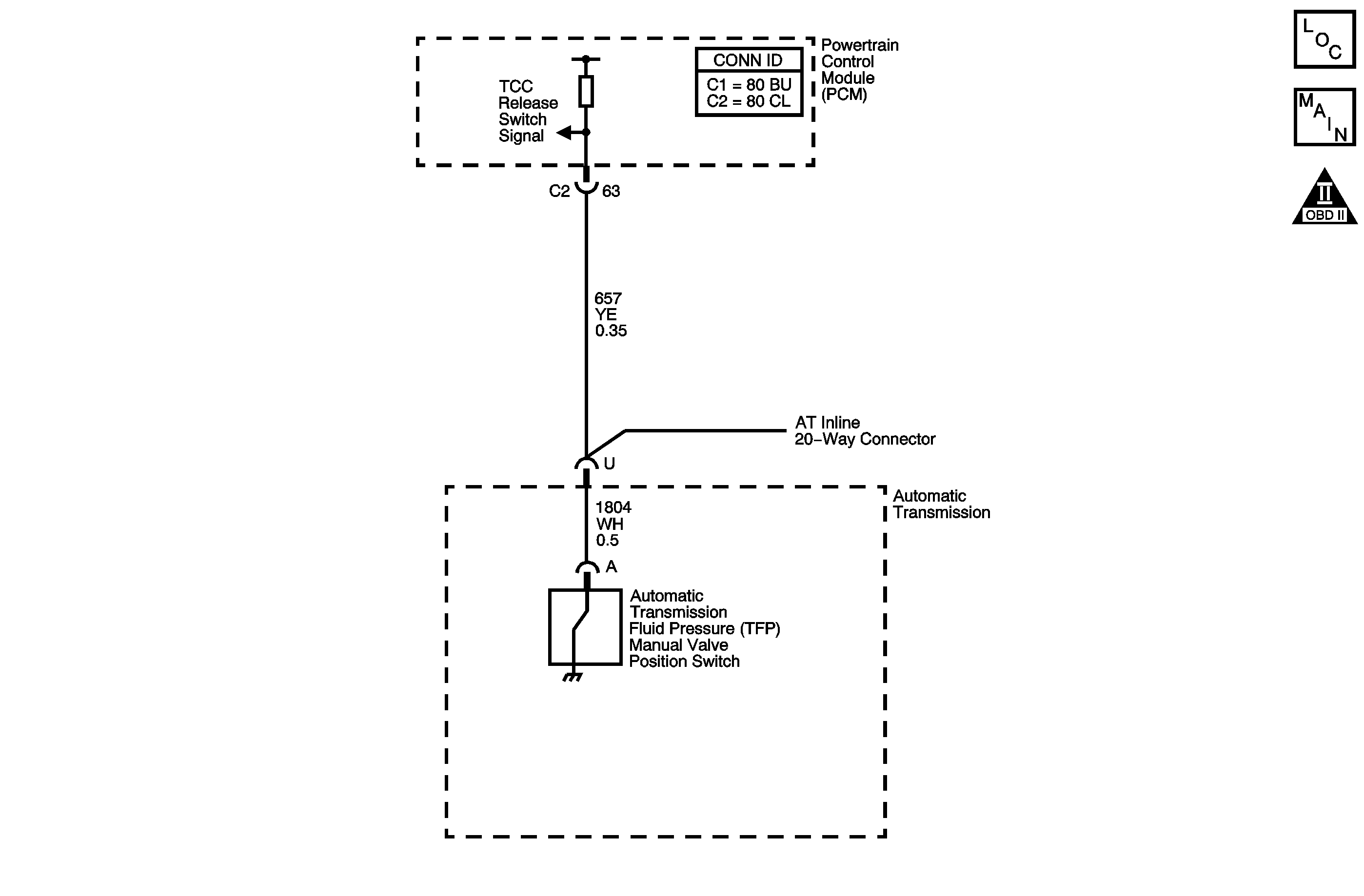
The TCC release switch is part of the transmission fluid pressure (TFP) manual valve position switch. The TFP manual valve position switch is mounted to the transmission valve body. The TCC release switch is normally-closed.
The switch signals the PCM that the TCC is released. This is accomplished by torque converter release fluid pressure acting on the switch contact which opens the circuit. When the circuit voltage is high, the PCM recognizes that the TCC is no longer engaged.
If the PCM determines that the TCC release switch is open indicating that the TCC is not applied and the TCC slip speed indicates that the TCC is applied, then DTC P1887 sets. DTC P1887 is a type B DTC.
| • | No ISS sensor DTC P0716 or P0717. |
| • | No TCC PWM solenoid valve DTC P1860. |
| • | The engine speed is greater than 500 RPM for 5 seconds and not in fuel cut off. |
| • | The TCC is commanded ON. |
| • | The TCC slip speed is -20 to +60 RPM. |
| • | The engine torque is 41-407 N·m (30-300 lb ft). |
DTC P1887 sets when the following condition occurs twice in a single trip:
The TCC release pressure switch is open indicating release pressure present for 6 seconds continuous.
| • | The PCM illuminates the malfunction indicator lamp (MIL) during the second consecutive trip in which the Conditions for Setting the DTC are met. |
| • | The PCM inhibits TCC. |
| • | The PCM inhibits 4th gear if the transmission is in Hot Mode. |
| • | The PCM freezes transmission adaptive functions. |
| • | The PCM records the operating conditions when the Conditions for Setting the DTC are met. The PCM stores this information as Freeze Frame and Failure Records. |
| • | The PCM stores DTC P1887 in PCM history during the second consecutive trip in which the Conditions for Setting the DTC are met. |
| • | The PCM turns OFF the MIL during the third consecutive trip in which the diagnostic test runs and passes. |
| • | A scan tool can clear the MIL/DTC. |
| • | The PCM clears the DTC from PCM history if the vehicle completes 40 warm-up cycles without an emission-related diagnostic fault occurring. |
| • | The PCM cancels the DTC default actions when the ignition switch is OFF long enough in order to power down the PCM. |
| • | Do not replace the torque converter for this condition, refer to the Torque Converter Replacement Guide for other concerns. |
| • | Ensure the wiring harness is not stretched too tightly or other components are pressing on the A/T inline 20-way connector body. Also inspect for proper clearance to any other components and wiring. Refer to Intermittent Conditions in Engine Controls - 3.4L. |
The numbers below refer to the step numbers on the diagnostic table.
This step tests the PCMs ability to recognize a grounded circuit.
A short to ground in this circuit would set DTC P0742.
A short to ground in this circuit would set DTC P0742.
Step | Action | Value(s) | Yes | No | ||||||||||||||||||||
|---|---|---|---|---|---|---|---|---|---|---|---|---|---|---|---|---|---|---|---|---|---|---|---|---|
1 | Did you perform the Diagnostic System Check -- Engine Controls? | -- | Go to Step 2 | Go to Diagnostic System Check - Engine Controls in Engine Controls - 3.4L | ||||||||||||||||||||
2 |
Important: Before clearing the DTCs, use the scan tool in order to record the Freeze Frame and Failure Records for reference. Using the Clear DTC Information function will erase the stored Freeze Frame and Failure Records from the PCM. Does the scan tool indicate Yes for TCC Release Pressure? | -- | Go to Step 3 | Go to Step 6 | ||||||||||||||||||||
Refer to Automatic Transmission Inline 20-Way Connector End View . Does the scan tool indicate Yes for TCC Release Pressure? | -- | Go to Step 4 | Go to Step 5 | |||||||||||||||||||||
Test the signal circuit of the TCC release switch for an open between the PCM and the AT inline 20-way connector. Refer to Testing for Continuity and Wiring Repairs in Wiring Systems. Did you find and correct a condition? | -- | Go to Step 11 | Go to Step 10 | |||||||||||||||||||||
Test the signal circuit of the TCC release switch for an open between the AT inline 20-way connector and the TFP manual valve position switch. Refer to:
Did you find a condition? | -- | Go to Step 8 | Go to Step 9 | |||||||||||||||||||||
6 |
Does the scan tool indicate Yes for TCC Release Pressure? | -- | Go to Step 7 | Go to Intermittent Conditions in Engine Controls - 3.4L | ||||||||||||||||||||
7 | Inspect for the following conditions of mechanical components and hydraulic circuits that could cause TCC release pressure at the TCC release switch when the TCC is applied:
Did you complete the repair? | -- | Go to Step 11 | -- | ||||||||||||||||||||
8 | Replace the AT wiring harness assembly. Refer to Wiring Harness Replacement . Did you complete the replacement? | -- | Go to Step 11 | -- | ||||||||||||||||||||
9 | Replace the TFP manual valve position switch. Refer to Transmission Fluid Pressure Manual Valve Position Switch Replacement . Did you complete the replacement? | -- | Go to Step 11 | -- | ||||||||||||||||||||
10 | Replace the PCM. Refer to Powertrain Control Module Replacement in Engine Controls - 3.4L. Did you complete the replacement? | -- | Go to Step 11 | -- | ||||||||||||||||||||
11 | Perform the following procedure in order to verify the repair:
Has the test run and passed? | -- | Go to Step 12 | Go to Step 2 | ||||||||||||||||||||
12 | With a scan tool, observe the stored information, capture info and DTC info. Does the scan tool display any DTCs that you have not diagnosed? | -- | Go to Diagnostic Trouble Code (DTC) List in Engine Controls - 3.4L | System OK |
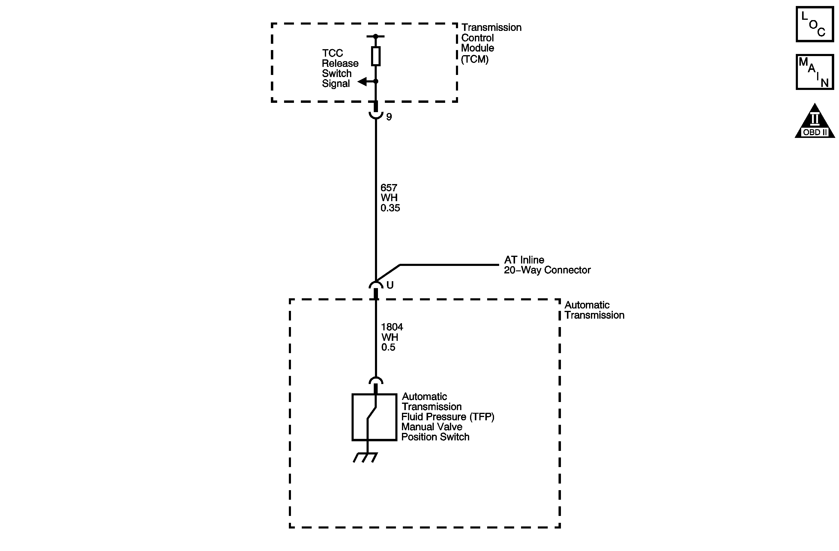
The TCC release switch is part of the transmission fluid pressure (TFP) manual valve position switch. The TFP manual valve position switch is mounted to the transmission valve body. The TCC release switch is normally-closed.
The switch signals the TCM that the TCC is released. This is accomplished by torque converter release fluid pressure acting on the switch contact which opens the circuit. When the circuit voltage is high, the TCM recognizes that the TCC is no longer engaged.
If the TCM determines that the TCC release switch is open indicating that the TCC is not applied and the TCC slip speed indicates that the TCC is applied, then DTC P1887 sets. DTC P1887 is a type B DTC.
| • | No ISS sensor DTC P0716 or P0717. |
| • | No TCC PWM solenoid valve electrical DTCs P2763 or P2764. |
| • | The engine speed is greater than 500 RPM for 5 seconds and not in fuel shut off. |
| • | The TCC is commanded ON. |
| • | The transmission fluid temperature is 20-130°C (68-266°F). |
| • | The TCC slip speed is -20 to +60 RPM. |
| • | The engine torque is greater than 50 N·m (37 lb ft). |
DTC P1887 sets when the following condition occurs twice in a single trip:
The TCC release pressure switch is open indicating release pressure present for 6 seconds continuous.
| • | The TCM requests the ECM to illuminate the malfunction indicator lamp (MIL) during the second consecutive trip in which the Conditions for Setting the DTC are met. |
| • | The TCM inhibits TCC. |
| • | The TCM inhibits 4th gear if the transmission is in Hot Mode. |
| • | The TCM freezes transmission adaptive functions. |
| • | The TCM records the operating conditions when the Conditions for Setting the DTC are met. The TCM stores this information as Freeze Frame and Failure Records. |
| • | The TCM stores DTC P1887 in TCM history during the second consecutive trip in which the Conditions for Setting the DTC are met. |
| • | The ECM turns OFF the MIL after the third consecutive trip in which the TCM does not send an MIL illumination request. |
| • | A scan tool can clear the MIL/DTC. |
| • | The TCM clears the DTC from TCM history if the vehicle completes 40 warm-up cycles without an emission-related diagnostic fault occurring. |
| • | The TCM cancels the DTC default actions when the ignition switch is OFF long enough in order to power down the TCM. |
| • | Do not replace the torque converter for this condition, refer to the Torque Converter Replacement Guide for other concerns. |
| • | Ensure the wiring harness is not stretched too tightly or other components are pressing on the A/T inline 20-way connector body. Also inspect for proper clearance to any other components and wiring. Refer to Intermittent Conditions in Engine Controls - 3.6L. |
The numbers below refer to the step numbers on the diagnostic table.
This step tests the TCMs ability to recognize a grounded circuit.
A short to ground in this circuit would set DTC P0742.
A short to ground in this circuit would set DTC P0742.
Step | Action | Value(s) | Yes | No | ||||||||||||||||||||
|---|---|---|---|---|---|---|---|---|---|---|---|---|---|---|---|---|---|---|---|---|---|---|---|---|
1 | Did you perform the Diagnostic System Check -- Engine Controls? | -- | Go to Step 2 | Go to Diagnostic System Check - Engine Controls in Engine Controls - 3.6L | ||||||||||||||||||||
2 |
Important: Before clearing the DTCs, use the scan tool in order to record the Freeze Frame and Failure Records for reference. Using the Clear Info function will erase the stored Freeze Frame and Failure Records from the TCM. Does the scan tool indicate Yes for TCC Release Pressure? | -- | Go to Step 3 | Go to Step 6 | ||||||||||||||||||||
Refer to Automatic Transmission Inline 20-Way Connector End View . Does the scan tool indicate Yes for TCC Release Pressure? | -- | Go to Step 4 | Go to Step 5 | |||||||||||||||||||||
Test the signal circuit of the TCC release switch for an open between the TCM connector and the AT inline 20-way connector. Refer to Testing for Continuity and Wiring Repairs in Wiring Systems. Did you find and correct a condition? | -- | Go to Step 11 | Go to Step 10 | |||||||||||||||||||||
Test the signal circuit of the TCC release switch for an open between the AT inline 20-way connector and the TFP manual valve position switch. Refer to:
Did you find a condition? | -- | Go to Step 8 | Go to Step 9 | |||||||||||||||||||||
6 |
Does the scan tool indicate Yes for TCC Release Pressure? | -- | Go to Step 7 | Go to Intermittent Conditions in Engine Controls - 3.6L | ||||||||||||||||||||
7 | Inspect for the following conditions of mechanical components and hydraulic circuits that could cause TCC release pressure at the TCC release switch when the TCC is applied:
Did you complete the repair? | -- | Go to Step 11 | -- | ||||||||||||||||||||
8 | Replace the AT wiring harness assembly. Refer to Wiring Harness Replacement . Did you complete the replacement? | -- | Go to Step 11 | -- | ||||||||||||||||||||
9 | Replace the TFP manual valve position switch. Refer to Transmission Fluid Pressure Manual Valve Position Switch Replacement . Did you complete the replacement? | -- | Go to Step 11 | -- | ||||||||||||||||||||
10 | Replace the TCM. Refer to Module, Transmission Control - Replace . Did you complete the replacement? | -- | Go to Step 11 | -- | ||||||||||||||||||||
11 | Perform the following procedure in order to verify the repair:
Has the test run and passed? | -- | Go to Step 12 | Go to Step 2 | ||||||||||||||||||||
12 | With a scan tool, observe the stored information, capture info and DTC info. Does the scan tool display any DTCs that you have not diagnosed? | -- | Go to Diagnostic Trouble Code (DTC) List in Engine Controls - 3.6L | System OK |