GM Service Manual Online
For 1990-2009 cars only

Removal Procedure

  1. Remove the fuel tank. Refer to Fuel Tank Replacement .

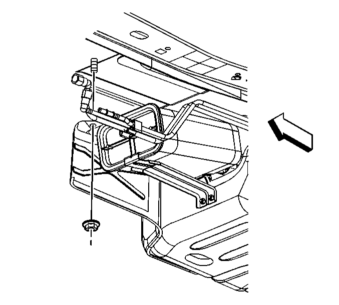
  2. Object Number: 669530  Size: SH
  3. Remove the 2 retaining nuts connecting the evaporative emission (EVAP) canister bracket to the fuel tank.

  4. Object Number: 670190  Size: SH
  5. Reposition the EVAP canister (3) and disconnect the EVAP system hoses and/or pipes from the EVAP canister.
  6. Remove the EVAP canister from the EVAP canister bracket.

Installation Procedure


    Object Number: 670190  Size: SH
  1. Install the EVAP canister (3) on the EVAP canister bracket.
  2. Connect the EVAP hoses/pipes to the EVAP canister.

  3. Object Number: 669530  Size: SH

    Notice: Use the correct fastener in the correct location. Replacement fasteners must be the correct part number for that application. Fasteners requiring replacement or fasteners requiring the use of thread locking compound or sealant are identified in the service procedure. Do not use paints, lubricants, or corrosion inhibitors on fasteners or fastener joint surfaces unless specified. These coatings affect fastener torque and joint clamping force and may damage the fastener. Use the correct tightening sequence and specifications when installing fasteners in order to avoid damage to parts and systems.

  4. Position the EVAP canister and bracket on the fuel tank and install the 2 retaining nuts.
  5. Tighten
    Tighten the retaining nuts to 10 N·m (89 lb in).

  6. Install the fuel tank. Refer to Fuel Tank Replacement