Caution: Refer to Brake Fluid Irritant Caution in the Preface section.
Notice: Refer to Brake Fluid Effects on Paint and Electrical Components Notice in the Preface section.
Tools Required
J 36349
Dust Boot Seal Installer
Important:
| • | Replace all the components included in the repair kit. |
| • | Lubricate all of the rubber parts with clean brake fluid in order to ease assembly. |
| • | Perform this overhaul procedure on a clean bench. |
Disassembly Procedure
- Inspect the fluid level in the brake master cylinder reservoir.
- If the brake fluid level is midway between the maximum-full point and the minimum allowable level, then no brake fluid needs to be removed from the reservoir before proceeding. If the brake fluid level is higher than midway
between the maximum-full point and the minimum allowable level, then remove brake fluid to the midway point before proceeding.
- Remove the brake caliper. Refer to
Front Brake Caliper Replacement
.
Caution: Do not place fingers in front of the caliper piston(s) in an attempt
to catch or protect it when applying compressed air. The piston(s) can fly
out with force and could result in serious bodily injury.
Notice: Use clean cloths to pad interior of caliper housing during piston removal.
Use just enough air to ease the pistons out of the bores. If the pistons are
blown out, even with the padding provided, it may be damaged.
- Blow compressed air into the brake caliper (1) hose hole in order to remove the brake caliper piston. The piston will come out through the piston boot.
Important: Do not use abrasives to clean the brake caliper piston.
- Inspect and replace the brake caliper piston if any of the following conditions are found:
| • | Worn or damaged chrome plating |
Notice: Do not use a metal tool for seal removal. Damage to the caliper bore
or the seal grooves can result.
- Remove the piston seal (4) from the groove in the caliper bore (3). Use a small wooden or plastic tool.
- Inspect the caliper bore (3) and the seal grooves for the following conditions:
- Use a piece of crocus cloth in order to polish out light corrosion.
- Replace the caliper (3) if corrosion in and around the seal groove cannot be cleaned with a piece of crocus cloth.
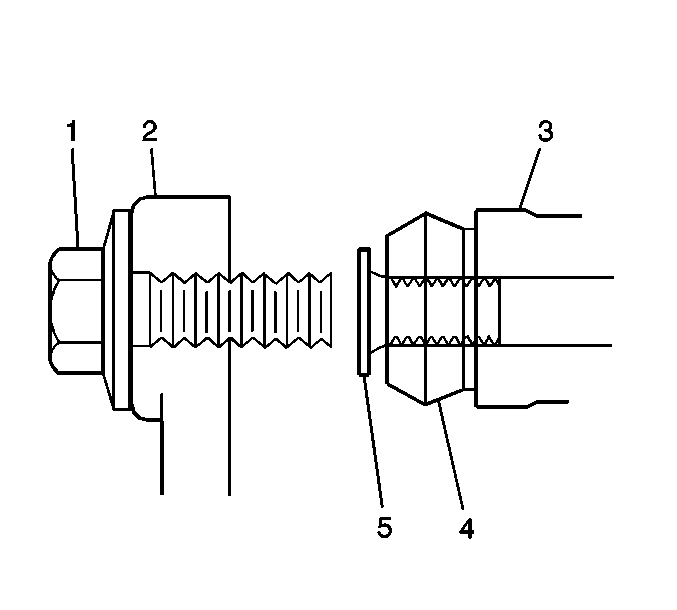
- Inspect and replace any brake caliper bolt boots (4) that exhibit any of the following conditions:
- Inspect the caliper bolts for corrosion or damage. If corrosion is found on the brake caliper bolt shaft, replace the brake caliper bolt (1) and the brake caliper bolt boot (4). Do not attempt to polish away the corrosion.
- Inspect the seal groove in the caliper bore for nicks or burrs. Replace the caliper if the seal groove is damaged.
- Remove the bleeder valve cap (1) and the bleeder valve (2) from the brake caliper housing (3).
- Clean all the parts with clean, denatured alcohol.
- Dry all the parts with filtered, non-lubricated compressed air.
- Use filtered, non-lubricated compressed air in order to blow out all of the passages in the caliper housing and the bleeder valve.
Assembly Procedure
- Install the bleeder valve and the bleeder valve cap to the caliper housing.
- Install a new lubricated piston seal (4) to the caliper bore grooves. Ensure that the piston seal is not twisted.
- Install the lubricated boot (1) onto the brake caliper piston (2).
- Lubricate the brake caliper piston (2) with clean brake fluid.
- Install the brake caliper piston and the brake caliper piston boot into the bore of the caliper. Push the brake caliper piston to the bottom of the bore.
- Seat the caliper boot in the caliper housing counterbore using the
J 36349
.
- Install the caliper. Refer to
Front Brake Caliper Replacement
.