GM Service Manual Online
For 1990-2009 cars only
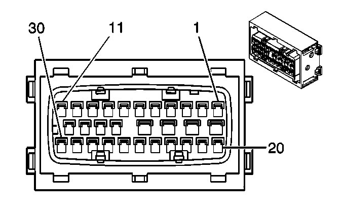
Table 1: Electronic Brake Control Module (EBCM)
Table 2: I/P Switch Assembly--C1 (Pontiac)
Table 3: Wheel Speed Sensor - LF
Table 4: Wheel Speed Sensor - LR
Table 5: Wheel Speed Sensor - RF
Table 6: Wheel Speed Sensor - RR

Electronic Brake Control Module (EBCM)


Object Number: 684893  Size: CH

Connector Part Information

    • 15326390
    • 30-Way F GT 150 280 SEALED 4.0 5.8 (BLK)

Pin

Wire Color

Circuit No.

Function

1

--

--

Not Used

2

BRN

882

Right Rear Wheel Speed Sensor Signal

3

WHT

883

Right Rear Wheel Speed Sensor Low Reference

4

DK GRN

872

Right Front Wheel Speed Sensor Signal

5

TAN

833

Right Front Wheel Speed Sensor Low Reference

6

WHT

17

Stop Lamp Switch Signal

7

--

--

Not Used

8

PNK

1039

Ignition 1 Voltage

9

TAN/BLK

464

Delivered Torque Signal (W/NW9)

10

--

--

Not Used

11

WHT

121

Engine Speed Signal (W/NW9)

12

BLK/WHT

251

Ground

13

RED

1442

Battery Positive Voltage

14

ORN

1740

Battery Positive Voltage

15

BLK/WHT

251

Ground

16-19

--

--

Not Used

20

LT BLU

830

Left Front Wheel Speed Sensor Signal

21

YEL

873

Left Front Wheel Speed Sensor Low Reference

22

BLK

884

Left Rear Wheel Speed Sensor Signal

23

RED

885

Left Rear Wheel Speed Sensor Low Reference

24

--

--

Not Used

25

LT BLU

1122

ABS/TCS Class 2 Serial Data

26

--

--

Not Used

27

ORN/BLK

463

Requested Torque Signal (W/NW9)

28-30

--

--

Not Used

I/P Switch Assembly--C1 (Pontiac)


Object Number: 646190  Size: CH

Connector Part Information

    • 12162455
    • 8-Way F 280 Series (NAT)

Pin

Wire Color

Circuit No.

Function

A

GRY

8

Instrument Panel Lamp Supply Voltage

B

BLK

150

Ground

C

WHT/BLK

1221

Lift Gate Release Switch Signal

D

BRN/WHT

1571

Traction Control Switch Signal

E-H

--

--

Not Used

Wheel Speed Sensor - LF


Object Number: 537107  Size: CH

Connector Part Information

    • 12052644
    • 2-Way F Metri-Pack 150 Series Sealed (WHT)

Pin

Wire Color

Circuit No.

Function

A

YEL

873

Left Front Wheel Speed Sensor Low Reference

B

LT BLU

830

Left Front Wheel Speed Sensor Signal

Wheel Speed Sensor - LR


Object Number: 537107  Size: CH

Connector Part Information

    • 12052644
    • 2-Way F Metri-Pack 150 Series Sealed (WHT)

Pin

Wire Color

Circuit No.

Function

A

WHT

883

Right Rear Wheel Speed Sensor Low Reference

B

BLK

882

Right Rear Wheel Speed Sensor Signal

Wheel Speed Sensor - RF


Object Number: 537107  Size: CH

Connector Part Information

    • 12052644
    • 2-Way F Metri-Pack 150 Series Sealed (WHT)

Pin

Wire Color

Circuit No.

Function

A

DK GRN

872

Right Front Wheel Speed Sensor Signal

B

TAN

833

Right Front Wheel Speed Sensor Low Reference

Wheel Speed Sensor - RR


Object Number: 537107  Size: CH

Connector Part Information

    • 12052644
    • 2-Way F Metri-Pack 150 Series Sealed (WHT)

Pin

Wire Color

Circuit No.

Function

A

WHT

883

Right Rear Wheel Speed Sensor Low Reference

B

BLK

882

Right Rear Wheel Speed Sensor Signal