GM Service Manual Online
For 1990-2009 cars only

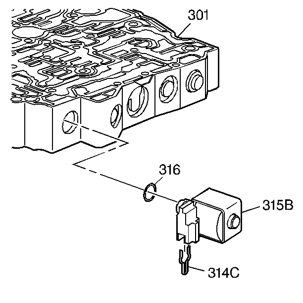
Removal Procedure

  1. Remove the case side cover. Refer to Control Valve Body Cover Replacement .
  2. Disconnect the transaxle wiring harness.

  3. Object Number: 49385  Size: SH
  4. Remove the 2-3 shift solenoid (315B).

Installation Procedure


    Object Number: 49385  Size: SH
  1. Install the 2-3 shift solenoid (315B).
  2. Connect the transaxle wiring harness.
  3. Install the case side cover. Refer to Control Valve Body Cover Replacement .
  4. Important: It is recommended that transmission adaptive pressure (TAP) information be reset.

    Resetting the TAP values using a scan tool will erase all learned values in all cells. As a result, The ECM, PCM or TCM will need to relearn TAP values. Transmission performance may be affected as new TAP values are learned.

  5. Reset the TAP values. Refer to Adapt Function.