GM Service Manual Online
For 1990-2009 cars only

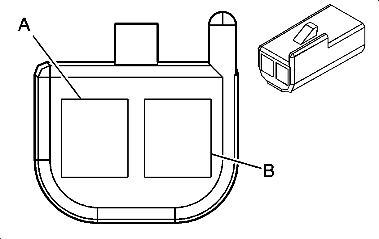
Ignition Lock Solenoid


Object Number: 82383  Size: CH

Connector Part Information

    • 12047662
    • 2-Way F Metri-Pack 150 Series (BLK)

Pin

Wire Color

Circuit No.

Function

A

LT BLU

1134

Park Position Switch Signal

B

BLK

1450

Ground