GM Service Manual Online
For 1990-2009 cars only
Table 1: Cruise Control Module (CCM)
Table 2: Turn Signal/Multifunction Switch C4 (K34)
Table 3: Cruise Control Release Switch

Cruise Control Module (CCM)


Object Number: 570216  Size: CH

Connector Part Information

    • 12065425
    • 10-Way F 150 Series (BLK)

Pin

Wire Color

Circuit No.

Function

A

GRY

397

Cruise Control On Switch Signal

B

DK BLU

84

Cruise Control Set/Coast Switch Signal

C

GRY/BLK

87

Cruise Control Resume/Accel Switch Signal

D

BRN

86

Cruise Control Release Signal

E

BLK/WHT

451

Ground

F

PNK

39

Ignition 1 Voltage

G

WHT

17

Stop Lamp Switch Signal

H

DK GRN

83

Cruise Control Inhibit Signal

J

WHT

85

Cruise Control Engaged Signal

K

DK GRN

389

Vehicle Speed Signal

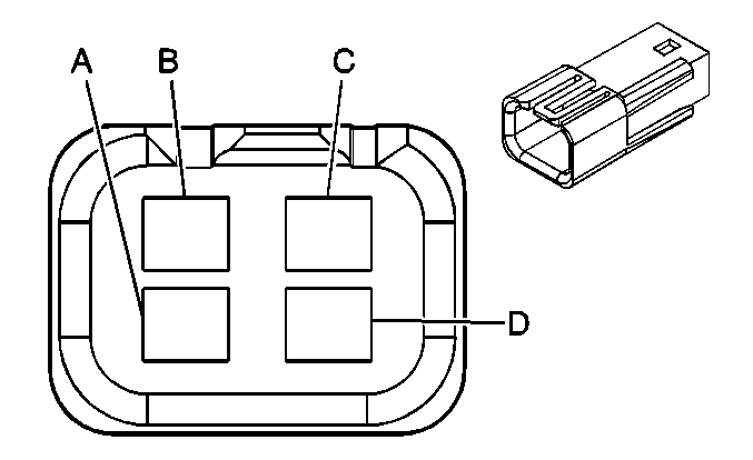
Turn Signal/Multifunction Switch C4 (K34)


Object Number: 39661  Size: CH

Connector Part Information

    • 12047786
    • 4-Way M 150 Series (BLK)

Pin

Wire Color

Circuit No.

Function

A

PNK

39

Ignition 1 Voltage

B

GRY

397

Cruise Control On Switch Signal

C

GRY/BLK

87

Cruise Control Resume/Accel Switch Signal

D

DK BLU

84

Cruise Control Set/Coast Switch Signal

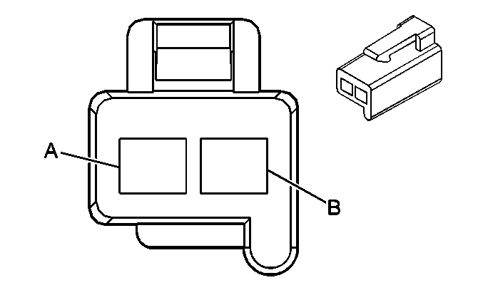
Cruise Control Release Switch


Object Number: 287957  Size: CH

Connector Part Information

    • 12041433
    • 2-Way F Metri-Pack 280 Series (BLK)

Pin

Wire Color

Circuit No.

Function

A

BRN

86

Cruise Control Release Signal

B

PNK

39

Ignition 1 Voltage