GM Service Manual Online
For 1990-2009 cars only

Removal Procedure


    Object Number: 621482  Size: SH
  1. Remove the front bumper fascia. Refer to Front Bumper Fascia Replacement .
  2. Remove the energy absorber. Refer to Front Bumper Fascia Energy Absorber Replacement .
  3. Remove the bolt from the upper inboard impact bar through the access hole in the radiator support.

  4. Object Number: 621492  Size: SH
  5. Disconnect the electrical connector from the horn.
  6. Remove the horns from the impact bar.

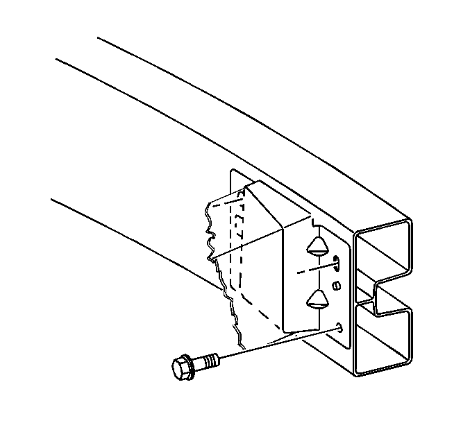
  7. Object Number: 621493  Size: SH
  8. Remove the remainder of the impact bar bolts.
  9. Remove the impact bar.

Installation Procedure

    Important: Position the left side first, then the right side.


    Object Number: 621493  Size: SH
  1. Position the impact bar to the body using the alignment pin for location.
  2. Notice: Use the correct fastener in the correct location. Replacement fasteners must be the correct part number for that application. Fasteners requiring replacement or fasteners requiring the use of thread locking compound or sealant are identified in the service procedure. Do not use paints, lubricants, or corrosion inhibitors on fasteners or fastener joint surfaces unless specified. These coatings affect fastener torque and joint clamping force and may damage the fastener. Use the correct tightening sequence and specifications when installing fasteners in order to avoid damage to parts and systems.

  3. Install the lower outboard front bumper impact bar bolts.
  4. Tighten
    Tighten the lower bumper impact bar bolts to 25 N·m (18 lb ft).


    Object Number: 621482  Size: SH
  5. Install the front inboard upper front bumper impact bar bolt through the access hole in the radiator support.
  6. Tighten
    Tighten the front inboard upper front bumper bolt to 50 N·m (37 lb ft).


    Object Number: 621492  Size: SH
  7. Install the horn to the impact bar.
  8. Install the impact bar bolt to the horn.
  9. Tighten
    Tighten the impact bar bolt to 50 N·m (37 lb ft).

  10. Connect the electrical connector to the horn.
  11. Install the energy absorber. Refer to Front Bumper Fascia Energy Absorber Replacement .
  12. Install the front bumper fascia. Refer to Front Bumper Fascia Replacement .