GM Service Manual Online
For 1990-2009 cars only

Removal Procedure

    Important: 

       • Use the adhesion promoter to assure adequate bonding of the coupling.
       • To obtain maximum adhesion between the new mobile antenna couplings and the glass surface, the the couplings and the glass must be kept dry and above 15°C (60°F) during the installation. Allow 6-8 hours for the adhesive to cure after installation. Otherwise the new couplings may not adhere.
       • Do not use any type of glue or adhesive tapes to reinstall the original couplings.This may eliminate the cellular signal transfer through the glass and reduce the maximum performance of the system, including the air bag deployment notification.


    Object Number: 802693  Size: SH
  1. Install the inner coupling first if both the inner and the outer couplings are to be replaced. Refer to Mobile Telephone Antenna Inner Coupling Replacement .
  2. Notice: If you use a razor blade or other sharp tool in order to remove the adhesives or foreign objects from the inside of the rear window, use the blade carefully. Damage to the grid lines may result.

  3. Use a small wide-bladed plastic tool to cut the double back tape material while lifting up on the outer antenna coupling.

Installation Procedure


    Object Number: 569466  Size: SH
  1. Clean the rear window with an alcohol wipe.
  2. Dry the glass thoroughly using a lint-free cloth.
  3. Important: 

       • Use the adhesion promoter to assure adequate bonding of the coupling.
       • Mask off or protect areas before applying the adhesion promoter.

  4. Apply Glass Adhesion Promoter P/N 12378555 (88901239 in Canada) to the rear window in the area where you will install the antenna coupling. Follow the Glass Adhesion Promoter instructions on the product label.

  5. Object Number: 725600  Size: SH

    Important: 

       • Align the inner and the outer antenna couplings.
       • Do not touch the adhesive backing on the antenna coupling.

  6. Remove the protective film from the adhesive backing on the outer antenna coupling.

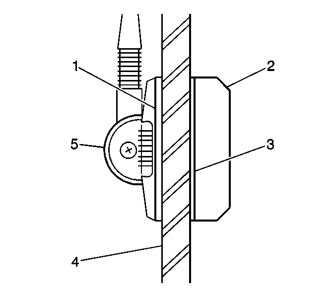
  7. Object Number: 650826  Size: SH
  8. Align the outer antenna coupling to the inner antenna coupling.
  9. Press firmly on all 4 corners and on the center of the antenna outer coupling (5) in order to ensure proper adhesion to the rear window (4). Hold pressure on the outer coupling (5) for 10-30 seconds.
  10. Ensure that no gaps occur between the couplings (5,2) and the rear window (4).
  11. Keep the vehicle dry. Allow 6 to 8 hours, at 15°C (60°F), for the adhesive to cure after installation.