GM Service Manual Online
For 1990-2009 cars only
Table 1: A/T Shift Lever Position Indicator Lamp (Pontiac)
Table 2: Backup Lamp - Left (Pontiac)
Table 3: Backup Lamp - Right (Pontiac)
Table 4: Cargo Lamp (Pontiac)
Table 5: Cargo Lamp (Buick)
Table 6: Center High Mounted Stop Lamp (CHMSL)
Table 7: Console Compartment Lamp (Buick)
Table 8: Console Compartment Lamp Switch (Buick)
Table 9: Daytime Running Lamps (DRL) Ambient Light Sensor
Table 10: Fog Lamp - Left
Table 11: Fog Lamp - Right
Table 12: Headlamp Switch
Table 13: Headlamp - High Beam - Left
Table 14: Headlamp- High Beam - Right
Table 15: Headlamp - Low Beam- Left
Table 16: Headlamp - Low Beam- Right
Table 17: I/P Compartment Lamp
Table 18: I/P Courtesy Lamp - Left
Table 19: I/P Courtesy Lamp - Right
Table 20: License Plate Lamp
Table 21: Liftgate Lamp Assembly (Buick)
Table 22: Marker Lamp - LF (Buick)
Table 23: Marker Lamp - RF (Buick)
Table 24: Marker Lamp - LR (Buick)
Table 25: Marker Lamp - RR (Buick)
Table 26: Park/Stop/Turn Signal Lamp - LR
Table 27: Park/Stop/Turn Signal Lamp - RR
Table 28: Park/Turn Signal Lamp - LF
Table 29: Park/Turn Signal Lamp - RF
Table 30: Roof Rail Reading Lamp - Left (C79)
Table 31: Roof Rail Reading Lamp - Right (C79)
Table 32: Stop Lamp Switch - C1
Table 33: Stop Lamp Switch - C2
Table 34: Turn Signal/Multifunction Switch - C1
Table 35: Turn Signal/Multifunction Switch - C2
Table 36: Turn Signal/Multifunction Switch C3
Table 37: Turn Signal/Multifunction Switch C4 (K34)
Table 38: Vanity Mirror - Left (C79)
Table 39: Vanity Mirror - Right (C79)

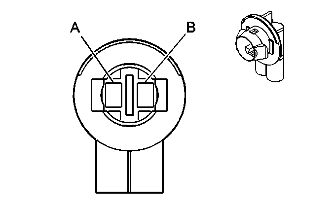
A/T Shift Lever Position Indicator Lamp (Pontiac)


Object Number: 407137  Size: CH

Connector Part Information

    • 12162711
    • 2-Way (BLK)

Pin

Wire Color

Circuit No.

Function

A

GRY

8

Instrument Panel Lamp Supply Voltage

B

BLK

1450

Ground

Backup Lamp - Left (Pontiac)


Object Number: 82372  Size: CH

Connector Part Information

    • 12160393
    • 2-Way Lamp Socket Wedge Base W3 Right Angle (LT GRY)

Pin

Wire Color

Circuit No.

Function

A

LT GRN

24

Backup Lamp Supply Voltage

G

BLK

850

Ground

Backup Lamp - Right (Pontiac)


Object Number: 82372  Size: CH

Connector Part Information

    • 12160393
    • 2-Way Lamp Socket Wedge Base W3 Right Angle (LT GRY)

Pin

Wire Color

Circuit No.

Function

A

LT GRN

24

Backup Lamp Supply Voltage

G

BLK

1850

Ground

Cargo Lamp (Pontiac)


Object Number: 82383  Size: CH

Connector Part Information

    • 12047662
    • 2-Way F Metri-Pack 150 Series (BLK)

Pin

Wire Color

Circuit No.

Function

A

ORN

1732

Courtesy Lamps Supply Voltage

B

GRY/BLK

690

Courtesy Lamp Control

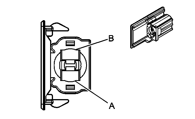
Cargo Lamp (Buick)


Object Number: 333035  Size: CH

Connector Part Information

    • 12047781
    • 3-Way F Metri-Pack 150 (BLK)

Pin

Wire Color

Circuit No.

Function

A

ORN

1732

Courtesy Lamps Supply Voltage

B

BLK

650

Ground

C

GRY/BLK

690

Courtesy Lamp Control

Center High Mounted Stop Lamp (CHMSL)


Object Number: 35441  Size: CH

Connector Part Information

    • 12047663
    • 2-Way M Metri-Pack 150 Series (BLK)

Pin

Wire Color

Circuit No.

Function

A

WHT

17

Stop Lamp Switch Signal

B

BLK

650

Ground

Console Compartment Lamp (Buick)


Object Number: 387544  Size: CH

Connector Part Information

    • 12124652
    • 2-Way TPA Wedge Base

Pin

Wire Color

Circuit No.

Function

A

YEL

9732

Console Compartment Lamps Supply Voltage

B

BLK

150

Ground

Console Compartment Lamp Switch (Buick)


Object Number: 387544  Size: CH

Connector Part Information

    • 12124652
    • 2-Way TPA Wedge Base

Pin

Wire Color

Circuit No.

Function

A

ORN

1732

Courtesy Lamps Supply Voltage

B

YEL

9732

Console Compartment Lamps Supply Voltage

Daytime Running Lamps (DRL) Ambient Light Sensor


Object Number: 82383  Size: CH

Connector Part Information

    • 12047662
    • 2-Way F Metri-Pack 150 Series (BLK)

Pin

Wire Color

Circuit No.

Function

A

LT GRN/BLK

1137

Ambient Light Sensor Signal

B

YEL/BLK

1138

Ambient Light Sensor Low Reference

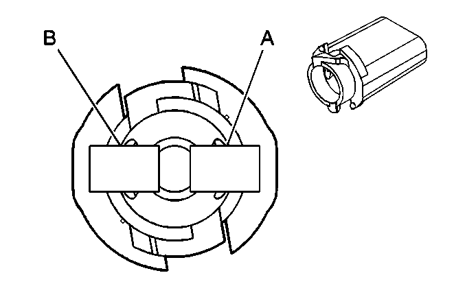
Fog Lamp - Left


Object Number: 646148  Size: CH

Connector Part Information

    • 12020599
    • 2-Way F Metri-Pack-280 Series (BLK)

Pin

Wire Color

Circuit No.

Function

A

PPL

34

Front Fog Lamps Supply Voltage

B

BLK

1350

Ground

Fog Lamp - Right


Object Number: 646148  Size: CH

Connector Part Information

    • 12020599
    • 2-Way F Metri-Pack-280 Series (BLK)

Pin

Wire Color

Circuit No.

Function

A

PPL

34

Front Fog Lamps Supply Voltage

B

BLK

1250

Ground

Headlamp Switch


Object Number: 684891  Size: CH

Connector Part Information

    • 15324433
    • 18-Way F SOC (GRN)

Pin

Wire Color

Circuit No.

Function

1

PNK

1444

5 Volt Reference

2

PNK/BLK

1597

Interior Lamp Switch On Signal

3

PPL

328

Interior Lamp Defeat Switch Signal

4

BLK

1550

Ground

5 - 6

--

--

Not Used

7

ORN

192

Fog Lamp Switch Signal

8

LT BLU

13

Headlamp Switch Park Lamps Signal

9

BRN/WHT

230

Instrument Panel Lamps Dimming Control

10

GRY/BLK

1798

Low Reference

11

--

--

Not Used

12

GRY

8

Instrument Panel Lamp Supply Voltage

13

PPL

34

Fog Lamps Supply Voltage

14-15

--

--

Not Used

16

BLK

1450

Ground

17

YEL

10

Headlamp Switch Signal

18

--

--

Not Used

Headlamp - High Beam - Left


Object Number: 684797  Size: CH

Connector Part Information

    • 12059182
    • 2-Way F Metri-Pack 280 Series Sealed (BLK)

Pin

Wire Color

Circuit No.

Function

A

DK GRN/

WHT

711

Left Headlamp High Beam Supply Voltage

B

BLK

1350

Ground

Headlamp- High Beam - Right


Object Number: 684797  Size: CH

Connector Part Information

    • 12059182
    • 2-Way F Metri-Pack 280 Series Sealed (BLK)

Pin

Wire Color

Circuit No.

Function

A

LT GRN/BLK

311

Right Headlamp High Beam Supply Voltage

B

DK BLU

593

DRL Headlamp High Beam Supply Voltage

Headlamp - Low Beam- Left


Object Number: 684796  Size: CH

Connector Part Information

    • 12059180
    • 2-Way F Metri-Pack 280 Series Sealed (GRY)

Pin

Wire Color

Circuit No.

Function

A

YEL

712

Left Headlamp Low Beam Supply Voltage

B

BLK

1350

Ground

Headlamp - Low Beam- Right


Object Number: 684796  Size: CH

Connector Part Information

    • 12059180
    • 2-Way F Metri-Pack 280 Series Sealed (GRY)

Pin

Wire Color

Circuit No.

Function

A

TAN/WHT

312

Right Headlamp Low Beam Supply Voltage

B

BLK

150

Ground

I/P Compartment Lamp


Object Number: 82383  Size: CH

Connector Part Information

    • 12047662
    • 2-Way F Metri-Pack 150 Series (BLK)

Pin

Wire Color

Circuit No.

Function

A

ORN

1732

Courtesy Lamps Supply Voltage

B

BLK

150

Ground

I/P Courtesy Lamp - Left


Object Number: 407137  Size: CH

Connector Part Information

    • 12162711
    • 2-Way Metri Pack 150 Series (BLK)

Pin

Wire Color

Circuit No.

Function

A

ORN

1732

Courtesy Lamps Supply Voltage

B

GRY/BLK

690

Courtesy Lamp Control

I/P Courtesy Lamp - Right


Object Number: 407137  Size: CH

Connector Part Information

    • 12162711
    • 2-Way Metri Pack 150 Series (BLK)

Pin

Wire Color

Circuit No.

Function

A

ORN

1732

Courtesy Lamps Supply Voltage

B

GRY/BLK

690

Courtesy Lamp Control

License Plate Lamp


Object Number: 130733  Size: CH

Connector Part Information

    • 12146418
    • 2-Way Lamp Socket (LT GRY)

Pin

Wire Color

Circuit No.

Function

A

BRN

9

Park Lamp Supply Voltage

B

BLK

450

Ground

Liftgate Lamp Assembly (Buick)


Object Number: 655691  Size: CH

Connector Part Information

    • 12146046
    • 4-Way F Metri-Pack 150 (GRY)

Pin

Wire Color

Circuit No.

Function

A

BRN

9

Park Lamp Supply Voltage

B

LT GRN

24

Backup Lamp Supply Voltage

C

--

--

Not Used

D

LT GRN

24

Backup Lamp Supply Voltage

E

BLK

1150

Ground

Marker Lamp - LF (Buick)


Object Number: 407137  Size: CH

Connector Part Information

    • 12110053
    • 2-Way

Pin

Wire Color

Circuit No.

Function

A

BRN

9

Headlamp Switch Parklamps Signal

B

BLK

1350

Ground

Marker Lamp - RF (Buick)


Object Number: 407137  Size: CH

Connector Part Information

    • 12110053
    • 2-Way

Pin

Wire Color

Circuit No.

Function

A

BRN

9

Headlamp Switch Parklamps Signal

B

BLK

1250

Ground

Marker Lamp - LR (Buick)


Object Number: 744036  Size: CH

Connector Part Information

    • 12110053
    • 2-Way

Pin

Wire Color

Circuit No.

Function

A

BRN

9

Headlamp Switch Parklamps Signal

B

BLK

850

Ground

Marker Lamp - RR (Buick)


Object Number: 744036  Size: CH

Connector Part Information

    • 12110053
    • 2-Way

Pin

Wire Color

Circuit No.

Function

A

BRN

9

Headlamp Switch Parklamps Signal

B

BLK

1850

Ground

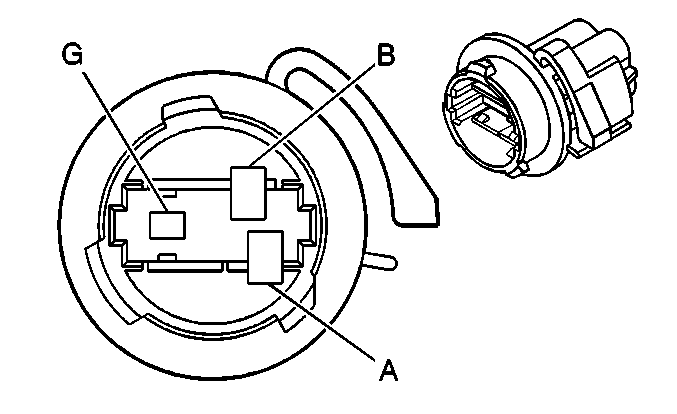
Park/Stop/Turn Signal Lamp - LR


Object Number: 38605  Size: CH

Connector Part Information

    • 12160394
    • 3-Way Lamp Socket Wedge Base W3 Right Angle (NAT)

Pin

Wire Color

Circuit No.

Function

A

DK GRN/YEL

18

Left Rear Stop/Turn Lamp Supply Voltage

B

BRN

9

Park Lamp Supply Voltage

G

BLK

850

Ground

Park/Stop/Turn Signal Lamp - RR


Object Number: 38605  Size: CH

Connector Part Information

    • 12160394
    • 3-Way Lamp Socket Wedge Base W3 Right Angle (NAT)

Pin

Wire Color

Circuit No.

Function

A

DK GRN/YEL

19

Right Rear Stop/Turn Lamp Supply Voltage

B

BRN

9

Park Lamp Supply Voltage

G

BLK

1850

Ground

Park/Turn Signal Lamp - LF


Object Number: 82366  Size: CH

Connector Part Information

    • 12092379
    • 3 Way F Lamp Socket Wedge Base W3 (BLK)

Pin

Wire Color

Circuit No.

Function

A

LT BLU

14

Left Turn Signal Lamps Supply Voltage

B

BRN

9

Park Lamp Supply Voltage

G

BLK

1350

Ground

Park/Turn Signal Lamp - RF


Object Number: 82366  Size: CH

Connector Part Information

    • 12092379
    • 3 Way F Lamp Socket Wedge Base W3 (BLK)

Pin

Wire Color

Circuit No.

Function

A

LT BLU

15

Right Turn Signal Lamps Supply Voltage

B

BRN

9

Park Lamp Supply Voltage

G

BLK

1250

Ground

Roof Rail Reading Lamp - Left (C79)


Object Number: 333035  Size: CH

Connector Part Information

    • 12047781
    • 3-Way F Metri-Pack 150 Series (BLK)

Pin

Wire Color

Circuit No.

Function

A

BLK

650

Ground

B

ORN

1732

Courtesy Lamps Supply Voltage

C

GRY/BLK

690

Courtesy Lamp Control

Roof Rail Reading Lamp - Right (C79)


Object Number: 333035  Size: CH

Connector Part Information

    • 12047781
    • 3-Way F Metri-Pack 150 Series (BLK)

Pin

Wire Color

Circuit No.

Function

A

BLK

650

Ground

B

ORN

1732

Courtesy Lamps Supply Voltage

C

GRY/BLK

690

Courtesy Lamp Control

Stop Lamp Switch - C1


Object Number: 73251  Size: CH

Connector Part Information

    • 12033701
    • 2-Way F Metri-Pack 480 Series (GRY)

Pin

Wire Color

Circuit No.

Function

A

ORN

1840

Battery Positive Voltage

B

WHT

17

Stop Lamp Switch Signal

Stop Lamp Switch - C2


Object Number: 40397  Size: CH

Connector Part Information

    • 12033706
    • 4-Way F Metri-Pack 280 Series (BLU)

Pin

Wire Color

Circuit No.

Function

A

ORN/BLK

1786

Park/Neutral Signal

B

DK GRN/

WHT

1135

A/T Shift Lock Control Solenoid Supply Voltage

C

PNK

1239

Ignition 1 Voltage

D

PPL

420

TCC Brake Switch/Cruise Release Switch Signal

Turn Signal/Multifunction Switch - C1


Object Number: 39746  Size: CH

Connector Part Information

    • 12064862
    • 8 Way F Metri-Pack 150 Series (BLK)

Pin

Wire Color

Circuit No.

Function

A-B

--

--

Not Used

C

BLK

1550

Ground

D

LT BLU/WHT

1414

Turn Signal Switch Left Signal

E

PNK

539

Ignition 1 Voltage

F

DK BLU/

WHT

1415

Turn Signal Switch Right Signal

G

BLK

28

Horn Relay Control

H

TAN

2144

Hazard Switch Signal

Turn Signal/Multifunction Switch - C2


Object Number: 130718  Size: CH

Connector Part Information

    • 12059800
    • 5 Way F Metri-Pack 150 Series (BLK)

Pin

Wire Color

Circuit No.

Function

A

BLK/WHT

1969

Headlamp High Beam Relay Control

B

BLK

1450

Ground

C

PNK/WHT

1970

Headlamp Low Beam Relay Control

D

BLK

910

Headlamp Low/High Beam Relay Control

E

BLK/WHT

1969

Headlamp High Beam Relay Control

Turn Signal/Multifunction Switch C3


Object Number: 811190  Size: CH

Connector Part Information

    • 15339058
    • 7- Way F Metri--Pack 150 (GRY)

Pin

Wire Color

Circuit No.

Function

G-H

--

--

Not Used

J

RED

228

Windshield Washer Pump Control

K

YEL

243

Accessory Voltage

L

GRY

112

Windshield Wiper Switch Signal 1

M

DK GRN

113

Windshield Wiper Switch Signal 2

N

PPL

92

Windshield Wiper Motor High Speed

Turn Signal/Multifunction Switch C4 (K34)


Object Number: 39661  Size: CH

Connector Part Information

    • 12047786
    • 4-Way M 150 Series (BLK)

Pin

Wire Color

Circuit No.

Function

A

PNK

39

Ignition 1 Voltage

B

GRY

397

Cruise Control On Switch Signal

C

GRY/BLK

87

Cruise Control Resume/Accel Switch Signal

D

DK BLU

84

Cruise Control Set/Coast Switch Signal

Vanity Mirror - Left (C79)


Object Number: 35441  Size: CH

Connector Part Information

    • 12047663
    • 2-Way M Metri-Pack 150 Series (BLK)

Pin

Wire Color

Circuit No.

Function

A

ORN

1732

Courtesy Lamps Supply Voltage

B

BLK

650

Ground

Vanity Mirror - Right (C79)


Object Number: 35441  Size: CH

Connector Part Information

    • 12047663
    • 2-Way M Metri-Pack 150 Series (BLK)

Pin

Wire Color

Circuit No.

Function

A

ORN

1732

Courtesy Lamps Supply Voltage

B

BLK

650

Ground