| Table 1: | Auxiliary Drop Connector |
| Table 2: | Auxiliary Power Outlet - Console |
| Table 3: | Auxiliary Power Outlet - Front |
| Table 4: | Auxiliary Power Outlet - Rear |
| Table 5: | Cigar Lighter |
| Table 6: | Ignition Switch |
| Table 7: | SP250 |
| Table 8: | SP315 |
| Table 9: | SP409 |
| |||||||
|---|---|---|---|---|---|---|---|
Connector Part Information |
| ||||||
Pin | Wire Color | Circuit No. | Function | ||||
A | ORN | 2740 | Battery Positive Voltage | ||||
B | -- | -- | Not Used | ||||
C | YEL | 743 | Accessory Voltage | ||||
D | LT GRN | 2271 | ADG Class 2 Serial Data | ||||
E | -- | -- | Not Used | ||||
F | BLK | 150 | Ground | ||||
| |||||||
|---|---|---|---|---|---|---|---|
Connector Part Information |
| ||||||
Pin | Wire Color | Circuit No. | Function | ||||
A | ORN | 2740 | Battery Positive Voltage | ||||
B | -- | -- | Not Used | ||||
C | BLK | 150 | Ground | ||||
| |||||||
|---|---|---|---|---|---|---|---|
Connector Part Information |
| ||||||
Pin | Wire Color | Circuit No. | Function | ||||
A | ORN | 2740 | Battery Positive Voltage | ||||
B | -- | -- | Not Used | ||||
C | BLK | 150 | Ground | ||||
| |||||||
|---|---|---|---|---|---|---|---|
Connector Part Information |
| ||||||
Pin | Wire Color | Circuit No. | Function | ||||
A | ORN | 2540 | Battery Positive Voltage | ||||
B | -- | -- | Not Used | ||||
C | BLK | 850 | Ground | ||||
| |||||||
|---|---|---|---|---|---|---|---|
Connector Part Information |
| ||||||
Pin | Wire Color | Circuit No. | Function | ||||
A | ORN | 2740 | Battery Positive Voltage | ||||
B | -- | -- | Not Used | ||||
C | BLK | 150 | Ground | ||||
| |||||||
|---|---|---|---|---|---|---|---|
Connector Part Information |
| ||||||
Pin | Wire Color | Circuit No. | Function | ||||
A | BRN | 4 | Accessory Voltage | ||||
B | ORN | 1040 | Battery Positive Voltage | ||||
C | PNK | 3 | Ignition 1 Voltage | ||||
D | YEL | 5 | Crank Voltage | ||||
E | DK GRN | 500 | Ignition 0 Voltage | ||||
F | ORN | 2340 | Battery Positive Voltage | ||||
G | ORN | 300 | Ignition 3 Voltage | ||||
| |||||||
|---|---|---|---|---|---|---|---|
Connector Part Information |
| ||||||
Pin | Wire Color | Circuit No. | Function | ||||
A | -- | -- | Not Used | ||||
B | BLK | 1650 | Ground | ||||
C | BLK | 1650 | Ground | ||||
D | BRN | 9 | Park Lamp Supply Voltage | ||||
E | BRN | 9 | Park Lamp Supply Voltage | ||||
F | BRN | 9 | Park Lamp Supply Voltage | ||||
G | ORN | 2740 | Battery Positive Voltage | ||||
H | ORN | 2740 | Battery Positive Voltage | ||||
J | ORN | 2740 | Battery Positive Voltage | ||||
K | BRN | 241 | Ignition 3 Voltage | ||||
L | BRN | 241 | Ignition 3 Voltage | ||||
M | BRN | 241 | Ignition 3 Voltage | ||||
| |||||||
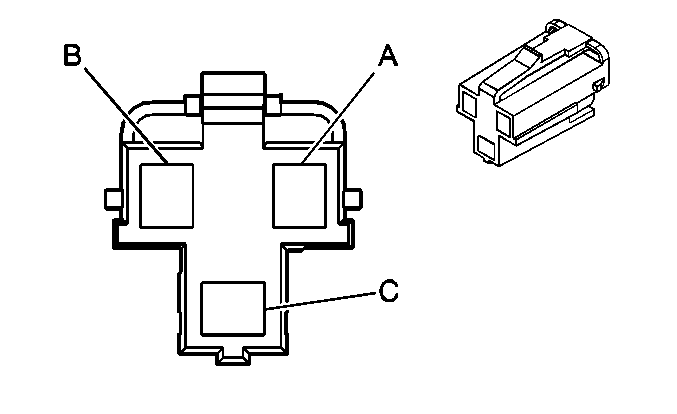
|---|---|---|---|---|---|---|---|
Connector Part Information |
| ||||||
Pin | Wire Color | Circuit No. | Function | ||||
A | DK BLU/WHT | 727 | Secondary Door Latch Switch Signal | ||||
B | DK BLU/WHT | 727 | Secondary Door Latch Switch Signal | ||||
C | DK BLU/WHT | 727 | Secondary Door Latch Switch Signal | ||||
D-H | -- | -- | Not Used | ||||
K | PNK | 775 | Door Jamb Switch Signal - Driver | ||||
L | PNK | 775 | Door Jamb Switch Signal - Driver | ||||
M | PNK | 775 | Door Jamb Switch Signal - Driver | ||||
| |||||||
|---|---|---|---|---|---|---|---|
Connector Part Information |
| ||||||
Pin | Wire Color | Circuit No. | Function | ||||
A | BRN | 9 | Park Lamp Supply Voltage | ||||
B | BRN | 9 | Park Lamp Supply Voltage | ||||
BRN | 9 | Park Lamp Supply Voltage | |||||
C | BRN | 9 | Park Lamp Supply Voltage | ||||
BRN | 9 | Park Lamp Supply Voltage | |||||
D | BLK | 850 | Ground | ||||
E | BLK | 850 | Ground | ||||
BLK | 850 | Ground | |||||
F | BLK | 850 | Ground | ||||
G | YEL | 18 | Left Rear Stop/Turn Lamp Supply Voltage | ||||
H | YEL | 18 | Left Rear Stop/Turn Lamp Supply Voltage | ||||
J | YEL | 18 | Left Rear Stop/Turn Lamp Supply Voltage | ||||
K-M | -- | -- | Not Used | ||||