| |||||||
|---|---|---|---|---|---|---|---|
Connector Part Information |
| ||||||
Pin | Wire Color | Circuit No. | Function | ||||
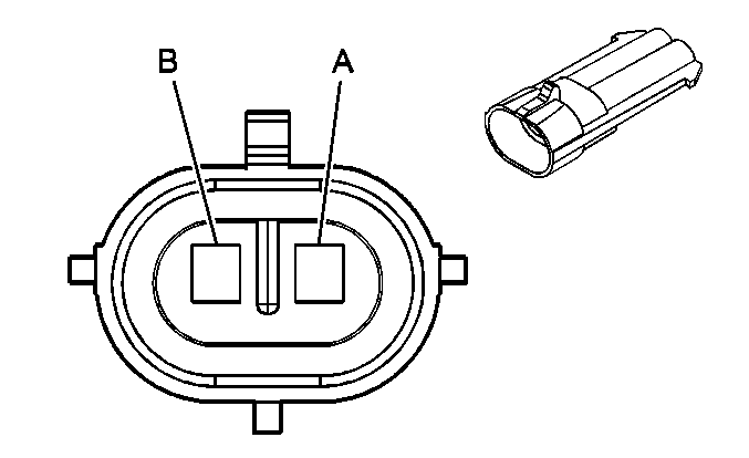
A | WHT | 17 | Stop Lamp Switch Signal | ||||
B | LT GRN | 275 | PNP Switch Park Signal | ||||
C | -- | -- | Not Used | ||||
D | BRN | 882 | Right Rear Wheel Speed Sensor Signal | ||||
E | WHT | 883 | Right Rear Wheel Speed Sensor Low Reference | ||||
F | LT BLU | 1122 | ABS/TCS Class 2 Serial Data | ||||
G | LT GRN | 24 | Backup Lamp Supply Voltage | ||||
H | PNK | 539 | Ignition 1 Voltage | ||||
J | -- | -- | Not Used | ||||
K | BLK | 884 | Left Rear Wheel Speed Sensor Signal | ||||
J | -- | -- | Not Used | ||||
L | RED | 885 | Left Rear Wheel Speed Sensor Low Reference | ||||
M-S | -- | -- | Not Used | ||||
| |||||||
|---|---|---|---|---|---|---|---|
Connector Part Information |
| ||||||
Pin | Wire Color | Circuit No. | Function | ||||
A | WHT | 17 | Stop Lamp Switch Signal | ||||
B | LT GRN | 275 | PNP Switch Park Signal | ||||
C | -- | -- | Not Used | ||||
D | BRN | 882 | Right Rear Wheel Speed Sensor Signal | ||||
E | WHT | 883 | Right Rear Wheel Speed Sensor Low Reference | ||||
F | LT BLU | 1122 | ABS/TCS Class 2 Serial Data | ||||
G | LT GRN | 24 | Backup Lamp Supply Voltage | ||||
H | PNK | 539 | Ignition 1 Voltage | ||||
J | -- | -- | Not Used | ||||
K | BLK | 884 | Left Rear Wheel Speed Sensor Signal | ||||
L | RED | 885 | Left Rear Wheel Speed Sensor Low Reference | ||||
M-S | -- | -- | Not Used | ||||
| |||||||
|---|---|---|---|---|---|---|---|
Connector Part Information |
| ||||||
Pin | Wire Color | Circuit No. | Function | ||||
A | PNK | 639 | Ignition 1 Voltage | ||||
B | YEL | 410 | ECT Sensor Signal | ||||
C | BLK | 1744 | Fuel Injector 1 Control | ||||
D | LT GRN/BLK | 1745 | Fuel Injector 2 Control | ||||
E | PNK/BLK | 1746 | Fuel Injector 3 Control | ||||
F | LT BLU/BLK | 844 | Fuel Injector 4 Control | ||||
G | BLK/WHT | 845 | Fuel Injector 5 Control | ||||
H | YEL/BLK | 846 | Fuel Injector 6 Control | ||||
J | -- | -- | Not Used | ||||
K | GRY | 2704 | 5-Volt Reference | ||||
L | ORN/BLK | 469 | Low Reference | ||||
M | LT GRN | 432 | MAP Sensor Signal | ||||
N | RED/WHT | 812 | 12-Volt Reference | ||||
P | BLK | 407 | Low Reference | ||||
R | BRN/WHT | 633 | CMP Sensor Signal | ||||
S | -- | -- | Not Used | ||||
| |||||||
|---|---|---|---|---|---|---|---|
Connector Part Information |
| ||||||
Pin | Wire Color | Circuit No. | Function | ||||
A | PNK | 639 | Ignition 1 Voltage | ||||
B | YEL | 410 | ECT Sensor Signal | ||||
C | BLK | 1744 | Fuel Injector 1 Control | ||||
D | LT GRN/BLK | 1745 | Fuel Injector 2 Control | ||||
E | PNK/BLK | 1746 | Fuel Injector 3 Control | ||||
F | LT BLU/BLK | 844 | Fuel Injector 4 Control | ||||
G | BLK/WHT | 845 | Fuel Injector 5 Control | ||||
H | YEL/BLK | 846 | Fuel Injector 6 Control | ||||
J | -- | -- | Not Used | ||||
K | GRY | 2704 | 5-Volt Reference | ||||
L | ORN/BLK | 469 | Low Reference | ||||
M | LT GRN | 432 | MAP Sensor Signal | ||||
N | RED/WHT | 812 | 12-Volt Reference | ||||
P | BLK | 407 | Low Reference | ||||
R | BRN/WHT | 633 | CMP Sensor Signal | ||||
S | -- | -- | Not Used | ||||
| |||||||
|---|---|---|---|---|---|---|---|
Connector Part Information |
| ||||||
Pin | Wire Color | Circuit No. | Function | ||||
A | DK GRN | 1049 | PCM Class 2 Serial Data | ||||
B | BLK | 2759 | Low Reference | ||||
C | PPL | 420 | TCC Brake Switch/Cruise Control Release Signal | ||||
D | BRN/WHT | 419 | MIL Control | ||||
E | DK GRN | 890 | Fuel Tank Pressure Sensor Signal | ||||
F | WHT | 1310 | EVAP Canister Vent Solenoid Control | ||||
G | DK GRN | 389 | Vehicle Speed Signal | ||||
H | BLK/WHT | 451 | Ground | ||||
J | YEL | 5 | Crank Voltage | ||||
K | WHT | 85 | Cruise Control Engaged Signal | ||||
L | DK GRN | 500 | Ignition 0 Voltage | ||||
M | -- | -- | Not Used | ||||
N | PPL | 1589 | Fuel Level Sensor Signal - Primary | ||||
P | GRY | 2709 | 5-Volt Reference | ||||
R | DK GRN | 83 | Cruise Control Inhibit Signal | ||||
S | LT BLU | 1296 | Axle Actuator - Control | ||||
| |||||||
|---|---|---|---|---|---|---|---|
Connector Part Information |
| ||||||
Pin | Wire Color | Circuit No. | Function | ||||
A | DK GRN | 1049 | PCM Class 2 Serial Data | ||||
B | BLK | 2759 | Low Reference | ||||
C | PPL | 420 | TCC Brake Switch/Cruise Control Release Signal | ||||
D | BRN/WHT | 419 | MIL Control | ||||
E | DK GRN | 890 | Fuel Tank Pressure Sensor Signal | ||||
F | WHT | 1310 | EVAP Canister Vent Solenoid Control | ||||
G | DK GRN | 389 | Vehicle Speed Signal | ||||
H | BLK/WHT | 451 | Ground | ||||
J | YEL | 5 | Crank Voltage | ||||
K | WHT | 85 | Cruise Control Engaged Signal | ||||
L | DK GRN | 500 | Ignition 0 Voltage | ||||
M | -- | -- | Not Used | ||||
N | PPL | 1589 | Fuel Level Sensor Signal - Primary | ||||
P | GRY | 2709 | 5-Volt Reference | ||||
R | DK GRN | 83 | Cruise Control Inhibit Signal | ||||
S | LT BLU | 1296 | Axle Actuator - Control | ||||
| |||||||
|---|---|---|---|---|---|---|---|
Connector Part Information |
| ||||||
Pin | Wire Color | Circuit No. | Function | ||||
A | BLK | 1250 | Ground | ||||
B | LT BLU | 409 | Cooling Fan Motor Supply Voltage | ||||
C | GRY | 532 | Cooling Fan Motor Supply Voltage | ||||
D | WHT | 504 | Cooling Fan Low Reference | ||||
| |||||||
|---|---|---|---|---|---|---|---|
Connector Part Information |
| ||||||
Pin | Wire Color | Circuit No. | Function | ||||
A | BLK | 1250 | Ground | ||||
B | LT BLU | 409 | Cooling Fan Motor Supply Voltage | ||||
C | GRY | 532 | Cooling Fan Motor Supply Voltage | ||||
D | WHT | 504 | Cooling Fan Low Reference | ||||
| |||||||
|---|---|---|---|---|---|---|---|
Connector Part Information |
| ||||||
Pin | Wire Color | Circuit No. | Function | ||||
A | LT GRN/BLK | 735 | Ambient Air Temperature Sensor Signal | ||||
B | YEL | 61 | Low Reference | ||||
| |||||||
|---|---|---|---|---|---|---|---|
Connector Part Information |
| ||||||
Pin | Wire Color | Circuit No. | Function | ||||
A | LT GRN/BLK | 735 | Ambient Air Temperature Sensor Signal | ||||
B | YEL | 61 | Low Reference | ||||
| |||||||
|---|---|---|---|---|---|---|---|
Connector Part Information |
| ||||||
Pin | Wire Color | Circuit No. | Function | ||||
A | YEL | 712 | Left Headlamp Low Beam Supply Voltage | ||||
B | DK GRN/WHT | 711 | Left Headlamp High Beam Supply Voltage | ||||
C | BLK | 1350 | Ground | ||||
D | -- | -- | Not Used | ||||
| |||||||
|---|---|---|---|---|---|---|---|
Connector Part Information |
| ||||||
Pin | Wire Color | Circuit No. | Function | ||||
A | YEL | 712 | Left Headlamp Low Beam Supply Voltage | ||||
B | DK GRN/WHT | 711 | Left Headlamp High Beam Supply Voltage | ||||
C | BLK | 1350 | Ground | ||||
D | -- | -- | Not Used | ||||
| |||||||
|---|---|---|---|---|---|---|---|
Connector Part Information |
| ||||||
Pin | Wire Color | Circuit No. | Function | ||||
A | TAN/WHT | 312 | Right Headlamp Low Beam Supply Voltage | ||||
B | LT GRN/BLK | 311 | Right Headlamp High Beam Supply Voltage | ||||
C | BLK | 1250 | Ground | ||||
D | DK BLU | 593 | DRL Headlamp High Beam Supply Voltage | ||||
| |||||||
|---|---|---|---|---|---|---|---|
Connector Part Information |
| ||||||
Pin | Wire Color | Circuit No. | Function | ||||
A | TAN/WHT | 312 | Right Headlamp Low Beam Supply Voltage | ||||
B | LT GRN/BLK | 311 | Right Headlamp High Beam Supply Voltage | ||||
C | BLK | 150 | Ground | ||||
D | DK BLU | 593 | DRL Headlamp High Beam Supply Voltage | ||||
| |||||||
|---|---|---|---|---|---|---|---|
Connector Part Information |
| ||||||
Pin | Wire Color | Circuit No. | Function | ||||
A | LT BLU | 14 | Left Turn Signal Lamps Supply Voltage | ||||
B | BRN | 9 | Park Lamp Supply Voltage | ||||
C | BLK | 1350 | Ground | ||||
| |||||||
|---|---|---|---|---|---|---|---|
Connector Part Information |
| ||||||
Pin | Wire Color | Circuit No. | Function | ||||
A | LT BLU | 14 | Left Turn Signal Lamps Supply Voltage | ||||
B | BRN | 9 | Park Lamp Supply Voltage | ||||
C | BLK | 1350 | Ground | ||||
| |||||||
|---|---|---|---|---|---|---|---|
Connector Part Information |
| ||||||
Pin | Wire Color | Circuit No. | Function | ||||
A | DK BLU | 15 | Right Turn Signal Lamps Supply Voltage | ||||
B | BRN | 9 | Park Lamp Supply Voltage | ||||
C | BLK | 1250 | Ground | ||||
| |||||||
|---|---|---|---|---|---|---|---|
Connector Part Information |
| ||||||
Pin | Wire Color | Circuit No. | Function | ||||
A | DK BLU | 15 | Right Turn Signal Lamps Supply Voltage | ||||
B | BRN | 9 | Park Lamp Supply Voltage | ||||
C | BLK | 1250 | Ground | ||||
| |||||||
|---|---|---|---|---|---|---|---|
Connector Part Information |
| ||||||
Pin | Wire Color | Circuit No. | Function | ||||
A1 | LT BLU/BLK | 315 | Right Subwoofer Speaker Output (-) | ||||
A2 | DK GRN | 1795 | Right Subwoofer Speaker Output (+) | ||||
A3 | BRN/WHT | 2517 | Keypad Red LED Signal | ||||
A4 | YEL/BLK | 2516 | Keypad Green LED Signal | ||||
A5 | DK GRN/WHT | 2514 | Keypad Signal | ||||
A6 | ORN/BLK | 2518 | Keypad Low Reference | ||||
A7 | PNK | 1439 | Ignition 1 Voltage | ||||
A8 | -- | -- | Not Used | ||||
A9 | GRY | 120 | Fuel Pump Supply Voltage | ||||
A10 | LT GRN/BLK | 2515 | Keypad Supply Voltage | ||||
A11 | GRY | 655 | Cellular Microphone Signal | ||||
A12 | BARE | 1705 | Drain Wire | ||||
A13-15 | -- | -- | Not Used | ||||
B1 | RED | 1955 | Right Rear Midrange Speaker Output (-) | ||||
B2 | TAN | 1855 | Right Rear Midrange Speaker Output (+) | ||||
B3 | PNK | 1439 | Ignition 1 Voltage | ||||
B4 | -- | -- | Not Used | ||||
B5 | LT BLU/BLK | 1505 | Passenger Heated Seat Switch Signal | ||||
B6 | -- | -- | Not Used | ||||
B7 | DK GRN | 117 | Right Front Speaker Output (-) | ||||
DK GRN | 117 | Right Front Speaker Output (-) | |||||
B8 | LT GRN | 200 | Right Front Speaker Output (+) | ||||
LT GRN | 200 | Right Front Speaker Output (+) | |||||
B9 | DK BLU | 1796 | Steering Wheel Controls Signal | ||||
B10-B15 | -- | -- | Not Used | ||||
| |||||||
|---|---|---|---|---|---|---|---|
Connector Part Information |
| ||||||
Pin | Wire Color | Circuit No. | Function | ||||
A1 | LT BLU/BLK | 315 | Right Subwoofer Speaker Output (-) | ||||
A2 | DK GRN | 1795 | Right Subwoofer Speaker Output (+) | ||||
A3 | LT GRN | 2517 | Keypad Red LED Signal | ||||
A4 | YEL/BLK | 2516 | Keypad Green LED Signal | ||||
A5 | LT GRN | 2514 | Keypad Signal | ||||
A6 | LT GRN | 2518 | Keypad Low Reference | ||||
A7 | PNK | 1439 | Ignition 1 Voltage | ||||
A8 | -- | -- | Not Used | ||||
A9 | GRY | 120 | Fuel Pump Supply Voltage | ||||
A10 | LT GRN/BLK | 2515 | Keypad Supply Voltage | ||||
A11 | GRY | 655 | Cellular Microphone Signal | ||||
A12 | BARE | 1705 | Drain Wire | ||||
A13-A15 | -- | -- | Not Used | ||||
B1 | RED | 1955 | Right Rear Midrange Speaker Output (-) | ||||
B2 | TAN | 1855 | Right Rear Midrange Speaker Output (+) | ||||
B3 | PNK | 1439 | Ignition 1 Voltage | ||||
B4 | -- | -- | Not Used | ||||
B5 | LT BLU/BLK | 1505 | Passenger Heated Seat Switch Signal | ||||
B6 | -- | -- | Not Used | ||||
B7 | DK GRN | 117 | Right Front Speaker Output (-) | ||||
B8 | LT GRN | 200 | Right Front Speaker Output (+) | ||||
B9 | DK BLU | 1796 | Steering Wheel Controls Signal | ||||
DK BLU | 1796 | Steering Wheel Controls Signal | |||||
B10-B15 | -- | -- | Not Used | ||||
| |||||||
|---|---|---|---|---|---|---|---|
Connector Part Information |
| ||||||
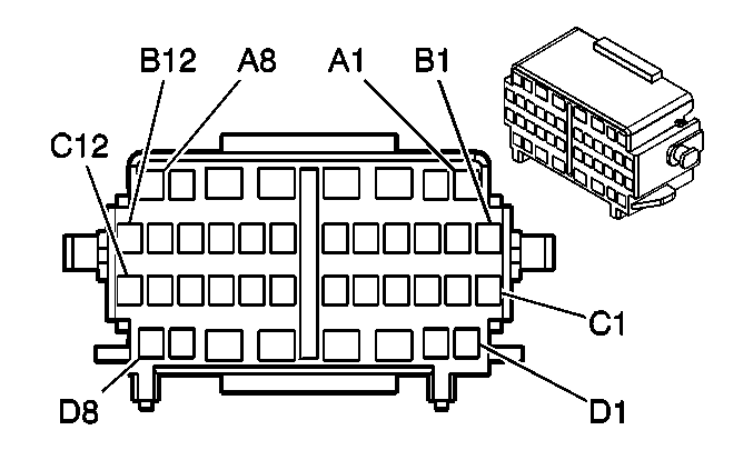
Pin | Wire Color | Circuit No. | Function | ||||
A1 | ORN | 300 | Ignition 3 Voltage | ||||
A2 | YEL | 5 | Crank Voltage | ||||
A3 | PNK | 3 | Ignition 1 Voltage | ||||
A4 | BRN | 4 | Accessory Voltage | ||||
A5 | ORN | 1040 | Battery Positive Voltage | ||||
A6 | YEL | 243 | Accessory Voltage | ||||
A7 | DK GRN | 500 | Ignition 0 Voltage | ||||
A8 | ORN | 2340 | Battery Positive Voltage | ||||
B1 | BLK | 1550 | Ground | ||||
B2 | LT GRN | 80 | Key In Ignition Switch Signal | ||||
B3 | PPL | 1807 | Class 2 Serial Data - Primary | ||||
B4 | LT BLU | 1134 | Park Brake Switch Signal | ||||
B5 | BLK | 1450 | Ground | ||||
B6 | ORN | 2340 | Battery Positive Voltage | ||||
B7 | PPL | 1500 | Ignition 0 Voltage | ||||
B8 | PNK | 39 | Ignition 1 Voltage | ||||
B9 | GRY | 397 | Cruise Control On Switch Signal | ||||
B10 | DK BLU | 84 | Cruise Control Set/Coast Switch Signal | ||||
B11 | GRY/BLK | 87 | Cruise Control Resume/Accel Switch Signal | ||||
B12 | PPL | 1375 | Remote Radio Control Supply Voltage | ||||
C1 | PNK | 539 | Ignition 1 Voltage | ||||
C2 | BLU LT/WHT | 1414 | Left Front Turn Signal Switch Signal | ||||
C3 | DK BLU/WHT | 1415 | Right Front Turn Signal Switch Signal | ||||
C4 | TAN | 2144 | Hazard Switch Signal | ||||
C5 | BLK | 28 | Horn Relay Control | ||||
C6-C11 | -- | -- | Not Used | ||||
C12 | LT BLU | 910 | Headlamp Relay Control | ||||
D1 | BLK/WHT | 1969 | Headlamp High Beam Relay Control | ||||
D2 | PNK/WHT | 1970 | Headlamp Low Beam Relay Control | ||||
D3 | GRY | 112 | Windshield Wiper Switch Signal 1 | ||||
D4 | DK GRN | 113 | Windshield Wiper Switch Signal 2 | ||||
D5 | PPL | 92 | Windshield Wiper Motor High Speed | ||||
D6 | RED | 228 | Windshield Washer Pump Control | ||||
D7 | DK BLU | 1796 | Steering Wheel Controls Signal | ||||
D8 | GRY/BLK | 1458 | Instrument Panel Lamp Supply Voltage - 4 | ||||
| |||||||
|---|---|---|---|---|---|---|---|
Connector Part Information |
| ||||||
Pin | Wire Color | Circuit No. | Function | ||||
A1 | ORN | 300 | Ignition 3 Voltage | ||||
A2 | YEL | 5 | Crank Voltage | ||||
A3 | PNK | 3 | Ignition 1 Voltage | ||||
A4 | BRN | 4 | Accessory Voltage | ||||
A5 | ORN | 1040 | Battery Positive Voltage | ||||
A6 | YEL | 243 | Accessory Voltage | ||||
A7 | DK GRN | 500 | Ignition 0 Voltage | ||||
A8 | ORN | 2340 | Battery Positive Voltage | ||||
B1 | BLK | 1550 | Ground | ||||
B2 | LT GRN | 80 | Key In Ignition Switch Signal | ||||
B3 | PPL | 1807 | Class 2 Serial Data - Primary | ||||
B4 | LT BLU | 1134 | Park Brake Switch Signal | ||||
B5 | BLK | 1450 | Ground | ||||
B6 | ORN | 2340 | Battery Positive Voltage | ||||
B7 | PPL | 1500 | Ignition 0 Voltage | ||||
B8 | PNK | 39 | Ignition 1 Voltage | ||||
B9 | GRY | 397 | Cruise Control On Switch Signal | ||||
B10 | DK BLU | 84 | Cruise Control Set/Coast Switch Signal | ||||
B11 | GRY/BLK | 87 | Cruise Control Resume/Accel Switch Signal | ||||
B12 | PPL | 1375 | Remote Radio Control Supply Voltage | ||||
C1 | PNK | 539 | Ignition 1 Voltage | ||||
C2 | BLU LT/WHT | 1414 | Left Front Turn Signal Switch Signal | ||||
C3 | DK BLU/WHT | 1415 | Right Front Turn Signal Switch Signal | ||||
C4 | TAN | 2144 | Hazard Switch Signal | ||||
C5 | BLK | 28 | Horn Relay Control | ||||
C6-C11 | -- | -- | Not Used | ||||
C12 | LT BLU | 910 | Headlamp Relay Control | ||||
D1 | BLK/WHT | 1969 | Headlamp High Beam Relay Control | ||||
D2 | PNK/WHT | 1970 | Headlamp Low Beam Relay Control | ||||
D3 | GRY | 112 | Windshield Wiper Switch Signal 1 | ||||
D4 | DK GRN | 113 | Windshield Wiper Switch Signal 2 | ||||
D5 | PPL | 92 | Windshield Wiper Motor High Speed | ||||
D6 | RED | 228 | Washer Pump Control | ||||
D7 | DK BLU | 1796 | Steering Wheel Controls Signal | ||||
D8 | GRY/BLK | 1458 | Instrument Panel Lamp Supply Voltage - 4 | ||||
| |||||||
|---|---|---|---|---|---|---|---|
Connector Part Information |
| ||||||
Pin | Wire Color | Circuit No. | Function | ||||
A1 | BLK | 884 | Left Rear Wheel Speed Sensor Signal | ||||
A2 | RED | 885 | Left Rear Wheel Speed Sensor Low Reference | ||||
A3 | TAN | 201 | Left Front Speaker Output (+) | ||||
A4 | GRY | 118 | Left Front Speaker Output (-) | ||||
A5 | BRN | 1999 | Left Rear Low Level Audio Signal (-) | ||||
BRN | 1999 | Left Rear Low Level Audio Signal (-) | |||||
A6 | BRN | 599 | Left Rear Low Level Audio Signal (+) | ||||
BRN | 599 | Left Rear Low Level Audio Signal (+) | |||||
A7 | BRN | 199 | Left Rear Speaker Output (+) | ||||
A8 | WHT | 883 | Right Rear Wheel Speed Sensor Low Reference | ||||
B1 | PPL | 1589 | Fuel Level Sensor Signal - Primary | ||||
B2 | LT BLU | 1296 | Axle Actuator - Control | ||||
B3 | -- | -- | Not Used | ||||
B4 | GRY | 2709 | 5-Volt Reference | ||||
B5 | YEL | 116 | Left Rear Speaker Output (-) | ||||
B6 | PPL | 493 | Rear Seat Audio Enable Signal | ||||
B7 | -- | -- | Not Used | ||||
B8 | DK GRN | 890 | Fuel Tank Pressure Sensor Signal | ||||
B9 | BLK | 2759 | Low Reference | ||||
B10 | DK BLU | 1128 | SDM Class 2 Serial Data | ||||
B11 | BRN | 882 | Right Rear Wheel Speed Sensor Signal | ||||
B12 | LT BLU | 1462 | Heated Seat Switch Signal | ||||
C1-C4 | -- | -- | Not Used | ||||
C5 | WHT | 1310 | EVAP Canister Vent Solenoid Control | ||||
C6 | -- | -- | Not Used | ||||
C7 | BRN/WHT | 1048 | SCM (Seat) Class 2 Serial Data | ||||
C8-C9 | -- | -- | Not Used | ||||
C10 | LT BLU | 115 | Right Rear Speaker Output (-) | ||||
C11 | DK BLU | 46 | Right Rear Speaker Output (+) | ||||
C12 | LT GRN | 1011 | Remote Radio Control Signal | ||||
D1 | LT GRN/BLK | 1794 | Left Rear Subwoofer Speaker Output (-) | ||||
D2 | DK BLU/WHT | 346 | Left Rear Subwoofer Speaker Output (+) | ||||
D3 | BRN | 9 | Park Lamp Supply Voltage | ||||
D4 | PPL | 1375 | Remote Radio Control Supply Voltage | ||||
D5 | BLK | 1946 | Right Rear Low Level Audio Signal (-) | ||||
BLK | 1946 | Right Rear Low Level Audio Signal (-) | |||||
D6 | DK BLU | 546 | Right Rear Low Level Audio Signal (+) | ||||
DK BLU | 546 | Right Rear Low Level Audio Signal (+) | |||||
D7 | WHT | 1959 | Left Rear Midrange Speaker Output (-) | ||||
D8 | TAN | 1859 | Left Rear Midrange Speaker Output (+) | ||||
| |||||||
|---|---|---|---|---|---|---|---|
Connector Part Information |
| ||||||
Pin | Wire Color | Circuit No. | Function | ||||
A1 | BLK | 884 | Left Rear Wheel Speed Sensor Signal | ||||
A2 | RED | 885 | Left Rear Wheel Speed Sensor Low Reference | ||||
A3 | TAN | 201 | Left Front Speaker Output (+) | ||||
TAN | 201 | Left Front Speaker Output (+) | |||||
A4 | GRY | 118 | Left Front Speaker Output (-) | ||||
GRY | 118 | Left Front Speaker Output (-) | |||||
A5 | BRN | 1999 | Left Rear Low Level Audio Signal (-) | ||||
A6 | BRN | 599 | Left Rear Low Level Audio Signal (+) | ||||
A7 | BRN | 199 | Left Rear Speaker Output (+) | ||||
A8 | WHT | 883 | Right Rear Wheel Speed Sensor Low Reference | ||||
B1 | PPL | 1589 | Fuel Level Sensor Signal - Primary | ||||
B2 | LT BLU | 1296 | Axle Actuator - Control | ||||
B3 | -- | -- | Not Used | ||||
B4 | GRY | 2709 | 5-Volt Reference | ||||
B5 | YEL | 116 | Left Rear Speaker Output (-) | ||||
B6 | PPL | 493 | Rear Seat Audio Enable Signal | ||||
B7 | -- | -- | Not Used | ||||
B8 | DK GRN | 890 | Fuel Tank Pressure Sensor Signal | ||||
B9 | BLK | 2759 | Low Reference | ||||
B10 | DK BLU | 1128 | SDM Class 2 Serial Data | ||||
B11 | BRN | 882 | Right Rear Wheel Speed Sensor Signal | ||||
B12 | LT BLU | 1462 | Heated Seat Switch Signal | ||||
C1-C4 | -- | -- | Not Used | ||||
C5 | WHT | 1310 | EVAP Canister Vent Solenoid Control | ||||
C6 | -- | -- | Not Used | ||||
C7 | BRN/WHT | 1048 | SCM/Seat Class 2 Serial Data | ||||
C8-C9 | -- | -- | Not Used | ||||
C10 | LT BLU | 115 | Right Rear Speaker Output (-) | ||||
C11 | DK BLU | 46 | Right Rear Speaker Output (+) | ||||
C12 | LT GRN | 1011 | Remote Radio Control Signal | ||||
D1 | LT GRN/BLK | 1794 | Left Rear Subwoofer Speaker Output (-) | ||||
D2 | DK BLU/WHT | 346 | Left Rear Subwoofer Speaker Output (+) | ||||
D3 | BRN | 9 | Park Lamp Supply Voltage | ||||
D4 | PPL | 1375 | Remote Radio Control Supply Voltage | ||||
PPL | 1375 | Remote Radio Control Supply Voltage | |||||
D5 | BLK | 1946 | Right Rear Low Level Audio Signal (-) | ||||
D6 | DK BLU | 546 | Right Rear Low Level Audio Signal (+) | ||||
D7 | WHT | 1959 | Left Rear Midrange Speaker Output (-) | ||||
D8 | TAN | 1859 | Left Rear Midrange Speaker Output (+) | ||||
| |||||||
|---|---|---|---|---|---|---|---|
Connector Part Information |
| ||||||
Pin | Wire Color | Circuit No. | Function | ||||
A | ORN | 2740 | Battery Positive Voltage | ||||
B | BLK | 150 | Ground | ||||
| |||||||
|---|---|---|---|---|---|---|---|
Connector Part Information |
| ||||||
Pin | Wire Color | Circuit No. | Function | ||||
A | ORN | 2740 | Battery Positive Voltage | ||||
B | BLK | 150 | Ground | ||||
| |||||||
|---|---|---|---|---|---|---|---|
Connector Part Information |
| ||||||
Pin | Wire Color | Circuit No. | Function | ||||
A | LT BLU | 1235 | Audio Low Reference | ||||
B | BRN/WHT | 2506 | Audio Return Signal | ||||
C | DK GRN/WHT | 2507 | Audio Transmit Signal | ||||
D | BARE | 1792 | Drain Wire | ||||
E | GRY/BLK | 2508 | Microphone Signal | ||||
F | ORN | 2240 | Battery Positive Voltage | ||||
G | TAN/BLK | 2510 | OnStar Serial Data Return | ||||
H | DK BLU/WHT | 2511 | OnStar Serial Data (-) | ||||
J | LT BLU/BLK | 2512 | OnStar Serial Data (+) | ||||
K | GRY/BLK | 2520 | Transceiver Low Reference | ||||
L | PPL/WHT | 2513 | Ignition ON Signal | ||||
M | -- | -- | Not Used | ||||
| |||||||
|---|---|---|---|---|---|---|---|
Connector Part Information |
| ||||||
Pin | Wire Color | Circuit No. | Function | ||||
A | LT BLU | 1235 | Audio Low Reference | ||||
B | BRN/WHT | 2506 | Audio Return Signal | ||||
C | DK GRN/WHT | 2507 | Audio Transmit Signal | ||||
D | BARE | 1792 | Drain Wire | ||||
E | GRY/BLK | 2508 | Microphone Signal | ||||
F | ORN | 2240 | Battery Positive Voltage | ||||
G | TAN/BLK | 2510 | OnStar Serial Data Return | ||||
H | DK BLU/WHT | 2511 | OnStar Serial Data (-) | ||||
J | LT BLU/BLK | 2512 | OnStar Serial Data (+) | ||||
K | GRY/BLK | 2520 | Transceiver Low Reference | ||||
L | PPL/WHT | 2513 | Ignition ON Signal | ||||
M | -- | -- | Not Used | ||||
| |||||||
|---|---|---|---|---|---|---|---|
Connector Part Information |
| ||||||
Pin | Wire Color | Circuit No. | Function | ||||
A1-A3 | -- | -- | Not Used | ||||
A4 | DK BLU | 1307 | Power Window Master Switch Lockout Signal | ||||
A5 | PPL | 169 | Power Window Master Switch Left Rear Down Signal | ||||
A6 | DK GRN | 168 | Power Window Master Switch Left Rear Up Signal | ||||
A7-A8 | -- | -- | Not Used | ||||
B1 | -- | -- | Not Used | ||||
B2 | GRY | 118 | Left Front Speaker Output (-) | ||||
B3 | GRY | 118 | Left Front Speaker Output (-) | ||||
B4 | DK BLU/WHT | 727 | Right Front Door Open Switch Signal | ||||
B5-B7 | -- | -- | Not Used | ||||
B8 | ORN | 840 | Battery Positive Voltage | ||||
B9 | RED/WHT | 881 | Passenger Mirror Motor Right Control | ||||
B10 | GRY | 8 | Instrument Panel Lamp Supply Voltage - 1 | ||||
B11 | TAN | 694 | Driver Door Lock Actuator Unlock Control | ||||
B12 | -- | -- | Not Used | ||||
C1 | TAN | 201 | Left Front Speaker Output (+) | ||||
C2 | TAN | 201 | Left Front Speaker Output (+) | ||||
C3 | RED/BLK | 780 | Driver Door Lock Switch Lock Signal | ||||
C4 | DK BLU | 49 | Driver Door Ajar Switch Signal Door Open Switch Signal | ||||
C5-C7 | -- | -- | Not Used | ||||
C8 | PPL | 1124 | Door Lock Key Switch Unlock Signal | ||||
C9 | LT BLU/WHT | 1497 | Passenger Mirror Motor Left/Down Control | ||||
C10 | BRN/WHT | 1498 | Passenger Mirror Motor Up Control | ||||
C11 | GRY | 295 | Door Lock Actuator Lock Control | ||||
C12 | -- | -- | Not Used | ||||
D1-D2 | -- | -- | Not Used | ||||
D3 | LT GRN | 170 | Power Window Master Switch Right Rear Up Signal | ||||
D4 | PPL | 171 | Power Window Master Switch Right Rear Down Signal | ||||
D5 | LT BLU | 166 | Power Window Master Switch Right Front Up Signal | ||||
D6 | TAN | 167 | Power Window Master Switch Right Front Down Signal | ||||
D7-D8 | -- | -- | Not Used | ||||
| |||||||
|---|---|---|---|---|---|---|---|
Connector Part Information |
| ||||||
Pin | Wire Color | Circuit No. | Function | ||||
A1-A3 | -- | -- | Not Used | ||||
A4 | DK BLU | 1307 | Power Window Master Switch Lockout Signal | ||||
A5 | PPL | 169 | Power Window Master Switch Left Rear Down Signal | ||||
A6 | DK GRN | 168 | Power Window Master Switch Left Rear Up Signal | ||||
A7-A8 | -- | -- | Not Used | ||||
B1 | -- | -- | Not Used | ||||
B2 | GRY | 118 | Left Front Speaker Output (-) | ||||
B3 | GRY | 118 | Left Front Speaker Output (-) | ||||
B4 | DK BLU/WHT | 727 | Right Front Door Open Switch Signal | ||||
B5-B7 | -- | -- | Not Used | ||||
B8 | ORN | 840 | Battery Positive Voltage | ||||
B9 | RED/WHT | 881 | Passenger Mirror Motor Right Control | ||||
B10 | GRY | 8 | Instrument Panel Lamp Supply Voltage - 1 | ||||
B11 | TAN | 694 | Driver Door Lock Actuator Unlock Control | ||||
B12 | -- | -- | Not Used | ||||
C1 | TAN | 201 | Left Front Speaker Output (+) | ||||
C2 | TAN | 201 | Left Front Speaker Output (+) | ||||
C3 | RED/BLK | 780 | Driver Door Lock Switch Lock Signal | ||||
C4 | DK BLU | 49 | Driver Door Ajar Switch Signal Door Open Switch Signal | ||||
C5-C7 | -- | -- | Not Used | ||||
C8 | PPL | 1124 | Door Lock Key Switch Unlock Signal | ||||
C9 | LT BLU/WHT | 1497 | Passenger Mirror Motor Left/Down Control | ||||
C10 | BRN/WHT | 1498 | Passenger Mirror Motor Up Control | ||||
C11 | GRY | 295 | Door Lock Actuator Lock Control | ||||
C12 | -- | -- | Not Used | ||||
D1-D2 | -- | -- | Not Used | ||||
D3 | LT GRN | 170 | Power Window Master Switch Right Rear Up Signal | ||||
D4 | PPL | 171 | Power Window Master Switch Right Rear Down Signal | ||||
D5 | LT BLU | 166 | Power Window Master Switch Right Front Up Signal | ||||
D6 | TAN | 167 | Power Window Master Switch Right Front Down Signal | ||||
D7-D8 | -- | -- | Not Used | ||||
| |||||||
|---|---|---|---|---|---|---|---|
Connector Part Information |
| ||||||
Pin | Wire Color | Circuit No. | Function | ||||
A1 | -- | -- | Not Used | ||||
A2 | BLK | 750 | Ground | ||||
A3 | -- | -- | Not Used | ||||
A4 | YEL | 143 | Accessory Voltage | ||||
A5-A8 | -- | -- | Not Used | ||||
B1 | -- | -- | Not Used | ||||
B2 | DK GRN | 117 | Right Front Speaker Output (-) | ||||
B3 | DK GRN | 117 | Right Front Speaker Output (-) | ||||
B4 | DK BLU/WHT | 727 | Right Front Door Open Switch Signal | ||||
B5-B8 | -- | -- | Not Used | ||||
B9 | RED/WHT | 881 | Passenger Mirror Motor Right Control | ||||
B10 | GRY | 8 | Instrument Panel Lamp Supply Voltage - 1 | ||||
B11 | TAN | 294 | Door Lock Actuator Unlock Control | ||||
B12 | -- | -- | Not Used | ||||
C1 | LT GRN | 200 | Right Front Speaker Output (+) | ||||
C2 | LT GRN | 200 | Right Front Speaker Output (+) | ||||
C3 | -- | -- | Not Used | ||||
C4 | ORN | 54 | Passenger Door Jamb Switch Signal | ||||
C5-C8 | -- | -- | Not Used | ||||
C9 | LT BLU/WHT | 1497 | Passenger Mirror Motor Left/Down Control | ||||
C10 | BRN/WHT | 1498 | Passenger Mirror Motor Up Control | ||||
C11 | GRY | 295 | Door Lock Actuator Lock Control | ||||
C12 | -- | -- | Not Used | ||||
D1-D2 | -- | -- | Not Used | ||||
D3 | RED/BLK | 780 | Driver Door Lock Switch Lock Signal | ||||
RED/BLK | 780 | Driver Door Lock Switch Lock Signal | |||||
D4 | PPL | 1124 | Door Lock Key Switch Unlock Signal | ||||
PPL | 1124 | Door Lock Key Switch Unlock Signal | |||||
D5 | LT BLU | 166 | Power Window Master Switch Right Front Up Signal | ||||
D6 | TAN | 167 | Power Window Master Switch Right Front Down Signal | ||||
D7-D8 | -- | -- | Not Used | ||||
| |||||||
|---|---|---|---|---|---|---|---|
Connector Part Information |
| ||||||
Pin | Wire Color | Circuit No. | Function | ||||
A1 | -- | -- | Not Used | ||||
A2 | BLK | 750 | Ground | ||||
A3 | -- | -- | Not Used | ||||
A4 | YEL | 143 | Accessory Voltage | ||||
A5-A8 | -- | -- | Not Used | ||||
B1 | -- | -- | Not Used | ||||
B2 | DK GRN | 117 | Right Front Speaker Output (-) | ||||
B3 | DK GRN | 117 | Right Front Speaker Output (-) | ||||
B4 | DK BLU/WHT | 727 | Right Front Door Open Switch Signal | ||||
B5-B8 | -- | -- | Not Used | ||||
B9 | RED/WHT | 881 | Passenger Mirror Motor Right Control | ||||
B10 | GRY | 8 | Instrument Panel Lamp Supply Voltage - 1 | ||||
B11 | TAN | 294 | Door Lock Actuator Unlock Control | ||||
B12 | -- | -- | Not Used | ||||
C1 | LT GRN | 200 | Right Front Speaker Output (+) | ||||
C2 | LT GRN | 200 | Right Front Speaker Output (+) | ||||
C3 | -- | -- | Not Used | ||||
C4 | ORN | 54 | Passenger Door Jamb Switch Signal | ||||
C5-C8 | -- | -- | Not Used | ||||
C9 | LT BLU/WHT | 1497 | Passenger Mirror Motor Left/Down Control | ||||
C10 | BRN/WHT | 1498 | Passenger Mirror Motor Up Control | ||||
C11 | GRY | 295 | Door Lock Actuator Lock Control | ||||
C12 | -- | -- | Not Used | ||||
D1-D2 | -- | -- | Not Used | ||||
D3 | RED/BLK | 780 | Driver Door Lock Switch Lock Signal | ||||
D4 | PPL | 1124 | Door Lock Key Switch Unlock Signal | ||||
D5 | LT BLU | 166 | Power Window Master Switch Right Front Up Signal | ||||
D6 | TAN | 167 | Power Window Master Switch Right Front Down Signal | ||||
D7-D8 | -- | -- | Not Used | ||||
| |||||||
|---|---|---|---|---|---|---|---|
Connector Part Information |
| ||||||
Pin | Wire Color | Circuit No. | Function | ||||
A | BLK | 550 | Ground | ||||
B | YEL | 143 | Accessory Voltage | ||||
| |||||||
|---|---|---|---|---|---|---|---|
Connector Part Information |
| ||||||
Pin | Wire Color | Circuit No. | Function | ||||
A | BLK | 550 | Ground | ||||
B | YEL | 143 | Accessory Voltage | ||||
| |||||||
|---|---|---|---|---|---|---|---|
Connector Part Information |
| ||||||
Pin | Wire Color | Circuit No. | Function | ||||
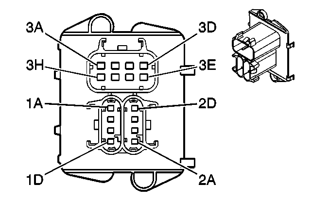
1A | BRN | 882 | Right Rear Wheel Speed Sensor Signal | ||||
2A | LT BLU | 1296 | Axle Actuator - Control | ||||
3A3 | BLK | 250 | Ground | ||||
1B | WHT | 883 | Right Rear Wheel Speed Sensor Low Reference | ||||
2B | PNK | 1439 | Ignition 1 Voltage | ||||
3B | BLK | 2759 | Low Reference | ||||
1C | BLK | 884 | Left Rear Wheel Speed Sensor Signal | ||||
2C | BLK | 550 | Ground | ||||
3C | GRY | 120 | Fuel Pump Supply Voltage | ||||
1D | RED | 885 | Left Rear Wheel Speed Sensor Low Reference | ||||
3D | PPL | 1589 | Fuel Level Sensor Signal - Primary | ||||
3E | DK GRN | 890 | Fuel Tank Pressure Sensor Signal | ||||
3F | WHT | 1310 | EVAP Canister Vent Solenoid Control | ||||
3G | PNK | 1239 | Ignition 1 Voltage | ||||
3H | GRY | 2709 | 5-Volt Reference | ||||
| |||||||
|---|---|---|---|---|---|---|---|
Connector Part Information |
| ||||||
Pin | Wire Color | Circuit No. | Function | ||||
A | BRN | 882 | Right Rear Wheel Speed Sensor Signal | ||||
B | WHT | 883 | Right Rear Wheel Speed Sensor Low Reference | ||||
C | BRN | 884 | Left Rear Wheel Speed Sensor Signal | ||||
D | WHT | 885 | Left Rear Wheel Speed Sensor Low Reference | ||||
| |||||||
|---|---|---|---|---|---|---|---|
Connector Part Information |
| ||||||
Pin | Wire Color | Circuit No. | Function | ||||
A | LT BLU | 1296 | Axle Actuator - Control | ||||
B | PNK | 1439 | Ignition 1 Voltage | ||||
C | BLK | 550 | Ground | ||||
D | -- | -- | Not Used | ||||
| |||||||
|---|---|---|---|---|---|---|---|
Connector Part Information |
| ||||||
Pin | Wire Color | Circuit No. | Function | ||||
A | BLK | 250 | Ground | ||||
B | BLK | 2759 | Low Reference | ||||
C | GRY | 120 | Fuel Pump Supply Voltage | ||||
D | PPL | 1589 | Fuel Level Sensor Signal - Primary | ||||
E | DK GRN | 890 | Fuel Tank Pressure Sensor Signal | ||||
F | WHT | 1310 | EVAP Canister Vent Solenoid Control | ||||
G | PNK | 1239 | Ignition 1 Voltage | ||||
H | GRY | 2709 | 5-Volt Reference | ||||
| |||||||
|---|---|---|---|---|---|---|---|
Connector Part Information |
| ||||||
Pin | Wire Color | Circuit No. | Function | ||||
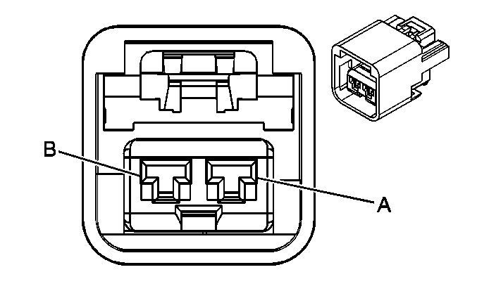
A | WHT | 883 | Right Rear Wheel Speed Sensor Low Reference | ||||
B | BRN | 882 | Right Rear Wheel Speed Sensor Signal | ||||
| |||||||
|---|---|---|---|---|---|---|---|
Connector Part Information |
| ||||||
Pin | Wire Color | Circuit No. | Function | ||||
A | WHT | 883 | Right Rear Wheel Speed Sensor Low Reference | ||||
B | BLK | 882 | Right Rear Wheel Speed Sensor Signal | ||||
| |||||||
|---|---|---|---|---|---|---|---|
Connector Part Information |
| ||||||
Pin | Wire Color | Circuit No. | Function | ||||
A1 | YEL | 116 | Left Rear Low Level Audio Signal (-) | ||||
A2 | BRN | 199 | Left Rear Low Level Audio Signal (+) | ||||
A3 | -- | -- | Not Used | ||||
A4 | LT GRN | 1011 | Remote Radio Control Signal | ||||
A5 | GRY | 8 | Instrument Panel Lamp Supply Voltage - 1 | ||||
A6 | -- | -- | Not Used | ||||
A7 | PPL | 493 | Rear Seat Audio Enable Signal | ||||
A8 | -- | -- | Not Used | ||||
A9 | DK GRN | 1927 | Rear Defog Element Supply Voltage | ||||
A10 | BRN | 9 | Park Lamp Supply Voltage | ||||
A11 | WHT | 17 | Stop Lamp Switch Signal | ||||
A12 | BARE | 1705 | Drain Wire | ||||
A13 | GRY | 655 | Cellular Microphone Signal | ||||
A14 | DK GRN/WHT | 2514 | Keypad Signal | ||||
A15 | LT GRN/BLK | 2515 | Keypad Supply Voltage | ||||
B1 | BLK | 115 | Right Rear Low Level Audio Signal (-) | ||||
B2 | DK BLU | 46 | Right Rear Low Level Audio Signal (+) | ||||
B3 | -- | -- | Not Used | ||||
B4 | ORN | 1732 | Courtesy Lamps Supply Voltage | ||||
B5 | DK BLU | 46 | Right Rear Speaker Output (+) | ||||
B6 | GRY/BLK | 690 | Courtesy Lamp Low Control | ||||
B7 | LT BLU | 115 | Right Rear Speaker Output (-) | ||||
B8 | PPL | 1375 | Remote Radio Control Supply Voltage | ||||
B9 | YEL | 643 | Accessory Voltage | ||||
B10 | YEL | 116 | Left Rear Speaker Output (-) | ||||
B11 | BRN | 199 | Left Rear Speaker Output (+) | ||||
B12 | YEL/BLK | 2516 | Keypad Green LED Signal | ||||
B13 | ORN/BLK | 2518 | Keypad Low Reference | ||||
B14 | BRN/WHT | 2517 | Keypad Red LED Signal | ||||
B15 | -- | -- | Not Used | ||||
| |||||||
|---|---|---|---|---|---|---|---|
Connector Part Information |
| ||||||
Pin | Wire Color | Circuit No. | Function | ||||
A1 | YEL | 116 | Left Rear Low Level Audio Signal (-) | ||||
A2 | BRN | 199 | Left Rear Low Level Audio Signal (+) | ||||
A3 | -- | -- | Not Used | ||||
A4 | LT GRN | 1011 | Remote Radio Control Signal | ||||
A5 | GRY | 8 | Instrument Panel Lamp Supply Voltage - 1 | ||||
A6 | -- | -- | Not Used | ||||
A7 | PPL | 493 | Rear Seat Audio Enable Signal | ||||
A8 | -- | -- | Not Used | ||||
A9 | DK GRN | 1927 | Rear Defog Element Supply Voltage | ||||
A10 | BRN | 9 | Park Lamp Supply Voltage | ||||
A11 | WHT | 17 | Stop Lamp Switch Signal | ||||
A12 | BARE | 1705 | Drain Wire | ||||
A13 | GRY | 655 | Cellular Microphone Signal | ||||
A14 | DK GRN/WHT | 2514 | Keypad Signal | ||||
A15 | LT GRN/BLK | 2515 | Keypad Supply Voltage | ||||
B1 | BLK | 115 | Right Rear Low Level Audio Signal (-) | ||||
B2 | DK BLU | 46 | Right Rear Low Level Audio Signal (+) | ||||
B3 | -- | -- | Not Used | ||||
B4 | ORN | 1732 | Courtesy Lamps Supply Voltage | ||||
B5 | DK BLU | 46 | Right Rear Speaker Output (+) | ||||
B6 | GRY/BLK | 690 | Courtesy Lamp Low Control | ||||
B7 | LT BLU | 115 | Right Rear Speaker Output (-) | ||||
B8 | PPL | 1375 | Remote Radio Control Supply Voltage | ||||
B9 | YEL | 643 | Accessory Voltage | ||||
B10 | YEL | 116 | Left Rear Speaker Output (-) | ||||
B11 | BRN | 199 | Left Rear Speaker Output (+) | ||||
B12 | YEL/BLK | 2516 | Keypad Green LED Signal | ||||
B13 | ORN/BLK | 2518 | Keypad Low Reference | ||||
B14 | BRN/WHT | 2517 | Keypad Red LED Signal | ||||
A15 | -- | -- | Not Used | ||||
| |||||||
|---|---|---|---|---|---|---|---|
Connector Part Information |
| ||||||
Pin | Wire Color | Circuit No. | Function | ||||
A | WHT | 883 | Right Rear Wheel Speed Sensor Low Reference | ||||
B | BLK | 882 | Right Rear Wheel Speed Sensor Signal | ||||
| |||||||
|---|---|---|---|---|---|---|---|
Connector Part Information |
| ||||||
Pin | Wire Color | Circuit No. | Function | ||||
A | WHT | 885 | Left Rear Wheel Speed Sensor Low Reference | ||||
B | BRN | 884 | Left Rear Wheel Speed Sensor Signal | ||||
| |||||||
|---|---|---|---|---|---|---|---|
Connector Part Information |
| ||||||
Pin | Wire Color | Circuit No. | Function | ||||
A | BLK | 550 | Ground | ||||
B | LT BLU | 1462 | Heated Seat Switch Signal | ||||
C-D | -- | -- | Not Used | ||||
E | BLK/WHT | 238 | Seat Belt Switch - Left | ||||
F | ORN | 1140 | Battery Positive Voltage | ||||
G-H | -- | -- | Not Used | ||||
| |||||||
|---|---|---|---|---|---|---|---|
Connector Part Information |
| ||||||
Pin | Wire Color | Circuit No. | Function | ||||
A | BLK | 550 | Ground | ||||
B | LT BLU | 1462 | Heated Seat Switch Signal | ||||
C-D | -- | -- | Not Used | ||||
E | BLK/WHT | 238 | Seat Belt Switch - Left | ||||
F | ORN | 1140 | Battery Positive Voltage | ||||
G-H | -- | -- | Not Used | ||||
| |||||||
|---|---|---|---|---|---|---|---|
Connector Part Information |
| ||||||
Pin | Wire Color | Circuit No. | Function | ||||
A | BLK | 750 | Ground | ||||
B | LT BLU/BLK | 1505 | Passenger Heated Seat Switch Signal | ||||
C-E | -- | -- | Not Used | ||||
F | ORN | 1140 | Battery Positive Voltage | ||||
G-H | -- | -- | Not Used | ||||
| |||||||
|---|---|---|---|---|---|---|---|
Connector Part Information |
| ||||||
Pin | Wire Color | Circuit No. | Function | ||||
A | BLK | 750 | Ground | ||||
B | LT BLU/BLK | 1505 | Passenger Heated Seat Switch Signal | ||||
C-E | -- | -- | Not Used | ||||
F | ORN | 1140 | Battery Positive Voltage | ||||
G-H | -- | -- | Not Used | ||||
| |||||||
|---|---|---|---|---|---|---|---|
Connector Part Information |
| ||||||
Pin | Wire Color | Circuit No. | Function | ||||
A | DK GRN | 1927 | Rear Defog Element Supply Voltage | ||||
| |||||||
|---|---|---|---|---|---|---|---|
Connector Part Information |
| ||||||
Pin | Wire Color | Circuit No. | Function | ||||
A | DK GRN | 1927 | Rear Defog Element Supply Voltage | ||||
| |||||||
|---|---|---|---|---|---|---|---|
Connector Part Information |
| ||||||
Pin | Wire Color | Circuit No. | Function | ||||
A | PPL | 169 | Power Window Master Switch Left Rear Down Signal | ||||
B | GRY | 295 | Door Lock Actuator Lock Control | ||||
C | PNK | 775 | Side Door Jamb Switch Signal | ||||
D | DK BLU | 1307 | Power Window Master Switch Lockout Signal | ||||
E | TAN | 294 | Door Lock Actuator Unlock Control | ||||
F | DK GRN | 168 | Power Window Master Switch Left Rear Up Signal | ||||
G | YEL | 116 | Left Rear Speaker Output (-) | ||||
H | BLK | 550 | Ground | ||||
J | DK BLU/WHT | 727 | Right Front Door Open Switch Signal | ||||
K | BRN | 199 | Left Rear Speaker Output (+) | ||||
| |||||||
|---|---|---|---|---|---|---|---|
Connector Part Information |
| ||||||
Pin | Wire Color | Circuit No. | Function | ||||
A | PPL | 169 | Power Window Master Switch Left Rear Down Signal | ||||
B | GRY | 295 | Door Lock Actuator Lock Control | ||||
C | PNK | 775 | Side Door Jamb Switch Signal | ||||
D | DK BLU | 1307 | Power Window Master Switch Lockout Signal | ||||
E | TAN | 294 | Door Lock Actuator Unlock Control | ||||
F | DK GRN | 168 | Power Window Master Switch Left Rear Up Signal | ||||
| |||||||
|---|---|---|---|---|---|---|---|
Connector Part Information |
| ||||||
Pin | Wire Color | Circuit No. | Function | ||||
G | YEL | 116 | Left Rear Speaker Output (-) | ||||
H | BLK | 550 | Ground | ||||
J | DK BLU/WHT | 727 | Right Front Door Open Switch Signal | ||||
K | BRN | 199 | Left Rear Speaker Output (+) | ||||
| |||||||
|---|---|---|---|---|---|---|---|
Connector Part Information |
| ||||||
Pin | Wire Color | Circuit No. | Function | ||||
A | PPL | 171 | Power Window Master Switch Right Rear Down Signal | ||||
B | GRY | 295 | Door Lock Actuator Lock Control | ||||
C | PNK | 775 | Side Door Jamb Switch Signal | ||||
D | DK BLU | 1307 | Power Window Master Switch Lockout Signal | ||||
E | TAN | 294 | Door Lock Actuator Unlock Control | ||||
F | LT GRN | 170 | Power Window Master Switch Right Rear Up Signal | ||||
G | LT BLU | 115 | Right Rear Speaker Output (-) | ||||
H | BLK | 750 | Ground | ||||
J | DK BLU/WHT | 727 | Right Front Door Open Switch Signal | ||||
K | DK BLU | 46 | Right Rear Speaker Output (+) | ||||
| |||||||
|---|---|---|---|---|---|---|---|
Connector Part Information |
| ||||||
Pin | Wire Color | Circuit No. | Function | ||||
A | PPL | 171 | Power Window Master Switch Right Rear Down Signal | ||||
B | GRY | 295 | Door Lock Actuator Lock Control | ||||
C | PNK | 775 | Side Door Jamb Switch Signal | ||||
D | DK BLU | 1307 | Power Window Master Switch Lockout Signal | ||||
E | TAN | 294 | Door Lock Actuator Unlock Control | ||||
F | LT GRN | 170 | Power Window Master Switch Right Rear Up Signal | ||||
| |||||||
|---|---|---|---|---|---|---|---|
Connector Part Information |
| ||||||
Pin | Wire Color | Circuit No. | Function | ||||
G | LT BLU | 115 | Right Rear Speaker Output (-) | ||||
H | BLK | 750 | Ground | ||||
J | DK BLU/WHT | 727 | Right Front Door Open Switch Signal | ||||
K | DK BLU | 46 | Right Rear Speaker Output (+) | ||||
| |||||||
|---|---|---|---|---|---|---|---|
Connector Part Information |
| ||||||
Pin | Wire Color | Circuit No. | Function | ||||
A | YEL | 643 | Accessory Voltage | ||||
B | BLK | 650 | Ground | ||||
C | BRN | 100 | Sunroof Switch Open Signal | ||||
D | DK BLU | 128 | Sunroof Switch Low Reference | ||||
E | ORN | 110 | Sunroof Switch Close Signal | ||||
F | -- | -- | Not Used | ||||
| |||||||
|---|---|---|---|---|---|---|---|
Connector Part Information |
| ||||||
Pin | Wire Color | Circuit No. | Function | ||||
A | YEL | 643 | Accessory Voltage | ||||
B | BLK | 650 | Ground | ||||
C | BRN | 100 | Sunroof Switch Open Signal | ||||
D | DK BLU | 128 | Sunroof Switch Low Reference | ||||
E | ORN | 110 | Sunroof Switch Close Signal | ||||
F | -- | -- | Not Used | ||||
| |||||||
|---|---|---|---|---|---|---|---|
Connector Part Information |
| ||||||
Pin | Wire Color | Circuit No. | Function | ||||
A | BRN | 9 | Park Lamp Supply Voltage | ||||
B | ORN | 9294 | Endgate Lock Signal | ||||
C | RED | 9295 | Endgate Unlock Signal | ||||
D | PNK/BLK | 1303 | Liftgate Ajar Switch Signal | ||||
E | PPL | 9124 | Lift Glass Release Control | ||||
F | RED/BLK | 744 | Trunk Ajar Switch Signal | ||||
G | LT BLU | 383 | Trunk Release Control | ||||
H | PPL | 2279 | Lift Glass Ajar Switch Signal | ||||
J | BLK | 450 | Ground | ||||
K | YEL | 656 | Lift Gate Courtesy Lamp Control | ||||
| |||||||
|---|---|---|---|---|---|---|---|
Connector Part Information |
| ||||||
Pin | Wire Color | Circuit No. | Function | ||||
A | BRN | 9 | Park Lamp Supply Voltage | ||||
B | ORN | 9294 | Endgate Lock Signal | ||||
C | RED | 9295 | Endgate Unlock Signal | ||||
D | PNK/BLK | 1303 | Liftgate Ajar Switch Signal | ||||
E | PPL | 9124 | Lift Glass Release Control | ||||
F | RED/BLK | 744 | Trunk Ajar Switch Signal | ||||
G | LT BLU | 383 | Trunk Release Control | ||||
H | PPL | 2279 | Lift Glass Ajar Switch Signal | ||||
J | BLK | 450 | Ground | ||||
K | YEL | 656 | Lift Gate Courtesy Lamp Control | ||||
| |||||||
|---|---|---|---|---|---|---|---|
Connector Part Information |
| ||||||
Pin | Wire Color | Circuit No. | Function | ||||
A | BLK | 450 | Ground | ||||
B | WHT | 320 | Automatic Level Control Exhaust Solenoid Control | ||||
C | DK GRN | 322 | Automatic Level Control Compressor Motor Control | ||||
D | ORN | 2540 | Battery Positive Voltage | ||||
| |||||||
|---|---|---|---|---|---|---|---|
Connector Part Information |
| ||||||
Pin | Wire Color | Circuit No. | Function | ||||
A | BLK | 450 | Ground | ||||
B | WHT | 320 | Automatic Level Control Exhaust Solenoid Control | ||||
C | DK GRN | 322 | Automatic Level Control Compressor Motor Control | ||||
D | ORN | 2540 | Battery Positive Voltage | ||||
| |||||||
|---|---|---|---|---|---|---|---|
Connector Part Information |
| ||||||
Pin | Wire Color | Circuit No. | Function | ||||
A | BRN | 9 | Park Lamp Supply Voltage | ||||
B | LT GRN | 24 | Backup Lamp Supply Voltage | ||||
C | YEL | 18 | Left Rear Stop/Turn Lamp Supply Voltage | ||||
D | BLK | 850 | Ground | ||||
E | BLK | 850 | Ground | ||||
| |||||||
|---|---|---|---|---|---|---|---|
Connector Part Information |
| ||||||
Pin | Wire Color | Circuit No. | Function | ||||
A | BRN | 9 | Park Lamp Supply Voltage | ||||
B | LT GRN | 24 | Backup Lamp Supply Voltage | ||||
C | YEL | 18 | Left Rear Stop/Turn Lamp Supply Voltage | ||||
D | BLK | 850 | Ground | ||||
E | BLK | 850 | Ground | ||||
| |||||||
|---|---|---|---|---|---|---|---|
Connector Part Information |
| ||||||
Pin | Wire Color | Circuit No. | Function | ||||
A | BRN | 9 | Park Lamp Supply Voltage | ||||
B | LT GRN | 24 | Backup Lamp Supply Voltage | ||||
C | DK GRN | 19 | Right Rear Stop/Turn Lamp Supply Voltage | ||||
D | BLK | 1850 | Ground | ||||
E | BLK | 1850 | Ground | ||||
| |||||||
|---|---|---|---|---|---|---|---|
Connector Part Information |
| ||||||
Pin | Wire Color | Circuit No. | Function | ||||
A | BRN | 9 | Park Lamp Supply Voltage | ||||
B | LT GRN | 24 | Backup Lamp Supply Voltage | ||||
C | DK GRN | 19 | Right Rear Stop/Turn Lamp Supply Voltage | ||||
D | BLK | 1850 | Ground | ||||
E | BLK | 1850 | Ground | ||||
| |||||||
|---|---|---|---|---|---|---|---|
Connector Part Information |
| ||||||
Pin | Wire Color | Circuit No. | Function | ||||
A | BLK | 450 | Ground | ||||
B | BRN | 9 | Park Lamp Supply Voltage | ||||
C | ORN | 2540 | Battery Positive Voltage | ||||
D | YEL | 18 | Left Rear Stop/Turn Lamp Supply Voltage | ||||
E | DK GRN | 19 | Right Rear Stop/Turn Lamp Supply Voltage | ||||
| |||||||
|---|---|---|---|---|---|---|---|
Connector Part Information |
| ||||||
Pin | Wire Color | Circuit No. | Function | ||||
A | BLK | 450 | Ground | ||||
B | BRN | 9 | Park Lamp Supply Voltage | ||||
C | ORN | 2540 | Battery Positive Voltage | ||||
D | YEL | 18 | Left Rear Stop/Turn Lamp Supply Voltage | ||||
E | DK GRN | 19 | Right Rear Stop/Turn Lamp Supply Voltage | ||||