GM Service Manual Online
For 1990-2009 cars only

    Object Number: 715777  Size: SH
  1. Measure the rocker arm shaft outside diameter where the rocker arm is located. The production value is 21.979-22.0 mm (0.8653-0.8661 in) and the service limit is 21.85 mm (0.8602 in).
  2. Replace the rocker arm shaft if the measured value is less than the service limit.

  3. Object Number: 715778  Size: SH
  4. Measure the rocker arm inside diameter. The production value is 22.01-22.035 mm (0.8665-0.8675 in).
  5. Calculate the rocker arm shaft to rocker arm clearance.
  6. 4.1. Subtract the rocker arm shaft outside diameter from the rocker arm inside diameter.
    4.2. Replace the rocker arm if the rocker arm shaft to rocker arm clearance is over 0.2 mm (0.0079 in).
  7. Inspect the valve lash adjusting screw and lock nut for damage. Replace the valve lash adjusting screw if any damage is found.

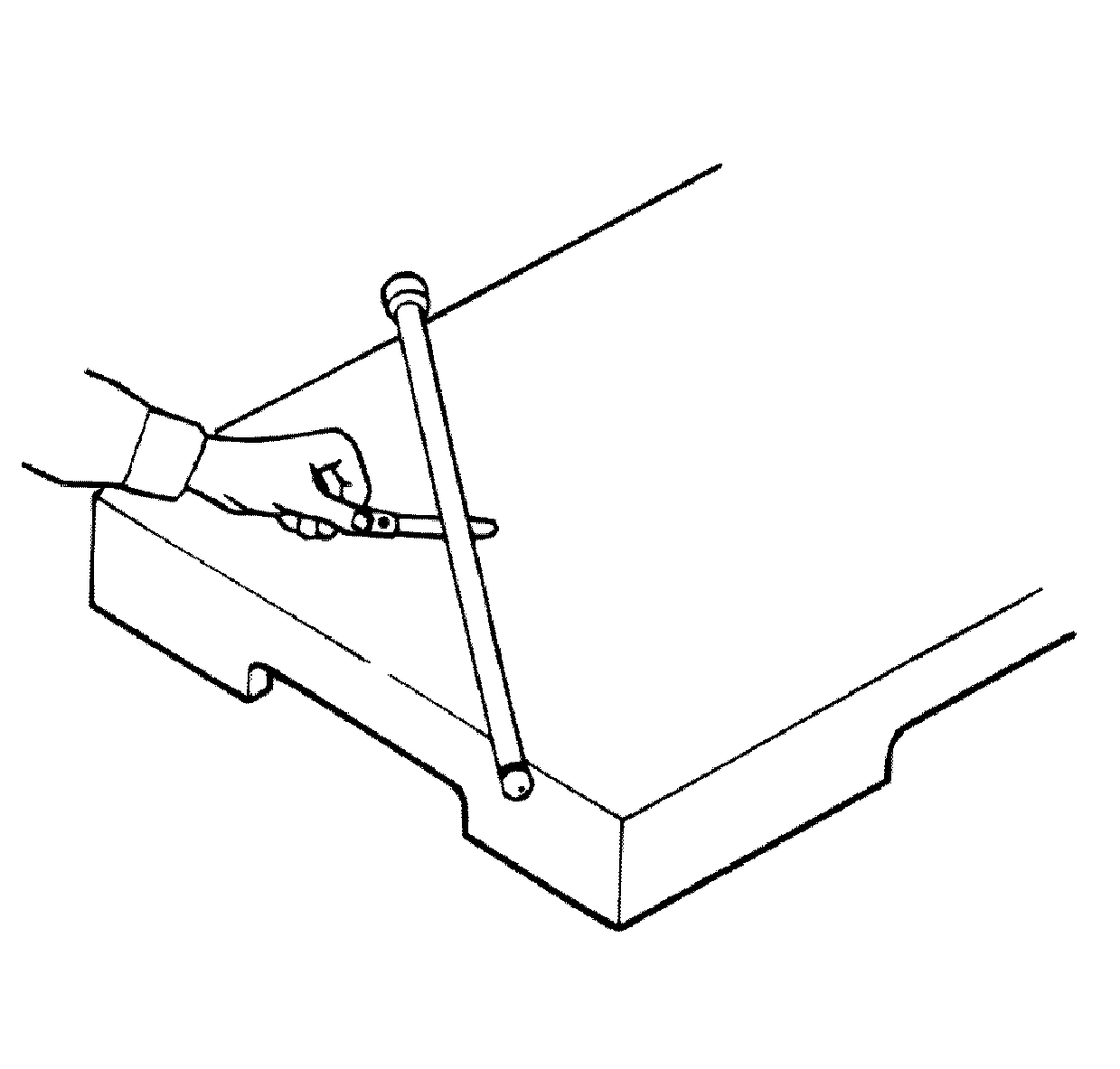
  8. Object Number: 663588  Size: SH
  9. Measure the pushrods for warpage.
  10. Replace the pushrod if the warpage exceeds 0.8 mm (0.031 in).