GM Service Manual Online
For 1990-2009 cars only

    Object Number: 663817  Size: SH
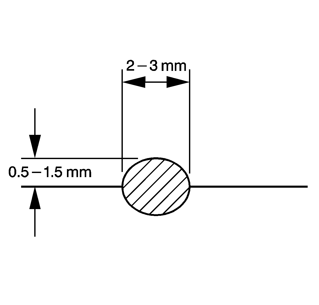
  1. Apply a 2-3 mm wide by 0.5-1.5 mm high bead of P/N 97720043 sealant on the intake manifold mating surface.

  2. Object Number: 660465  Size: SH
  3. Install the intake manifold.

  4. Object Number: 654532  Size: SH

    Notice: Use the correct fastener in the correct location. Replacement fasteners must be the correct part number for that application. Fasteners requiring replacement or fasteners requiring the use of thread locking compound or sealant are identified in the service procedure. Do not use paints, lubricants, or corrosion inhibitors on fasteners or fastener joint surfaces unless specified. These coatings affect fastener torque and joint clamping force and may damage the fastener. Use the correct tightening sequence and specifications when installing fasteners in order to avoid damage to parts and systems.

  5. Install the intake manifold bolts and nuts.
  6. Tighten
    Tighten the intake manifold bolts and nuts to 21 N·m (15 lb ft).