GM Service Manual Online
For 1990-2009 cars only

Object Number: 663909  Size: SH

The torque of a fuel line fitting is critical to prevent fuel leaks in a high pressure direct injection fuel system. The preferred method is through the use of a flare nut socket. With the use of a flare nut socket, the torque wrench can be set to the listed torque specification. Refer to Fastener Tightening Specifications .

If a crows foot is used to torque the fuel lines, then special attention to the position of the crows foot in relation to the torque wrench is required.

   • 
Object Number: 663912  Size: SH
  • If the crows foot is kept perpendicular (90 degrees) to the torque wrench during the entire tightening procedure, then the torque wrench can be set to the listed torque specification. Refer to Fastener Tightening Specifications .
  •    • 
    Object Number: 663916  Size: SH
  • If the crows foot is positioned straight with the torque wrench, then the torque setting needs to be corrected to compensate for the increased leverage.
  •    • 
  • If the crows foot is held at any position other than 90 degrees or inline to the wrench, more complex corrections of the torque setting are required, and therefore, positioning the crows foot in this manner is not recommended.
  • If it is necessary to position a crows foot in line with the torque wrench, the procedure for adjusting the torque specification is as follows:


      Object Number: 674910  Size: SH
    1. Measure the distance between the center of the crows foot wrench end to the center of the square drive hole.

    2. Object Number: 674914  Size: SH
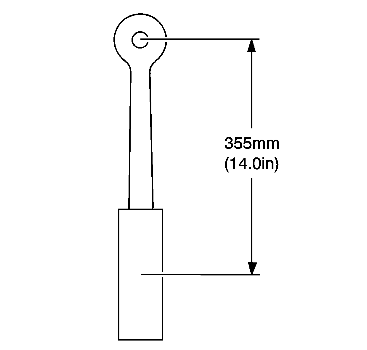
    3. Measure the length of the torque wrench from the center of the square drive to the center of the handle.
    4. Divide the measurement of the crows foot length by the torque wrench length. This figure is the percentage of additional torque, over the torque wrench setting, that will be applied to the fitting.
    5. Subtract the results of step 3 from the number 1. This figure is the percentage of the listed torque specification that the torque wrench should be set to.
    6. Multiply the results of step 4 by the listed torque setting. Refer to Fastener Tightening Specifications . This figure is the proper setting the torque wrench should be set at when using a crows foot in line with the torque wrench.

    Example

    1. Crows foot measurement = 25 mm (1.0 in)
    2. Torque wrench measurement = 355 mm (14.0 in)
    3. 25 mm / 355 mm (1.0 in / 14.0 in) = 0.07, or 7 %
    4. 1 - 0.07 = 0.93, or 93 %
    5. 0.93 x 41 N·m (30 lb ft) = 38 N·m (28 lb ft)