GM Service Manual Online
For 1990-2009 cars only
Table 1: Inflatable Restraint Front End Sensor -- Left (Buick)
Table 2: Inflatable Restraint Front End Sensor -- Right (Buick)
Table 3: Inflatable Restraint I/P Module -- Pontiac
Table 4: Inflatable Restraint I/P Module -- Buick
Table 5: Inflatable Restraint Sensing and Diagnostic Module (SDM) (Pontiac)
Table 6: Inflatable Restraint Sensing and Diagnostic Module (SDM) (Buick)
Table 7: Inflatable Restraint Side Impact Module -- Left
Table 8: Inflatable Restraint Side Impact Module -- Right
Table 9: Inflatable Restraint Side Impact Sensor -- Left
Table 10: Inflatable Restraint Side Impact Sensor -- Right
Table 11: Inflatable Restraint Steering Wheel Module Coil C3 (Pontiac) or C4 (Buick)
Table 12: Inflatable Restraint Steering Wheel Module Coil -- C1 -- Pontiac
Table 13: Inflatable Restraint Steering Wheel Module Coil -- C1 -- Buick

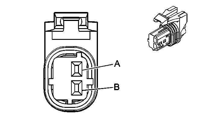
Inflatable Restraint Front End Sensor -- Left (Buick)


Object Number: 744055  Size: CH

Connector Part Information

    • 15356722
    • 2-Way F 150 Series Sealed (YEL)

Pin

Wire Color

Circuit No.

Function

A

YEL

9901

Inflatable Restraint Front End Sensor - Left - Signal

B

GRY

9904

Inflatable Restraint Front End Sensor - Left - Voltage

Inflatable Restraint Front End Sensor -- Right (Buick)


Object Number: 744055  Size: CH

Connector Part Information

    • 15356722
    • 2-Way F 150 Series Sealed (YEL)

Pin

Wire Color

Circuit No.

Function

A

BLK

9906

Inflatable Restraint Front End Sensor - Right - Signal

B

GRY

9902

Inflatable Restraint Front End Sensor - Right - Voltage

Inflatable Restraint I/P Module -- Pontiac


Object Number: 295469  Size: CH

Connector Part Information

    • 12110505
    • 2-Way F Metri-Pack 150 Series (YEL)

Pin

Wire Color

Circuit No.

Function

A

DK GRN/

WHT

1404

I/P Module Low Control

B

WHT/BLK

1403

I/P Module High Control

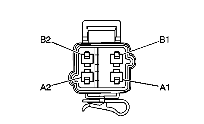
Inflatable Restraint I/P Module -- Buick


Object Number: 594476  Size: CH

Connector Part Information

    • 15336477
    • 4-Way M Metri-Pack 280 Series (YEL)

Pin

Wire Color

Circuit No.

Function

A1

YEL

3025

I/P Module - Stage 1 - High Control

A2

ORN

3024

I/P Module - Stage 1 - Low Control

B1

GRY

3027

I/P Module - Stage 2 - High Control

B2

PPL

3026

I/P Module - Stage 2 - Low Control

Inflatable Restraint Sensing and Diagnostic Module (SDM) (Pontiac)


Object Number: 470412  Size: CH

Connector Part Information

    • 15354773
    • 34-Way F Micro-Pack (YEL)

Pin

Wire Color

Circuit No.

Function

A1

YEL

1139

Ignition 1 Voltage

A2

--

--

Not Used

A3

WHT/BLK

1403

I/P Module High Control

A4

DK BLU

1128

Class 2 Serial Data

A5

--

--

Not Used

A6

WHT

347

Steering Wheel Module High Control

A7

DK GRN

348

Steering Wheel Module Low Control

A8

DK GRN/

WHT

1404

I/P Module Low Control

A9-A14

--

--

Not Used

A15

BLK/WHT

238

Seat Belt Switch - Left

A16-17

--

--

Not Used

A18

BLK/WHT

1751

Ground

B1

BRN

2137

Side Impact Module - LF High Control

B2

YEL/BLK

2138

Side Impact Module - LF Low Control

B3

LT GRN

2136

Side Impact Module - RF Low Control

B4

BLK/WHT

2135

Side Impact Module - RF High Control

B5

YEL

2131

Side Impact Sensing Module - Left - Voltage

B6

WHT

2132

Side Impact Sensing Module - Left - Signal

B7

DK GRN

2134

Side Impact Sensing Module - Right - Signal

B8

TAN

2133

Side Impact Sensing Module - Right - Voltage

C1 - C8

--

--

Not Used

Inflatable Restraint Sensing and Diagnostic Module (SDM) (Buick)


Object Number: 470412  Size: CH

Connector Part Information

    • 15354773
    • 34-Way F Micro-Pack (YEL)

Pin

Wire Color

Circuit No.

Function

A1

YEL

1139

Ignition 1 Voltage

A2

BLK/WHT

9238

Driver Seat Position Switch Signal

A3

YEL

3025

I/P Module - Stage 1 - High Control

A4

DK BLU

1128

Class 2 Serial Data

A5

--

--

Not Used

A6

TAN

3021

Steering Wheel Module - Stage 1 - High Control

A7

ORN

3020

Steering Wheel Module - Stage 1 - Low Control

A8

ORN

3024

I/P Module - Stage 1 - Low Control

A9

BLK

9363

Low Reference

A10-A14

--

--

Not Used

A15

BLK/WHT

238

Seat Belt Switch - Left

A16

--

--

Not Used

A17

BLK

9362

Front Passenger Seat Position Switch Signal

A18

BLK/WHT

1751

Ground

B1

BRN

2137

Side Impact Module - LF High Control

B2

YEL/BLK

2138

Side Impact Module - LF Low Control

B3

LT GRN

2136

Side Impact Module - RF Low Control

B4

BLK/WHT

2135

Side Impact Module - RF High Control

B5

YEL

2131

Side Impact Sensing Module - Left - Voltage

B6

WHT

2132

Side Impact Sensing Module - Left - Signal

B7

DK GRN

2134

Side Impact Sensing Module - Right - Signal

B8

TAN

2133

Side Impact Sensing Module - Right - Voltage

C1

WHT

3023

Steering Wheel Module - Stage 2 - High Control

C2

PNK

3022

Steering Wheel Module - Stage 2 - Low Control

C3

PPL

3026

I/P Module - Stage 2 - Low Control

C4

GRY

3027

I/P Module - Stage 2 - High Control

C5

GRY

9904

Inflatable Restraint Front End Discriminationg Sensor - Left - Voltage

C6

YEL

9901

Inflatable Restraint Front End Discriminationg Sensor - Left - Signal

C7

BLK

9906

Inflatable Restraint Front End Discriminationg Sensor - Right - Signal

C8

ORN

9902

Inflatable Restraint Front End Discriminationg Sensor - Right - Voltage

Inflatable Restraint Side Impact Module -- Left


Object Number: 646194  Size: CH

Connector Part Information

    • 12186799
    • 2-Way M 280 Series (YEL)

Pin

Wire Color

Circuit No.

Function

A

BRN

2137

Side Impact Module - LF High Control

B

YEL/BLK

2138

Side Impact Module - LF Low Control

Inflatable Restraint Side Impact Module -- Right


Object Number: 646194  Size: CH

Connector Part Information

    • 12186799
    • 2-Way M 280 Series (YEL)

Pin

Wire Color

Circuit No.

Function

A

BLK/WHT

2135

Side Impact Module - RF High Control

B

LT GRN

2136

Side Impact Module - RF Low Control

Inflatable Restraint Side Impact Sensor -- Left


Object Number: 684970  Size: CH

Connector Part Information

    • 15356726
    • 2-Way F GT 150 Sealed 4.0 (YEL)

Pin

Wire Color

Circuit No.

Function

A

WHT

2132

Side Impact Sensing Module - Left - Signal

B

YEL

2131

Side Impact Sensing Module - Left - Voltage

Inflatable Restraint Side Impact Sensor -- Right


Object Number: 684970  Size: CH

Connector Part Information

    • 15356726
    • 2-Way F GT 150 Sealed 4.0 (YEL)

Pin

Wire Color

Circuit No.

Function

A

DK GRN

2134

Side Impact Sensing Module - Right - Signal

B

TAN

2133

Side Impact Sensing Module - Right - Voltage

Inflatable Restraint Steering Wheel Module Coil C3 (Pontiac) or C4 (Buick)


Object Number: 795620  Size: CH

Connector Part Information

    • 12162477
    • 4 Way F Metri Pack 150 Series Sealed (BLK)

Pin

Wire Color

Circuit No.

Function

A

PPL

1375

Remote Radio Control Head Supply Voltage

B

GRY/BLK

1458

Instrument Panel Lamp Supply Voltage - 4

C

DK BLU

1796

Steering Wheel Controls Signal

D

BLK

1450

Ground

Inflatable Restraint Steering Wheel Module Coil -- C1 -- Pontiac


Object Number: 684803  Size: CH

Connector Part Information

    • 12110149
    • 2-Way M Metri-Pack 280 Series Sealed (YEL)

Pin

Wire Color

Circuit No.

Function

A

WHT

347

Steering Wheel Module High Control

B

DK GRN

348

Steering Wheel Module Low Control

Inflatable Restraint Steering Wheel Module Coil -- C1 -- Buick


Object Number: 594476  Size: CH

Connector Part Information

    • 15336477
    • 4-Way M Metri-Pack 280 Series (YEL)

Pin

Wire Color

Circuit No.

Function

A1

TAN

3021

Steering Wheel Module - Stage 1 - High Control

A2

BRN

3020

Steering Wheel Module - Stage 1 - Low Control

B1

WHT

3023

Steering Wheel Module - Stage 2 - High Control

B2

PNK

3022

Steering Wheel Module - Stage 2 - Low Control