GM Service Manual Online
For 1990-2009 cars only
Makes
🢒
Pontiac
🢒
2002
🢒
Aztek - FWD
🢒
Driveline/Axle
🢒
Transfer Case - Steyr
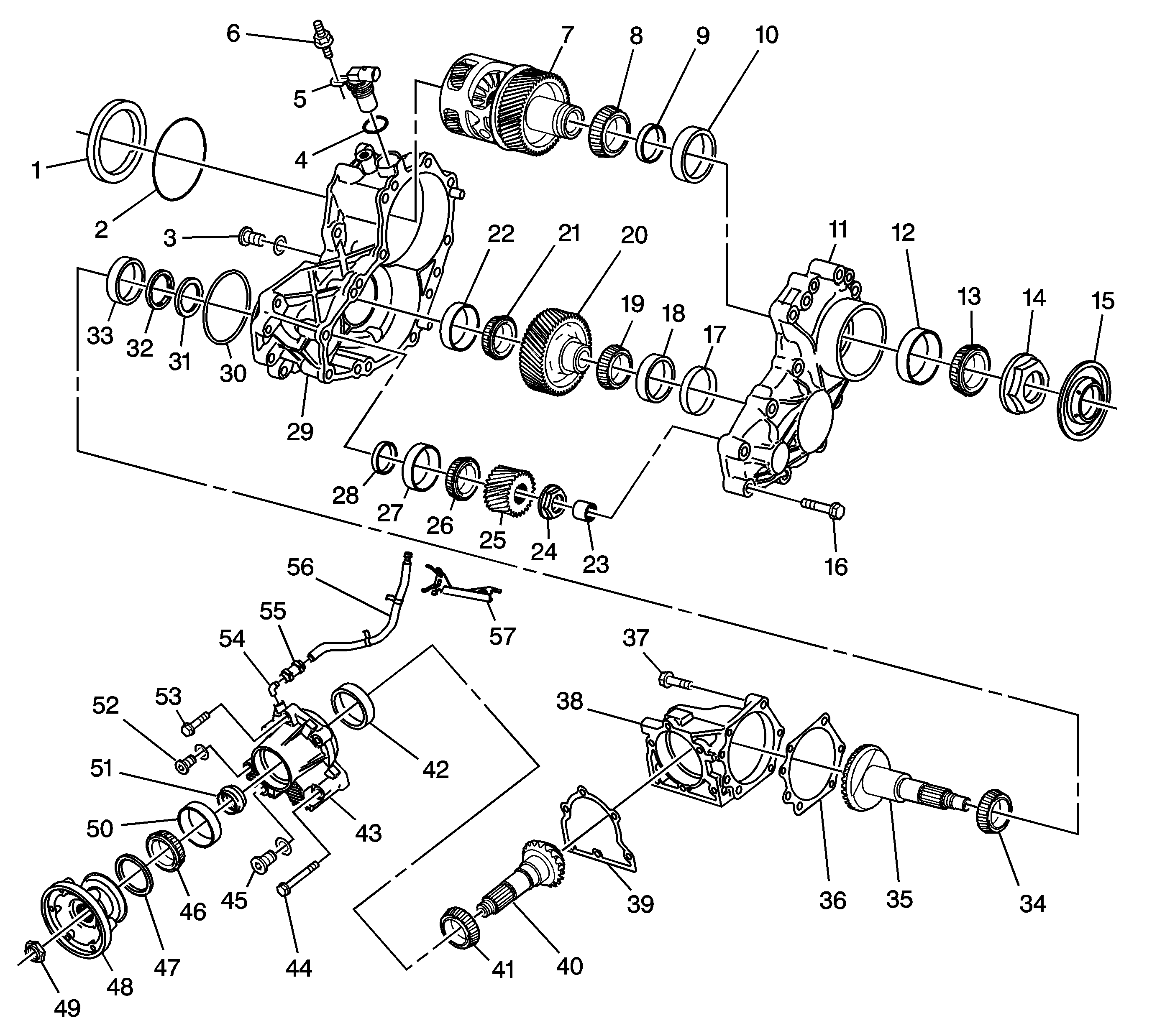
🢒 Transfer Case Disassembled View
Figure
1:
Transfer Case Assembly
(1)
Transfer Case Oil Ring
(2)
O-Ring Seal
(3)
Drain Plug
(4)
O-Ring Seal
(5)
Vehicle Speed Sensor
(6)
Vehicle Speed Sensor Bolt
(7)
Differential Carrier Assembly
(8)
Bearing
(9)
Shim
(10)
Bearing Race
(11)
Case-Right
(12)
Bearing Race
(13)
Bearing
(14)
Nut
(15)
Axle Shaft Oil Seal-Right Side
(16)
Bolt
(17)
Shim
(18)
Bearing Race
(19)
Bearing
(20)
Idler Gear
(21)
Bearing
(22)
Bearing Race
(23)
Bearing
(24)
Nut
(25)
Gear
(26)
Bearing
(27)
Bearing Race
(28)
Shim
(29)
Case-Left
(30)
O-Ring Seal
(31)
Oil Seal
(32)
Oil Seal
(33)
Bearing Race
(34)
Bearing
(35)
Output Driveshaft
(36)
Shim
(37)
Bolt
(38)
Output Driveshaft Housing
(39)
Shim
(40)
Output Drivenshaft
(41)
Bearing
(42)
Bearing Race
(43)
Extension Housing
(44)
Bolt
(45)
Drain Plug
(46)
Bearing
(47)
Oil Seal
(48)
Flange
(49)
Nut
(50)
Bearing Race
(51)
Collapsible Spacer
(52)
Fill Plug
(53)
Bolt
(54)
Vent Tube
(55)
Hose and Clamps Assembly
(56)
Vent Hose
(57)
Vent Hose Bracket
Figure
2:
Carrier Assembly
(1)
Side Gear Washer
(2)
Side Gear
(3)
Pinion Gear
(4)
Pinion Gear Washer
(5)
Side Gear
(6)
Side Gear Washer
(7)
Pinion Gear
(8)
Pinion Gear Washer
(9)
Differential Carrier
(10)
Washer
(11)
Ring
(12)
Pin
(13)
Washer
(14)
Washer
(15)
Needle Bearings
(16)
Washer
(17)
Needle Bearings
(18)
Gear
(19)
Washer
(20)
Washer
(21)
Shaft
(22)
Roll Pin