GM Service Manual Online
For 1990-2009 cars only

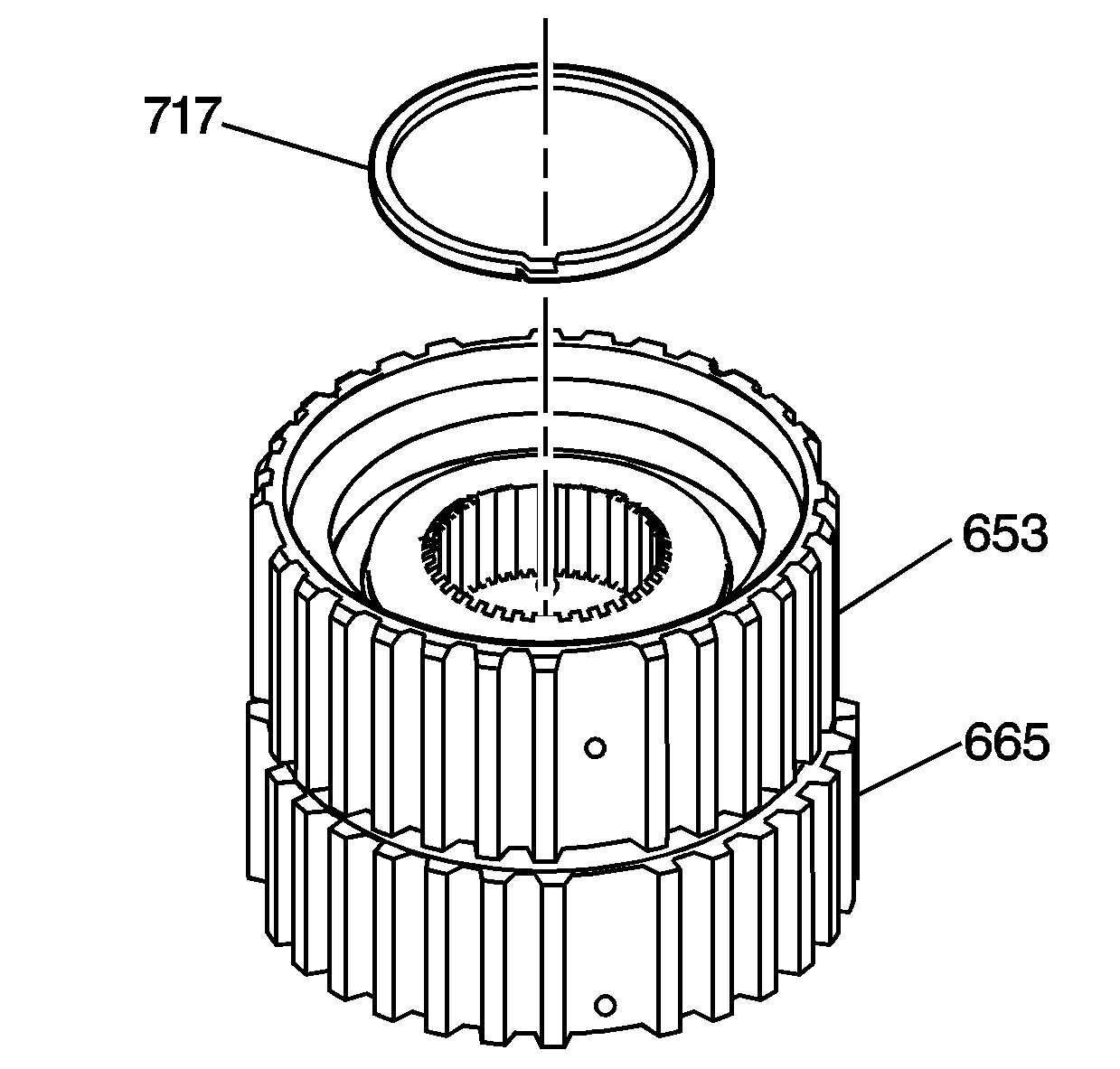
    Object Number: 10627  Size: SH
  1. Inspect the input sprag outer race (653) and the third sprag outer race (665) for the following:
  2. • Worn or damaged splines
    • Scoring on the inside diameter of the races
    • Wear or cracks
  3. Inspect the sprag elements for flat spots.
  4. Inspect the sprag cage assemblies (720, 722) for distortion or broken ribbon tabs.
  5. Inspect the end bearings (719) and the center bearing (721) for cracks.

  6. Object Number: 10628  Size: SH
  7. Inspect the input sun gear spacer (667) for the following:
  8. • Worn or damaged splines
    • Wear or cracks
  9. Inspect the input sun gear (668) for the following:
  10. • Worn or damaged splines
    • Plugged lube holes or cracks

    Object Number: 10629  Size: SH
  11. Position the input clutch sprag outer race (665) on a suitable flat work surface with the flat side facing down.
  12. Insert an input and third clutch sprag end bearing (719) into the input clutch sprag outer race (665) with the flat side down.
  13. Important: The lip on the input clutch sprag cage must be in the down position.

  14. Insert the input clutch sprag assembly (722) into the input clutch sprag outer race (665).

  15. Object Number: 10630  Size: SH
  16. Position the third clutch sprag outer race (653) on a suitable flat work surface with the beveled side facing down.
  17. Insert the input and third clutch sprag center bearing (721) into the third clutch sprag outer race (653).
  18. Important: The lip on the third clutch sprag cage must be in the up position.

  19. Install the third clutch sprag assembly (720) into the third clutch sprag outer race (653).
  20. Insert the input and third clutch sprag end bearing (719) into the third clutch sprag outer race (653) with the flat side up.

  21. Object Number: 10631  Size: SH
  22. Install the input clutch sprag assembly (665) onto the input and third clutch sprag inner race (661) with the flat side of the input clutch sprag outer race facing down.
  23. Install the third clutch sprag assembly (653) onto the input and third clutch sprag inner race (661) with the beveled side of the third clutch sprag outer race facing the input clutch sprag assembly.
  24. Install the 3rd clutch sprag outer race retainer (718) onto the third clutch sprag outer race (653).

  25. Object Number: 728506  Size: SH

    Important: Use a new spiral lock retaining ring (717). Do not attempt to reinstall the old ring.

    Important: Be sure that you seat the spiral lock retaining ring (717) in the groove on the input and third clutch sprag inner race. The tabs and the slots on the spiral lock retaining ring (717) must lock.

  26. Use a small flat blade screwdriver in order to install the spiral lock retaining ring (717) onto the input and third clutch sprag inner race.

  27. Object Number: 49333  Size: SH
  28. Assemble the input sun gear spacer (667) onto the input sun gear (668).
  29. Assemble the input and third clutch sprag assembly (661, 653, 665) onto the input sun gear (668).